Solplanet Ai-LB Power Box

INTRODUCTION
For the latest Power Box installation documents in all supported languages, visit: www.solplanet.net
Read this entire document before installing or using Power Box . Failure to do so or to follow any of the instructions or warnings in this document can result in electrical shock, serious injury, or death, or can damage Power Box, potentially rendering it inoperable.
PRODUCT SPECIFICATIONS All specifications and descriptions contained in this document are verified to be accurate at the time of printing. However, because continuous improvement is a goal at AISWEI, we reserve the right to make product modifications at any time.
The images provided in this document are for demonstration purposes only. Depending on product version and market region, details may appear slightly different.
ERRORS OR OMISSIONS To communicate any inaccuracies or omissions in this manual, please contact AISWEI.![]()
ELECTRONIC DEVICE: DO NOT THROW AWAY Proper Disposal of batteries is required. Refer to your local codes for disposal requirements
2022 AISWEI LIMITED. All rights reserved. All information in this document is subject to copyright and other intellectual property rights of AISWEI LIMITED, and its licensors. This material may not be modified, reproduced or copied, in whole or in part, without the prior written permission of AISWEI LIMITED, and its licensors. Additional information is available upon request. The following is trademark or registered trademark of AISWEI LIMITED.
All other trademarks contained in this document are the property of their respective owners and their use herein does not imply sponsorship or endorsement of their products or services. The unauthorized use of any trademark displayed in this document or on the product is strictly prohibited.
IMPORTANT SAFETY INSTRUCTIONS
This manual contains important instructions for the Power Box that must be followed during installation and maintenance of the system.
Power Box installation and service require knowledge of high voltage electricity and should only be performed by AISWEI Certified Installers. AISWEI assumes no liability for injury or property damage due to repairs attempted by unqualified individuals or a failure to properly follow these instructions. These warning and cautions must be followed when using Power Box.
These symbols indicate important safety information in this guide or on the equipment:
| Symbol | Explanation |
![]() | Indicates a hazardous situation which, if not avoided, could result in injury or death. |
![]() | Indicates a hazardous situation which, if not avoided, could result in minor injury or damage to the equipment. |
| Indicate an important step or tip that leads to best results, but is not safety or damage related. |
![]() | Indicates components that present risk of electrical shock. |
![]() | Indicates location of combined input/output connector on the equipment. |
![]() | Indicates location of grounding connection on the equipment. |
![]() | Discharge time is 5 minutes from de-energization. |
![]() | Indicates that user should refer to operating or installation instructions before proceeding. |
General Information:
Reading this entire document before installing or using Power Box. Failure to do so or to follow any of the instructions or warnings in this document can result in electrical shock, serious injury, or death or can damage Power Box, potentially rendering it inoperable.
A battery can present a risk of electrical shock, fire, or explosion from vented gases. Observe proper precautions.
Power Box installation must be carried out only by AISWEI Certified Installers who have been trained properly.
Power Box is heavy. Use of Lift equipment is recommended.
Use Power Box only as directed.
Do not use Power Box if it is defective, appears cracked, broken, or otherwise damaged, or fails to operate.
Before beginning the wiring portion of the installation, ensure that Power Box is switched off, and open any associated circuit breakers and disconnect switches (if applicable for the installation).
Do not attempt to open, disassemble, repair, tamper with, or modify Power Box. Power Box and its components are not user serviceable. Batteries in Power Box are replaceable. Contact the AISWEI Certified Installer who installed the system for any repairs.
To protect Power Box and its components from damage when transporting, handle with care. Do not impact, Pull, drag, or step on Power Box. Do not subject Power Box to any strong force. To help Prevent damage, leave Power Box in its shipping packaging until it is ready to be installed.
Do not insert foreign objects into any part of Power Box.
Do not expose Power Box or its components to direct flame.
Do not install Power Box near heating equipment.
Do not immerse Power Box or its components in water or other fluids.
Do not use solvents to clean Power Box, or expose Power Box to flammable or harsh chemicals or vapors.
Do not use fluids, parts or accessories other than those specified in this manual including use of non-genuine AISWEI parts or accessories, or parts or accessories not purchased directly from AISWEI or a AISWEI-certified party.
Do not place Power Box in a storage condition for more than one (1) month, or permit the electrical feed on the Power Box to be served for more than one (1) month, without placing Power Box into a storage condition in accordance with AISWEI’s storage specifications.
Do not paint any part of Power Box, including any internal or external components such as the exterior shell or casing.
Do not connect Power Box directly to photo voltaic (PV) solar wiring.
When installing Power Box in a garage or near vehicles, keep it out of the driving path. If possible, install Power Box on a side wall and/or above the height of vehicle bumpers.
Environmental Conditions:
Install Power Box in a location that prevents damage from flooding.
Operating or storing Power Box in temperatures outside its specified range might cause damage to Power Box.
Do not expose Power Box to ambient temperature above 50 or below -10 .![]()
Ensure that no water sources are above or near Power Box, including downspouts, sprinklers, or faucets.![]()
Ensure that snow does not accumulate around Power Box.
Revision History
| Date | Revision | Description | Owner |
| 2022-09-16 | V1.0 | Initial Release | Jin Hu |
| 2022-10-25 | V1.1 |
| Jin Hu |
| 2022-11-18 | V1.2 | 1.Optimize storage temperature 2.Optimize installation steps | Jin Hu |
Specification

| Technical Parameters | Ai-LB 5K |
| Cell Type | LiFePO4 |
| Battery unit Model inside | LB51100A |
| Number of Battery Units | 1 set of LB51100A |
| Rated Capacity | 100Ah |
| Rated Battery Energy | 5.12 kWh |
| Rated Voltage | 51.2 V |
| Working Voltage Range | 44.8-57.6 V |
| Usable Battery Capacity | 5.12 kWh |
| Parallel Quantity1 | 8 sets in parallel(40kWh) |
| Nominal Current (Recommended) 2 | 0.5C,50A |
| Battery Depth of Discharge | 90% |
| Battery Max Charge/Discharge Power | 2.56kW/2.56kW |
| Available SOC Range | 0% ~ 100% |
| SOC Transportation Range | 50% |
| Operating Temperature | Charging Temperature:0℃~55℃; Discharge Temperature:-20℃~55℃ |
| Storage Temperature3 | -10°C ~ 50 °C |
| Working Humidity | 5~95%RH |
| Standard Charging Current | 0.5C (50A) |
| Maximum Charging Continuous Current | 0.5C (50A) |
| Rated DC Power | 2.56kW |
| IP Grade | IP65 |
| Recommended Indoor/Outdoor Usage | Indoor/ Outdoor |
| Weight | ~57Kg (Not included wall mount) |
| Dimensions [W*D*H] | 490x150x680mm (Excluding connector) |
| Communication | CAN/RS485/Dry Contact/WiFi |
| Certificate ( LB51100A) | TUV/IEC 62619/IEC62040/IEC61000/UN38.3 |
| Certificate (Ai-LB 5k) | TUV/IEC 62619/IEC62040/IEC61000/UN38.3 |
| Calendar Life4 | 10 Years |
| Cable Specification | Ai-LB 5K |
| Battery Cable Rating | 100 A, each cable |
| Battery Cable Type | 25 mm2 OR 4AWG |
- For more parallel, please contact the engineer of supplie
- Performance may be de-rating in extreme ambient environmental conditions
- Recommended storage temperature 10℃~30℃;
- Working Condition 0.5 C @ 25 deg C, 80% DoD, 1 cycle per day
Technical parameters
Key parameters are listed below
| NO. | Key Item | Specification | Remark |
| 2.1 | Material | SGCC Steel, 1.2mm Thickness | |
| 2.2 | Surface | Paint, Dove blue(RAL5014),Fine sand grain | |
| 2.3 | Weight | ~12.7Kg | Refer to actual measurements |
| 2.4 | IP Level | IP65 | |
| 2.5 | Dimension | WDH:490x150x680mm | Excluding connector |
Bracket:
| 2.6 | Material | SGCC Steel, 1.5mm Thickness | |
| 2.7 | Surface | Paint,Dove blue(RAL5014), Fine sand grain | |
| 2.8 | Weight | ~0.5Kg | Refer to actual measurements |
| 2.9 | Dimension | WDH:350x9x80mm |
Output Connector:
| NO. | Key Item | Specification | Remark |
| 2.10 | Positive | PSR6XBB | Orange 5.7mm |
| 2.11 | Negative | PSR6XAB | Black 5.7mm |
| 2.12 | Communication | 3*RJ45 |
Power Box Panel Interface

| 1 | 1xCAN/RS485 | RJ45![]()
| Pin 1: NA Pin 2,7: RS485-A Pin 3,6: RS485-B Pin 4: CAN-H Pin 5: CAN-L Pin 8: GND | CAN To PCS |
| 2 | 2xRS485 | RJ45![]() | Pin 1, 4, 5: NC Pin 2, 7: RS485-A Pin 3, 6: RS485-B Pin 8: GND | RS485 Internal Connection |
| 3 | GND Screw | M6 | Yellow-Green, 10 AWG | |
| 4 | 1xPositive pole | PSR6XBB | Orange 5.7mm | Positive DC Output |
| 5 | 1xNegative pole | PSR6XAB | Black 5.7mm | Negative DC Output |
| 6 | Breaker | NDB1-125, 2Px1 | 125A | |
| 7 | 1xWIFI Socket | Function(Option) | ||
| 8 | Vent valve |
Installation preparation
Requirements for Installation Location
- A solid support surface must be available (e.g., concrete or masonry).
- The installation location must be inaccessible to children.
- The installation location must be suitable for the weight and dimensions of the Power Box.
- The installation location must not be exposed to direct solar irradiation.
- Keep away from metal conductive dust.
- Keep away from water source, heat source and inflammable and explosive articles
- The installation location must not be close to the fire.
- The altitude of the installation location should be less than 3000m.
- The operating temperature should be between -20 °C ~ +55 °C.
- The ambient humidity should be between 5-95%..

![]()
Power Box includes a mounting bracket , that supports the unit in floor-mount configuration, and includes
shims to level the unit in floor-mount configurations. Do not use other hardware to anchor Power Box to the floor.
Tools
The tools in the following table could be needed during the installation
| ![]() | ![]() |
| Torque screwdriver | Phillips-screwdriver bit | Hex-key bit |
![]() | ![]() | ![]() |
| Phillips-head screwdriver | Torque wrench | Wrench |
![]() | ![]() | ![]() |
| Cylinder screwdriver bit | Scissor | tie |
![]() | ![]() | ![]() |
| level | Electric Drill | Tape measure |
![]() | ![]() | ![]() |
| Hammer | Twist drill | Marker pen |
![]() | ![]() | ![]() |
| Insulated gloves | Safety goggles | Safety shoes |
Dimensions and Space Requirements

| Space Requirements | ||
| Min. clearance from left side | 200 mm | |
| Min. clearance from right side | 200 mm | |
| Min. clearance above Power Box | 200 mm | |
| Min. clearance between side-by-side Power Box | 200 mm | |
| Min. clearance at the bottom | 0 mm | |
| Max. slope | +/- 2 degree side-to-side +/- 5 degree front-to-back | |
Unpacking Inspection
When the equipment arrives at the installation site, loading and unloading should be carried out according to the rules and regulations, to prevent from being exposed to sun and rain. Before unpacking, the total number of packages shall be indicated according to the shipping list attached to each package, and the case shall be checked for good condition. In the process of unpacking, handle with care and protect the surface coating of the object. Open the package, the installation personnel should read the technical documents, verify the list, according to the configuration table and packing list, ensure objects are complete and intact, if the internal packing is damaged, should be examined and recorded in detail.
Packing list is as follows
| Battery System |
① | Ai-LB5K 490x150x680mm | 1 | ![]() | Standard |
| Wall – mount | ② | Backplane | 1 | ![]() | Standard |
| Accessor y Bag | ③ | Expansion Bolts:M6x80 | 2 | ![]() | |
| ④ | Hexagonal wrench | 1 | ![]() | ||
| ⑤ | RJ45 waterproof wiring cover | 3 | ![]() | ||
| Output Cable (CA03- A) | ⑥ | Power Cable Negative⑥-1: PSR6XAB Black Plug Cable, 25mm2 /L1.5m Positive⑥-2: PSR6XBB Red Plug Cable,25mm2 /L1.5m | 2 | ![]() | Standard |
| ⑧ | Ground Cable Yellow,Green/L1m/Double OT M6 | 1 | ![]() |
Installation For Single Use
System Cable Connection Diagram

Battery Ai-LB5K Fixation
![]()
Make sure breaker on the enclosure is off.
Determine the installation position of the battery, and draw the installation hole position on the installation surface according to the drawing:

Installing Backplane a) Remove the backplane and expansion bolts(M6x80) from the packing box. b) Use an impact electric drill to drill holes on the cement floor, and the drilling depth is between 80mm and 85mm. c) Tighten the expansion bolt slightly and put it vertically into the hole. Knock the expansion bolt with a rubber hammer until all the expansion pipes enter Into the hole. d) Pre -tighten the expansion bolt. e) Screw out the bolts and remove the spring washer and flat washer. f) Fix the backplane on the wall with expansion screws

Installing Ai-LB5K battery Lift the Ai-LB5K and hang it on the Backplane The following image gives the indication of how it would be when single set installed.

Cable Connection For Single Use
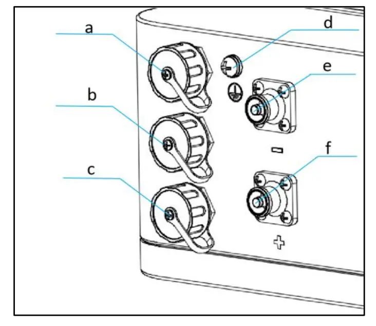
Overview of the Connection Area

| Item | Name | Model |
| a | CAN/RS485 | RJ45 |
| b | RS485 | RJ45 |
| c | RS485 | RJ45 |
| d | GND | M6 |
| e | Negative Port | PSR6XAB |
| f | Positive Port | PSR6XBB |
Before connecting the communication cable and power cable, you should first understand the interface definition of the internal battery-LB511000A
- Battery panel interface definition

Table 4-1 Interface Definition
| Item | Name | Model | Remarks |
| 1 | SOC LED x4 | ||
| 2 | Alarm LED | ||
| 3 | RUN LED | ||
| 4 | Dialer | ||
| 5 | Communication port | RJ45 | CAN To PCS, RS485 Internal Connection |
| 6 | Communication port *2 | RJ45 | RS485 Internal Connection |
| 7 | Reset | Wake up the system from malfunction status | |
| 8 | Dry Contact | ||
| 9 | Power On/Off Switch | ||
| 10 | Port Negative x2 | PSR6XAB | Black 5.7, 25 mm2 |
| 11 | Port Positive x2 | PSR6XBB | Orange 5.7, 25mm2 |
| 12 | WIFI | ||
| 13 | GND | M6 | Yellow-Green, 10 AWG |
- Port CAN/RS485 and RS485 of Battery

Table 4-2 RJ45 Port Definition
| Description | |
| CAN/RS485x1 | Pin 1: NA Pin 2,7: RS485-A Pin 3,6: RS485-B Pin 4: CAN-H Pin 5: CAN-L Pin 8: GND |
| RS485x2 | Pin 1, 4, 5: NC Pin 2, 7: RS485-A Pin 3, 6: RS485-B Pin 8: GND |
Table 4-3 Communication Cable Requirements
| Cable Gauge | Strip Length | Maximum Cable Length |
| CAT5 or better (24 AWG) | RJ-45 connector | 45 m |
Table 4-4 Power Cable Requirements
| Size | Outer Diameter | Max. Voltage | Max. Current |
| 21-33 mm² | 10-12 mm | 1000 V | 120 A |
Table 4-5 DC Breaker Recommendation
The following circuit breaker models (purchased separately) are supported:
| Circuit Breaker Model | Rating | Certificate | Remark |
| Nader NDB1-125 | 100 A | CCC, CE, CB, TUV, UL1077 | For single set use |
| NOTE |
| A DC Breaker is required for each positive and negative terminal connecting, when multiple sets are connected in parallel, the DC Breaker needs to be selected according to the actual current. |
Procedure
Step1.Ground cable connection
Ground cable connection: use a screwdriver to fix the ⑧ground wire terminal to the battery ground point refer to
Fig. 4.3.3.
Step2. Communication cable connection
Procedure:
- Make sure the breaker is off.
- Take off the RJ45 waterproof cover
- Pass the communication cable through the RJ45 wiring cover.
- Plug the communication cable to the corresponding RJ45 port.
- Tighten RJ45 wiring cover.
- Connect the other end of the communication cable to the inverter refer to Fig. 4.1.1.

Step3. Power cable connection
Procedure:
- Make sure the breaker is off.
- Plug the quick plug end of the power cable into the corresponding socket.

Additional:Quick Plug Crimp Guide
(1) Material List
(2) Put wire through isolation cap and Tail-Hood.
(3) Swipe outer isolation layer of DC cable.
(4) The red is used for the positive, and the black is for negative , The end of the cable is bunched at the terminal using a wire clamp.
(5) Tighten the isolation cap and plug contact.
(6) Put the positive and negative plug on to the system and tighten it.
(7) Use isolation cap for unused DC plug
Turn On the System
Step1. Open the circuit breaker protective cover and turn on the circuit breaker to “ON” side refer to Fig. 4.4.1 (Ensure that the inverter is connected to the PV module)
Step2. When battery establishes communication with the Inverter, the inverter can read the battery information.
Step3.Close the protective cover of the circuit breaker.(Reverse the procedure for the open protective cover).
Step4. End.

Installation For Parallel Use
System Cable Connection Diagram

Fig. 5.1.1 Multi-Sets Connection (Example:3 Parallel,15kWh,Output Power 7.5kW) (Battery ∆V should be less than 3V at first Parallel installation )
Battery Fixation and Front Panel Removal
Fix the battery refer to 4.2.1 to 4.2.3.
Take down battery front panel refer to 5.2.1.
Turn the switch to “OFF” to turn off the internal battery refer to 5.2.2.


Cable Connection For Parallel Use
Ground cable connection
Procedure:
Use a screwdriver to fix the ⑧ground wire terminal to the battery ground point refer to Fig. 5.1.1.
Communication cable connection
Multi-Sets in Parallel (LB51100A inside,3 Parallel as an example)
Procedure:
Connect the communication cable to the corresponding connector refer to Fig. 5.3.3
Power Cable Connection
Procedure:
Connect the power cable to the corresponding connector refer to Fig. 5.1.1
Set up Master Pack and Slave Pack
Ai-LB 5K is consisted of 1 set of LB51100A . Master Pack and Slave Pack LB51100A can be used as single unit as well as multi-units (in parallel) mode. The customer must inform supplier if multi-units mode is required. The Master Pack can be used individually, but Slave Pack cannot be used individually.
Master/Slave dial code diagram:


(If more than 4 LB51100A in parallel, please contact the engineer of supplier.)
Procedure:
- Make sure the breaker and the internal battery switch are off.
- Set the dial code refer to the Fig. 5.4.2.

Turn On the System
- Arrange the communication/power cable properly.
- Ensure that all conduit or cable gland junctions are properly dealed.
- Switch on button to “ON” side on each LB51100A inside .
- Turn on the circuit breaker to “ON” side.
- When battery establishes communication with the Inverter ,the inverter can read the battery information.
Reinstall the Front Panel and Close the Protective Cover.
- Install the front panel refer to 5.6.1.
- Close the protective cover of the circuit breaker(Reverse the procedure for the open protective cover).
- End.
Trouble Shooting
If Ai-LB 5K is not working correctly, perform the following steps:
(1) For single use,please consult the engineer ;
(2) For parallel use,please check the status of the LED on the panel of LB51100A. The indication status can be referred in LB51100A User’s Manual in battery package.
Technical Support
Further support can be achieved via AISWEI Service Team. Please contact the sales person when needed. The following information is useful to have ready when contacting AISWEI:
- Owner Name
- Power Box part number and serial number
- Brief description of the issue
Maintenance
Power Box does not require pre-scheduled preventative maintenance. The only maintenance required by an owner is to keep the unit free and clear of debris, especially around the air intake and exhaust.
To clean Power Box ,use a soft, lint-free cloth. If needed, the cloth can be dampened with mild soap and water only. Do not use cleaning solvents to clean Power Box, or expose Power Box to flammable or harsh chemicals or vapors.
Transportation and Storage
Transportation
It is forbidden to encounter serious vibration and shock during transportation.
Storage
If the system is not placed to use, the system must be properly stored. Otherwise, if any issues, AISWEI shall not be liable.
It should be stored in 60% SoC status.
It should be stored at ventilation environment, Temp. < 35 °C, ROH <65%.
It should be stored avoiding humid condition.
It should be stored in place where they can be monitored by professionals
| NOTE | |
A proper inspection shall be conducted every 3 months, to ensure no over-discharge of the battery (SoC is long time less than 0%) occurs. At over-discharge status, the battery would behavior as:
| |
Please contact the technical person where you purchase the battery from immediately once the above abnormal issues occur. And actions in terms of re-charging the battery (to the SoC 50%) is required before the field installation.
Disclaimer
It should be noted that supplier shall not be liable if any necessary materials are added to this user’s manual without further inform of customers.





















































