Hong Qiangxing SM9116 Electric Pads User Manual
FORWARD
Device Instruction
Thank you for purchasing on our period pain relief massager.
The massager is designed to relieve mentrual pain and discomfort.
Intended Users
The massage should be used only by people aged 16 and above.
Principle of Operation
The massage is a TENS simulator. Before using, please read all the instructions in the user manual carefully and keep it safe for future use.
The massage has 6 massage modes and applies electric currents in the low-frequency range for therapy. Each program was designed with specific pulses frequency. pulse length, intensity, that are suitable for its intended use. The parameters for each modes are listed bellow.
Based on stimulation the body’s natural pulses, the mechanism of electrical stimulation equipment is to creat electric impulses that are trans cutaneous transmitted to nerves or muscle fdirbers through electrode. When these pain signal are halted, pain is not felt by the reactive area and the patient get relief. Low frequency bursts of mild hydrotherapy also help activate the natural pain control response, releasing beta endorphins that ease the pain felt by the patient.
What Is TENS?
TENS(Trans cutaneous Electrical Nerve Stimulation) is effective in relief of pain. It is daily used and clinically proven by physiotherapists, caregivers and top athletes around the world. High-frequency TENS currents activates the pain-in-hi biting mechanisms of the nervous system. Electrical impulses from electrodes, placed on the pain area, stimulate the nerves to block the pain signals to the brain, causing the pain go unperceived. Low-frequency TENS currents facilitate the release of endorphins, the body’s natural painkillers.
SAFETY INFORMATION
Intended use
Itis used for temporary relief of muscle pain and menstrual pain.
Important Safety Precautions and Warnings

It is important that you read all the warnings and precautions included in this manual because they are intended to keep you safe, prevent risk of injury and avoid a situation that could result in damage to the device .
SAFETY SYMBOLS USED IN THIS MANUAL
Contraindication
- Do not use this device if you are using a cardiac pacemaker, implanted defibrillator, Or other implanted metallic or electronic devices. Such use could cause Electric shock, electrical interference, or death
. - The device should not be used when cancerous lesions or other lesions are Present in the treatment area.
- The device should not be applied over swollen, infected, inflamed areas or skin eruptions (e.g.phlebitis, thrombolytic, varicose veins, etc.)
- Electrode placements must be avoided in the carotid sinus area (anterior neck) or transcendentally(through the head).
- This device should not be used in overly enervated areas.
- Inguinal hernia
- Do not use on scarred area following a surgery for at least 10 months after the operation.
- Do not use with serious arterial circulatory problems in the lower limbs.
Warning
- If you have had medical or physical treatment for your pain, consult you’re your physician before use.
- If your pain is noy subdued, becomes more than mild, or lasts for more than five days, stop using the device and consult with your physician.
- Do not apply stimulation over your neck because this could cause severe muscle spasms resulting in closure of your airway, difficulty in breatrhing, or adverse effects on heart rhythm or blood pressure.
- Do noy apply stimulation across your chest because the introduction of electrical current into the chest may cause rhythm disturbances to your heart, which could be lethal.
- Do not apply stimulation over, or in proximity to,cancerous lesions.
- Do not apply stimulation in the presence of electronic monitoring equipment(e.g., cardiac monitors, ECG alarms), which may not operate properly when electrical stimulation device is in use.
- Do not apply stimulation when in bath or shower.
- Do not apply stimulation while sleeping
- Do not apply stimulation while driving, operating machinery, or during any activity when electrical stimulation can put you at risk of injury.
- Apply stimulation only to normal, intact, clean, healthy skin.
- The long-term effects of electrical stimilation are un-known. Electrical stimulation device cannot replace drugs.
- Stimulation should not take place while the user is connected to high-frequency surgical equipment, which may cause burn injurieds on the skin under the electrodes, as well as problems with stimulator.
- Do not use the stimulator in the vicinity of shortwave or microwave therapy equipment, since this may affecy the outpit power of the stimulator.
- Never use it near the cardiac area. Stimulation electrodes should never be placed anywhere on the front of the thorax(marked by ribs and breastbone), but above all not on the two large pectoral muscles. There it can increase the risk of bentricular fibrillation and lead to cardiac arrest.
- Never use it on the eye, head and face area.
- Never use it near the genitals.
- Never use it on the areas of the skin which lack normal sensation
- Keep elecyrodes separate during treatment, It could result in improper stimulation or skin burns if electrodes are in contact with each other.
- Keep the simulator out of reach of chiidren.
- Consult your doctor if you are in any doubt whatsover.
- Discontinue it and do not increase the intensity level if you feel discomfort during use.
Precautions
- TENS s not effective for pain of central origin including headache.
- TENS is not a sbustityte for pain medications and other pain management therapies.
- TNES is a symptomatic treatment and, as such, sup presses the sensation of pain that would otherwise serve as a protective mechanism.
- Effectiveness is highly dependent upon patient selection by a practitioner qualified in the management
of pain patients. - Since the effects of stimulation of the brain are un-known, stimulation should not be applied across your head and electrodes should not be placed on opposite sides of your head.
- The safety of electrical stimulation during pregnancy has not been established.
- You may experience skin irritation or hypersensitivity due to the electrical stimulation or electrical conductive medium(silica gel).
- If you have suspected or diagnosed heart disease or epilespsy, you should follow precautions recommended by your physician.
- Caution if you have a tendency to bleed internally, e.g. following an injury of fracture.
- Consult with your physician prior to using the device after a recent surgical procedure, because stimulation may disrupt the healing process.
- Caution if stimulation is intended to be applied over the menstruation or pregnant uterus,
- For single patient use only.
- This stimulator should not be used by patients who is noncompliant and emotionally disturbed including whom with dementia or low 1Q.
- The instruction of use is listed and should be obeyed; any improper use may be dangerous.
- Rare cases of skin irritation may occur at the site of the electrode placement following long-term application.
- Do not use this device in the resence of other equipment which sends electrical pulse to your body.
- Do not use sharp objects such as a pencil or ballpoint tip to operate the buttons on the control panel.
- Check the electrode connections before each use.
- Electrical stimulators should be used only with the electrodes recommended for use by the manufacturer.
Adverse Reactions
- Possible skin irritation or electrode burn under the electrodes may occur.
- On very rare occasions, first-time user of TENS report feeling light-headed or faint. We recommend that you use the product while seated until you become accustomed to the sensation.
- If the stimulation makes you uncomfortable level and contact your physician if problems continue.
Note
- Use only as directed, and consult your doctor if pain or symptoms persist.
- The massage is a non-invasive treatment, and should be used only on uninjured skin.
- The massager is not medication.
ACCESSORIES
| Items | Description | QTY |
![]() | Wireloss TENS & EMS | 1 |
![]() | Electrode Pads | 2 |
![]() | Manual Book | 1 |
![]() | USB Charging Cable | 1 |
![]() | Circular pad | 4 |
![]() | Electrode Cable | 1 |
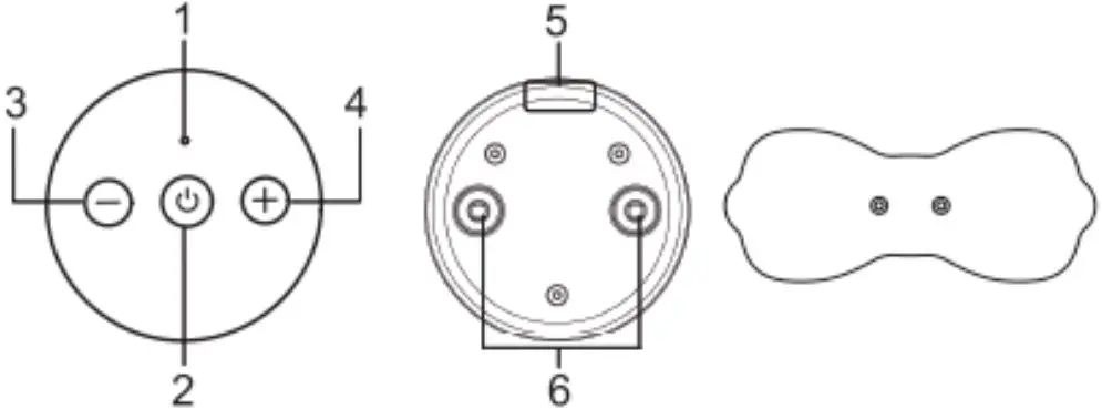
CONTROL KEYS

| No. | Description |
| 1 | [ON/OFF]button: Short press the [ON/OFF] button to turn on the device; At treating mode, short press the [ON/OFF] button to select the treating modes; At treating mode, long press the [ON/OFF] button at 3 seconds to tun off the device. |
| 2 | Indicator light: Red light corresponding low power, Green light corresponding operation normal or charging finish. |
| 3 | “+ button: at standby mode or treating mode, press “+’button to increase the intensity |
| 4 | “-” button: at treating mode, press™-“button to decrease the intensity |
| 5 | Charge interface |
| 6 | Snap: connect the button type electrode pad |
SPECIFICATION
- Product Model: SM9116
- Product name: Wireless TENS&EMS
- Working mobde: 6 modes
- Working strength: 20levels
- Maximum Output Current (mA): 160.16
OPERATION INSTRUCTION
Connect the Electrode Pad
Before proceeding to this step, be sure the device is completely switched OFF. Connect the electrode pad on the device directly by the snaps. Make sure they are properly connected to ensure the good performance
Electrode
Electrode Options
The electrodes are disposable and should be routinely replaced when they start to lose their adhesiveness. If you are unsure of your electrode adhensive properity, please order new replacement electrodes. Replacement electrodes should be re-ordered under the advice of your physician or the device manufacturer to ensure proper quality. Follow application procedures outlined on electrode packings when using the new replacement electrodes to maintain optimal stimulation and to prevent skin irritation.
Caution
- Always remove the electrodes from the skin with a moderate pul in order to avoid injury in the event of highly sensitive skin.
- Before applying the self-adhensive electrodes, itis recommended to wash and degrease the skin, and then dry it
- Do not tum on the device when the self-adhensive electrodes are not positioned on the body.
- To remove or move the electrodes, switch off the device or the appropriate channel first in order to aboid unwanted irritation.
- Never remove the self-adhesive electrodes form the skin while the device is still on.
Electrode Placement
The massager is a kind of OTC stimulator, suitable for home use. You only have to yse according to the user manual, pleace the electrode on the position where you feel pain. Conduction exercise, treatment and adjustment based on your own feeling.
Caution
Caul Use only the electrodes supplied with the device.
INSTRUCTIONS FOR USE
Device to Pad Installation
Warning: Please make sure device is off first before attaching to pad. Do not tum on until device is adhered to skin. Attach the device to the gel pad by snapping them on.
Skin Preparation-Device is still tumed off: Trim, do not shave, excessive hair on treatment area. Wash the skin and keep dry completely. (Treatment area should be void of any lotions/oils.)
Peel off the protective film on the gel pad and attach the pad to the center of the lower back or belly. A friend or family member may assist. (Save the protective film as you will reuse this). It is recommended to lay down on stomach or stand straight up during treatment.
How to Use Wireless TENS & EMS
Connect the device and the electrode pad
Stick it where you want to massage
Short press[ON/OFF] button to turn on the device, device always starts on Model 1 TENS mode, the red indicate light will be on.
Short press[ON/OFF] button to switch the modes to mode other TENS modes. Press”+”or””button to increase or decrease the intensity.
Device Charging
Step 1: Connect the USB cable with the Domas massager
Step 2: Connect the USB cable with suitable adapters. (Smart phone adapters and computer USB ports are suitable)
Step 3: It takes about 40min to fully chrge device. When finished, the light will be in blue.
Step 4: When the light is blue, disconnect the USB cable and store it for further use
Storage and Maintenance
Fully chrge the battery beofre long-term storage and charge it every two or three months to extend the life of the battery.
Use baby wipes to clean any stains or dust on device.
Use a wet towel to clean the gel pad and allow it to air dry to maintain pad adhesiveness.
The gel pad needs to be replaced when it no longer adheres to the skin. (approximately 25-30 applications)
Store device in original packaging.
Please DO NOT USE or STORE this device under the following circumstances:
- In the sun
- In dusty environment
- Near fire or heat
- In humid environment
- Electromagnetic environment
Gel Pad Usage
Make sure the skin is clean and does not contain any Iotion before applying pad. The gel pad is a consumable and will last about 30 applications depending on your skin type, oils, and PH levels.
BASIC TROUBLESHOOTING GUIDE
Troubleshooting Guide
| Problem | Cause | Solution |
| Can’t feel anystimulation | The intensity level is not properly adjusted. | Press the “+” button until stimulation is felt |
| Gel pads are not *wily attached to the skin. | Attach the gel pads firmly to the skin. | |
| The adhesive surface of the gel-pad is damaged. | Replace it with a new gel pad. | |
| The adhesive surface of the gel-pad is dirty or dusty. | See storage & maintenance and clean the gel pads | |
| Electrical stimulation is too weak | The battery is very low. | Charge the device |
| The adhesive surface of the gel pad is damaged. | Replace with a new pad | |
| The adhesive surface of the gel-pad is dirty or dusty. | See storage,& maintenance clean the gel pad | |
| Electrical stimulation is too strong | The intensity level is too high or pads are not attached correctly. | Press the “-” button to decrease intensity |
| Stimulation stopped unexpectedly | The battery is low | Charge the device |
| Gelpad won’tstay firmly attached to the skin. | The adhesive surface of the gel sheet s dirty or dusty. | See storage & maintenance Clean gel pad |
| The adhesive surface of the gel pad is damaged | Replace it with a new pad |
Stop using the device if any problem remains unsolved after trying the solutions we suggest.
FCC Caution
Part 15.21
Any Changes or modifications not expressly approved by the party responsible for compliance could void the user’s authority to operate the equipment.
Part 15.19
This device complies with part 15 of the FCC Rules. Operation is subject to the following two conditions:
- This device may not cause harmful interference, and
- this device must accept any interference received, including interference that may cause undesired operation
FCC RF Radiation Exposure Statement
- This Transmitter must not be co-located or operating in conjunction with any other antenna o transmitter.
- This equipment complies with RF radiation exposure limits set forth for an uncontrolled environment
- The device has been evaluated to meet general RF exposure requirement. The device can be used in portable exposure condition without restriction
Part 15.105
Note: This equipment has been tested and found to comply with the limits for a Class B digital device, pursuant to part 15 of the FCC Rules. These limits are designed to provide reasonable protection against harmul interference in a residential installation. This equipment generates, uses and can radiate radio frequency energy and, if not installed and used in accordance with the instructions, may cause harmful interference to radio communications. However, there is no guarantee that interference will not occur in a particular installation. If this equipment does cause harmiul interference to radio or television reception, which can be determined by turning the equipment off and on, the user is encouraged to try to correct the interference by one or more of the following measures:
- Reorient or relocate the receiving antenna.
- Increase the separation between the equipment and receiver.
- Connect the equipment into an outlet on a circuit different from that to which the receiver is connected
- Constlt the dealer or an experienced radio/TV technician for help.























