ABB6AGC085345 Pedestal For Terra AC Wallbox

Product Information
The Pedestal for Terra AC wall box is a free-standing installation alternative to mounting the Terra AC wall box on a wall. It is available in two designs – Single Pedestal 6AGC085345 and Back-to-Back Pedestal 6AGC085684. The respective national regulations must be observed with regard to the installation of the pedestals. The weight of the pedestal without the charging station is 10.5 kg for both designs.
Safety Instructions
It is important to observe the safety instructions to avoid any risk of death, injuries, or damage to the device. The installation, commissioning, and maintenance of the charging station should be performed by correctly trained, qualified, and authorized electricians. If the specifications for the location are not observed, this can result in death, serious physical injury, or equipment damage if the corresponding precautionary measures are not met.
Intended Use
The Pedestal for Terra AC wall box is designed for free-standing installation in inside or outside areas as an alternative to mounting the charging station on a wall. Depending on the design and number of charging stations, the relevant number of empty pipes and connection cables should be taken into consideration in the concrete foundation.
Overview
- The Single Pedestal 6AGC085345 is designed for the installation of one charging station.
- The Back-to-Back Pedestal 6AGC085684 is designed for the installation of two charging stations.
Product Usage Instructions
- Read and understand the safety instructions in the manual before installing or using the Pedestal for Terra AC wall box.
- Ensure that the installation, commissioning, and maintenance of the charging station are performed by correctly trained, qualified, and authorized electricians.
- Observe the instructions given for selecting the location and the constructional requirements.
- Depending on the design and number of charging stations, the relevant number of empty pipes and connection cables should be taken into consideration in the concrete foundation.
- If the charging station is installed with a plug-in power supply line (e.g., for demonstration purposes), ensure that there is sufficient tension relief and edge protection for the power supply line.
- Position the base below street level and anchor it to the base using the 4x anchors (M10x40) provided.
Pedestal for Terra AC wallbox
Installation manual

Safety instructions
Warning
- Not observing the safety instructions can result in a risk of death, injuries, and damage to the device! The producer assumes no liability for claims resulting from this!
- Electrical hazard!
- The installation, commissioning, and maintenance of the charging station may only be performed by correctly trained, qualified, and authorized electricians who are fully responsible for compliance with existing standards and installation regulations.
- Observe the instructions given for selecting the location and the constructional requirements!
- If the specifications for the location are not observed, this can result in death, serious physical injury, or equipment damage if the corresponding precautionary measures are not met.
Use of this manual
This installation manual is intended for qualified personnel only(1). This guide is a supplement to the “Terra AC wall-box Installation Manual.” The information and in-structions in the manual about selecting the location, installation, and connection of the charging station must be adhered to.
(1) Persons who, due to their special training, expertise, and experience as well as knowledge of current standards, are able to assess the work performed and the possible hazards.
Intended use
- A pedestal for free-standing installation in inside or outside areas is available as an alternative to mounting the charging station on a wall.
- Depending on the design and number of charging stations the relevant number of empty pipes and connection cables should be taken into consideration in the concrete foundation.
- If the charging station is installed with a plug-in power supply line (e.g., for demonstration purposes), you should ensure that there is sufficient tension relief and edge protection for the power supply line.
- The respective national regulations must be observed with regard to the installation of the pedestals.
- Weight (without charging station): 10,5 kg (single / back-to-back)
| 2× | SCREW; FLAT HEADED DIN 923 M5X3(x12) Stainless steel | 4× | SCREW; FLAT HEADED DIN 923 M5X3(x12) Stainless steel |
| 2× | SCREW; HEX. SOCKET HEAD M6X90 A2-70 DIN 6912 | 4× | SCREW; HEX. SOCKET HEAD M6X90 A2-70 DIN 6912 |
| 1× | EDGING L = 65 mm | 2× | EDGING L = 65 mm |
| 1× | NUT. M6 UNI 5588 A2 | 2× | NUT. M6 UNI 5588 A2 |
| 1× | CONTACT WASHER M6 | 2× | CONTACT WASHER M6 |
Overview

- Single pedestal 6AGC085345
- The single pedestal is designed for the installation of one charging station.
- Back-to-back pedestal 6AGC085684
- The back-to-back pedestal is designed for the installation of two charging stations.
Warning

Electrical hazard: The back-to-back pedestal must always be fitted with two charging stations.
Location requirements
General
- All of the location requirements for the charging station in the ” Installation Manual” must be adhered to!
- When mounting the pedestals in parking spaces or parking garages, appropriate anti-collision protection must be provided by the customer.
Concrete foundation
- The calculation, design, and manufacture of the concrete foundation lie in the scope of responsibility of the producer of the site.
- A horizontal, level and the sound foundation is required for installation. To ensure safe and permanent anchoring, we recommend creating a concrete foundation: 70 cm (L) × 60 cm (W), depth = 50 cm. Concrete: C30/37
- The base must permit the running off of any water that has entered the base.
- All cables must be laid precisely in the center of the concrete foundation from the base and must have an excess length of approx. 1.5 m for the remaining installation activities.
- During the production of the concrete foundation, the cables must be protected against damage using appropriate measures (e.g., a protective tube). The protective tube must have an excess length of approx. 25 cm above the concrete foundation.
- Mounting the pedestal on asphalt is not allowed!
Positioning the base
Position the base below street level. The pavement can cover the base. See the drawings below.
Anchoring to the base
The 4x anchors (M10x40) must be used for anchoring. 
Making drill holes
- Mark the 4 holes on the concrete foundation using the base plate of the pedestal. Make sure that the connection cable is located precisely underneath the opening in the base plate.
- Drill the 4 mounting holes: Diameter: 12 mm Drill-hole minimum depth: 43 mm
- Hammer the anchors (not included) so that they are flush with the floor. Please also observe the following instructions:

- Instructions on inserting the anchors
INSTALLATION MANUAL
NOTE: THE IMAGES ARE VALID FOR ALL VERSIONS.
Thread in cable: Thread the connection cables from the bottom through the pedestal upwards through the cable opening.
Anchoring
- Position the pedestal directly over the cable outlet.
- Anchor the pedestal to the foundation using 4 bolts M10 and a washer M10 (not included).
PEDESTAL FOR TERRA AC WALLBOX

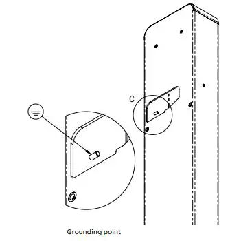
Grounding: If necessary, connect the earthing to the pedestal’s grounding point with included nut M6 UNI 5588 A2 and contact washer M6. Max torque: 4 Nm.
Add edge cable protection
- Add the edge protection on the cable opening of the pedestal immediately before installing the charging station (see figure).
- Use included edging 65 mm.

Mounting the charging stations
- Mount the charging stations on the pedestal using the enclosed screws.
- Use for top; screw type flat headed DIN 923 M5X3 (x12) Stainless steel
- Use for bottom; screw HEX socket head M6X90 A2-70, DIN 6912
Connecting and commissioning
- Perform the electrical connection and commissioning in accordance with the instructions in the “Installation manual.”














