bol com Electric Standing Desk

PARTS AND HARDWARE LIST
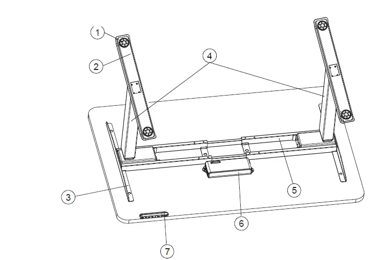
| NO | Component Name | Qty |
| 1 | Foot Pad | 4 |
| 2 | Foot Margin | 2 |
| 3 | Bracket | 2 |
| 4 | Legs | 2 |
| 5 | Cross Bar | 1 |
| 6 | Control Box | 1 |
| 7 | Key Pad | 1 |
| A | M6*12 Screw | 12 |
| B | M6*14 Screw | 8 |
| C | ST3.5*19 Screw | 2 |
| D | ST4.8*19 Screw | 2 |
| E | ST4.8*25 Screw | 6 |
| F | Plastic Pad | 6 |
| G | Rubber Cushion | 6 |
| H | 4mm Hex Spanner | 1 |
| I | Cable Tie | 5 |


PARTS

HARDWARE

INSTALLATION
- Loosen 8 pcs M6*10screws,they were attached before packing. Adjust the crossbar to proper position and then tighten the 8 pcs screws.

- Attach legs to crossbar ends using 8 pcs M6*12 screws.

- Attach foot margins to leg using 8 pcs M6*14 screws and tighten with 4mm hex spanner.

- Attach brackets to each crossbar end using 4 pcs M6*12 screws.

- Put rubber cushions and plastic pads on the side brackets and crossbar.

- Attach the brackets and the crossbar to the table top using 6 pcs ST4.8*25 screws.Attach the control box using 2pcs ST4.8*19 screws Attach the keypad to the table top using 2 pcs ST3.5*19 screws.

- Plug cables from two motors to the control box and cable from the keypad.

Operation Guide
Normal Operation
Drive the desk to the desired height using the “↑” or “↓” button.
Setting the Memory
Press the “M” button till the displayer flashing and then press “1” button.
Position 1 is now stored. Repeat above procedure for positions 2,3,4. Then hold and press to operate the “1”,“2”,“3”,“4” button and the desktop will stop at the desired.
System Initialization
If the system doesn’t work when we use, we may need the system reset, to make the system initialized. Reset procedure is as follows: pressthe “↑” and “↓” button together for about 15s then you can hear a beep, do not release the button and keep pressing the “↑” and “↓” button, lifting columns will go down to its lowest position, you will hear a beep, then a new initialization sequence can be run.
Notice
- This product must meet the technical parameters in use.
- Away from water and corrosion-resistant gas.
- Please contact us or our distributors if there is something wrong with the product.

As above shown, add new switch function base on the premise that original keys function is unchangeable, procedure as follows:
- Press the “1” “2” “M” buttons together for about 5 seconds, display “C-E” (flashing)—then continue to procedure 2,3.
- Press button “1” within 5 seconds, display “C”, then switch to metric system CM—go into the general operation.
- Press button “2” within 5seconds, display “E” then switch to British system Inch—-go into the general operation.
- If above procedures no further operate over 5seconds, then will recover to the previous setting.























