
STERLING
STANDING DESK

| Column Number | 2 | Input Voltage | 100-240V |
| Maximum Load | 154lbs | Desktop Size | 47”x27.5” / 55”x27.5” |
| Speed | 1.0 inch/s | Applicable Temp. | 32-104ºF |
| Lowest Position | 28.7” | Duty Cycle | Motor maximum operation duration: 2 mins Pause for at least 18 mins. |
| Highest Position | 48.3” |
Warranty Registration
Mobile offers a 5-year limited warranty for this product from the date of purchase.
To register your Mopio product for warranty coverage, please fill in the form on our website at www.mopio.com/warranty/register or scan the QR code:
https://www.mopio.com/warranty/register
REGISTERED CUSTOMERS ALSO RECEIVE:
- Exclusive offers and free gifts
- Early access to new product releases
- Interior design and styling tips
- Product care information
Before you start…
![]() | ![]() |
| Ensure you have received all cartons and familiarize yourself with the workload. Make sure there are enough helping hands to assist you, and that you have allocated the time required to assemble your new product. | Make sure you have cleared enough space in your home for the assembly. We recommend protecting your floor with a mat or cardboard to avoid scratches during the assembly process. |
![]() | ![]() |
| Read instructions carefully and check no parts are missing. | Lay out all hardware on a soft surface so you can easily identify them. |
![]() | ![]() |
| Carefully identify all components in order to differentiate which pieces are left and right. | Install your new product carefully following the instructions. Don’t skip ahead! |
![]() | ![]() |
| DO NOT over-tighten screws or use a drill. It will damage the product. | If you need further assistance with assembling your Mopio product, please contact us at [email protected]. |
Parts

BOX A

BOX B
Hardware

The drawings are only for reference which might be slightly different from the actual object, please in kind prevail.
There are inner box(es) that include components required to complete this assembly.
Please do not completely tighten all the hardware, until each assembly step is complete.
Before discarding the packaging, please use the checklist to ensure that you have all the parts required to assemble your product. Please kindly note you will need the original package if you want to return the product later.
If parts are missing or damaged, we will gladly ship your replacements parts free of charge. Please contact us at [email protected].

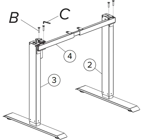
Step 1

Install (1) & (2)(3) together, use 5×5 Allen key(C) to tighten the screws(A).
Step 2

Install Supporting beam(4)

Loose screws on (4) with Allen key 4×4(C), then stretch supporting beam.
Missing parts? Or feeling stuck?
Contact us at [email protected].
Install supporting beam on the column (2)(3), tighten screw (B) with Allen key 5×5 (C).

Please adjust the support beam size(4) according to tabletop size.
Step 3

Step 4

Missing parts? Or feeling stuck?
Contact us at [email protected].
Step 5

Step 6

Missing parts? Or feeling stuck?
Contact us at [email protected].
Step 5

Step 6

Missing parts? Or feeling stuck?
Contact us at [email protected].
Step 7

Finished!

Missing parts? Or feeling stuck?
Contact us at [email protected].
Congratulations! We’re almost there! Please perform the following checks to ensure assembly is properly done.
- Have you tightened all the screws? Check if the legs and tabletop are stable enough.
- Are the legs balanced? Unbalanced legs could be caused by uneven tighten force to legs or uneven floor. Simply adjust the levelers attached to make sure product is fully balanced.
- Refer to the Operation Instructions page to try out the helpful functions.
Move your Mopio product carefully, with 2 people lifting it to the preferred location. Clean the product with a damp cloth. You are all set!
Enjoy your fresh and updated living space thanks to the addition of your new Mopio product!
Operation Instructions
1. Product Outline

2. Product Specification
Bottom introduction: There are 7 buttons “▲” , “▼” , “1” , “2” , “3” , “M” , “A”
- “▲” : Adjust the desk upwards
- “▼” : Adjust the desk downwards
- “1” : Position 1, recall the 1st saved height position
- “2” : Position 2, recall the 2nd saved height position
- “3” : Position 3, recall the 3rd saved height position
- “M” : Height memory function
- “A” : Alert button to remind users to change posture
3. Operating Instructions
- Height Adjustable Function:
Press the”▲” or “▼” button to adjust the height. The LED display shows the current height. - Height Memory Function:
(a) Press the UP or DOWN button and adjust the height to the desired height. Press “M” to save the height, and the screen will display ” “; Press “1”, “2”, or “3” to save the height to the corresponding memory position. The LED display screen will show accordingly.
(b) Press “1”, “2” or “3” buttons directly to automatically adjust to the height you saved. Reminder Function:
(a) To promote a healthy working style, we designed the Stand-Up Reminder function to remind you to stand up at a preset time. If your device is in sleep mode, press any button once to wake
the LED display. Press the reminder button “A” to activate the function. The LED display will show
(b) Wait for 2 seconds until the display screen starts flashing, then press the “▲” or “▼” button to adjust the reminder time. The default time is 45 minutes, shown as ” “. Then press any button
to save the time set up, otherwise, the system will save the time set up automatically after 5 seconds. During the countdown, any controller operation will interrupt and reset the countdown. When the countdown finishes, the display screen will show “ ” the buzzer will be active with a “DiDi… DiDi. DiDi…” tone that lasts for 10 seconds.
(c) Pressing any button during the 10-second buzz period will trigger the countdown to restart as set up in (b). Otherwise, there will be another reminder buzz after 5 minutes. Press any button
during second buzz to restart the countdown, otherwise, the reminder function will be turned off automatically.
(d) Press and hold the “A” button for three seconds to turn off the Long-Time Sitting Reminder. The LED display shows
Troubleshooting
The following tips will help to detect and eliminate common faults and errors. If the fault you met is not listed below, please contact your supplier or dealer. Any onsite electrical-related investigation or amendment shall be carried out by professional electricians only.
| Problem or Error | Solution |
| No response when pressing the “▲” or “▼” button. | •Check if all cables are properly connected. When power is connected the LED display will be on. |
| Moving in a very low speed during height adjustment. (Regular transit speed is 1-/sec) | •Check if the desk is overloaded. Max bearing load is 154 lbs. |
| The desk is sliding downwards during the stationary mode. | •Check if the desk is overloaded. Max bearing load is 154 lbs. |
| The desk can move downwards but cannot move upwards. | •Hold the down button “▼”, let the desk adjust to the lowest point. Keep holding the button and the desk will then move in the reverse direction. If this fix does not work, then try: •Restore to factory default settings* |
| LED displays error code | This indicates the controller enters an error state and requires a program reset •Firstly, check if the desk is overloaded. Max bearing load is 154 lbs. If offload doesn’t help, then try: •Program reset: Hold the down button “▼”, let the desk adjust to the lowest point. Keep holding the button and the desk will then move in the reverse direction automatically. The LED will now display the height number, then release the down button and the reset process is done. After reset, the desk will enter a normal working state again. |
| Problem or Error | Method |
| Overwork — Motor has continuously worked for more than 2 minutes. This will normally trigger the error code “E01” or “E02”, which indicates overwork or overheat respectively. | Motor duty cycle: Max 2 minutes ON /18 minutes OFF. •With power remaining connected, pause any motor usage (i.e. let desk stay idle at current height) for at least 18 minutes. Error code will disappear afterward, and the desk will return to a working state. |
| The desk is not adjusted to the accurate height as per the LED displayed. | •Inaccurate height adjustment can be corrected by restoring to factory default settings’ |
| The motor does not move as instructed while the power supply is properly connected. Commonly seen error code associated with this fault includes “E03”, “E04”, “E05”, “E06”, “E07” or “E08”. | •This indicates a motor failure, which won’t happen under normal circumstances. Contact your supplier or dealer for motor exchange to fix the issue. |
* Restore to factory default settings:
Press the “M” and “3” buttons together and hold for at least 3 seconds until you hear continuous beeping twice. Then release the buttons and the program will restore to factory settings. Kindly take note that any factory setting restores action will erase memory thus all previously saved height profiles need to be re-configured. If you are facing any difficulties doing the troubleshooting, please contact your supplier or dealer for detailed resolutions.
Attention – Safety & Care Tips
- Power supply: AC100V-240V, 50/60HZ
- Service Environment: 0-40°C
- How to Clean:
o Before cleaning, make sure to unplug the power, then wipe the surface with a damp cloth. Wipe away water drops immediately before water flow into internal parts.
o Do not use any corrosive or abrasive material to clean the product. We recommend the usage of environmental-friendly cleaner.
o Any cleaning or maintenance action shall be carried out by adults or under adults’ supervision. - Read and follow the assembly steps carefully. Ensure all steps and post-assembly checklist are done properly. Read through the function user manual and get familiar with product program settings before first use.
- Minor noise caused by the V-ribbed belt or brake system is completely normal and this doesn’t affect regular usage.
- Under circumstances of damaged supply cord, contact the manufacturer, service agent, or professional electrician for a replacement to avoid any hazard.
- Please make sure assembly is carried out in a safe and hazard-free environment. Please make sure packaging materials that impose certain danger to children, e.g. inner plastic bags, are properly stored post assembly. Keep the original package and tools in case of possible future transportation.
Waste disposal
This marking indicates that this product should not be disposed of with other household wastes. To prevent possible harm to the environment or human health from uncontrolled waste disposal, recycle it responsibly to promote the sustainable reuse of material resources. To return your used device, please use the return and collection systems or contact the retailer where the product was purchased. They can take this product for environmentally safe recycling.
Frequently Asked Questions
- What should I do if my product received is incomplete?
Mobile products are flat packed and come in separate boxes. Once your order has been dispatched and been sent with FedEx, you will receive an email with tracking information. Please note that FedEx may deliver your boxes in separate deliveries. Kindly follow the tracking information, allowing all boxes to be received before starting assembly. If you need further assistance on deliveries tracking, feel free to reach out to us at [email protected]. - What should I do if my shipment is damaged or the products received are defective?
We’re sorry to hear that! Please email us at [email protected] and provide a detailed description of the damage, as well as photos (or videos, where appropriate) showing the damage. We will do our best to resolve the issue as soon as possible. - Can replacement parts be ordered?
Yes. Simply write to our customer service team at [email protected], let us know your order ID and we will be happy to assist further. - Who do I contact for repair queries?
You may write to us at [email protected] specifying your queries and we will be able to assist you further. - What warranty do you offer for your products?
You’ll just need to submit your warranty registration upon receiving the product at www.mopio.com/warranty/register. You can print a copy of your order from Order Details in Amazon and upload it as your proof of purchase. More details can be found in the Warranty section. - How do I claim my warranty?
Easy! Just email us at [email protected] and provide a detailed description of the fault as well as photos. - What should I do if I want to return the product?
We offer a 30-day return policy upon product received. To initiate a return request, please message us through Amazon or contact our customer service team at [email protected] with your reason for returning so we can facilitate the request and assist you further. For more details on the return policy, please refer to the Return section.
Warranty & Return
5 YEAR LIMITED WARRANTY STATEMENT FOR MANUFACTURING DEFECTS
Please read this limited warranty carefully. To maintain your warranty, you will need to comply with the conditions stated here. This warranty is for manufacturing defects only and does not cover damages as a result of misuse.
- Please be sure to register your product at www.mopio.com/warranty/register to receive up-to-date warranty and product information.
- Your new product comes with a 2-year warranty for the controller, switch, and electronics, a 1-year warranty for the tabletop excluding wear and tear, as well as a 5-year warranty for the metal frame, motor, and other mechanisms. The warranty starts on the date of warranty registration. No warranty will be honored without an original sales receipt. The warranty and financial responsibility of the manufacturer only applies to the products themselves.
- Manufacturing defects include circumstances where the product has broken under normal use and no longer provides proper support. In the event you encounter a manufacturing defect, please stop using this product immediately and contact customer service.
- This warranty applies only when the product has been properly used by consumers who purchased the product from authorized channels as a new product. Proper use means using the product on a level surface where all legs touch the floor with an equal distribution of weight. Proper use also means that the product was not abused by the consumer, as defined by the manufacturer. This warranty does not constitute an agreement to replace other parts.
- If the product fails due to manufacturing defects, the manufacturer will repair or replace at its discretion and reserves the right to substitute comparable materials or models and does not guarantee that the replacement part will match existing pieces.
- In the event the product needs to be inspected by the manufacturer to determine a warranty claim, the transportation cost or removal cost is borne by the consumer.
MOPIO’S 30-DAY RETURN POLICY
We believe you will be thrilled with your purchase from Mopio. That’s because we go out of our way to ensure that products are designed and built to be just what you need. We understand, however, that sometimes a product may not be what you expected it to be. In that event, we invite you to review the following terms related to returning a product.
The Return
Returns are to be made within 30 days of the date you received the product. To initiate a return request, please message us or contact our customer service team at [email protected] with your reason for returning so we can facilitate the request and issue return authorization to you. Please note the policy is subject to the conditions below:
- Only undamaged items in the original packaging will be accepted under the Returns Policy. Any items that are not returned to us in the original packaging and/or in original condition will incur an additional handling fee (deducted from your refund). It is your responsibility to package the item sufficiently to avoid damage in transit back to us. We encourage customers to photograph the items scheduled for return and the condition of the packaging before handing it over to the delivery company.
- We will not refund a product that you have bought and received where, in our reasonable opinion, the product has: become of unacceptable quality due to fair wear and tear; misuse; using it in an abnormal way, or failure to take reasonable care.
- We will not be able to offer a standard return policy after 30-day timeframe has passed. However, our customer service team is always an email away if you require further assistance with your Mopio products.
The Refund
We will assist you to complete the return process. We will perform a standard inspection upon your return is received and will send you a message to acknowledge the return if the item is presenting in original condition with the original packaging. You will be refunded the full amount less the return shipping cost. Please note that while shipping charges on original deliveries are subsidized, on returns the full shipping amount paid by Mopio to the delivery, the partner will be deducted from your refund. All refunds will take 2 business days to process upon return acknowledgment from us, however actual fund reversal date will depend on your card company’s own processing schedule. Kindly note, in the event of returning a defective or damaged item, we will however absorb the shipping charges and ensures your return/exchange experience is hassle-free.
The Exchange
We put quality as one of our top priorities – we work with experienced manufacturers and have every piece of Mopio product going through a strict quality control process. We want to make sure your Mopio product reaches you safe and sound, however, we are happy to do an exchange in case you receive a defective or damaged product due to any unforeseen hiccups throughout the journey. Please message us or email us at [email protected] with proof of defect or damage, our customer service will evaluate the exchange request, and assist you throughout the process accordingly.
Contact Us!
For any inquiries or issues regarding your purchase, you can
contact us directly at [email protected].
[email protected]![]()
@mopioinc
www.mopio.com
References
MopioInc | Beautiful and Quality Furniture, Sofa, Sofa Bed, Ottoman | Mopio icon-plus icon-plus icon-plus icon-plus icon-plus icon-plus icon-plus icon-plus American Express Apple Pay Diners Club Discover Facebook Pay Google Pay Mastercard Shop Pay Visa
Mopio Club | MopioInc icon-plus icon-plus icon-plus icon-plus icon-plus icon-plus icon-plus icon-plus American Express Apple Pay Diners Club Discover Facebook Pay Google Pay Mastercard Shop Pay Visa






















