HALCYON R249 Proline Backlit Panel Installation Guide

INSTALLATION INSTRUCTIONS
Description:
R249: 21W LED, IP20
R250/R251: 27/33/36/42W LED, IP20
R252: 40/46/50/56W LED, IP20
Model#: R249, R250, R251, R252
Product Name: LED Panel Light
Rated Voltage: 220-240V~, 50/60Hz
Installation Note: Standard Slimline Pro Panels come complete with adjustable output drivers. Remove cover to secondary side to reveal dipswitch adjustment.
R250/R251 panel can be adjusted between 700mA / 2800Im, 850mA / 3400lm (Factory Default setting), 900mA / 3500Im or 1050mA / 4000Im.
R252 panel can be adjusted between 1050mA/ 4700Im, 1200mA / 5300Im (Factory Default setting), 1300mA I 5600Im or 1400mA I 6200Im.
Warning: Driver must be installed above insulation.
Note: Accessory brackets included for seismic restraint cables, note restraint cables to be supplied and fixed to appropriate compliant mounting points by installer.
Surface Mount Version:
- Switch off mains power.

- Fix surface mount frame on the ceiling and connect L,N,to Driver.

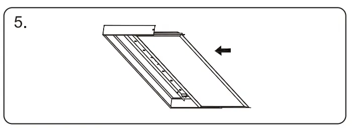
- Pull spring loaded side panel outwards from frame and angle away from the ceiling.

- Plug driver into panel and slide panel into surface mount frame.

- Carefully release spring loaded frame section back into place.

- Switch luminaire on to test functions correctly and is electrically safe.

Installation note: Do not install on the same circuits as Metal halide, Fluorescent and other
“Low power factor” devices.
When installed on the same circuit it can cause flickering and/or premature failure of the “high power factor” electronic drivers. The harmonic distortion from low power factor devices alters the
Waveform of the AC supply which can cause componentry in high power factor electronic drivers to resonate, run over temperature and fail after prolonged exposure.
Warning: Driver must be installed above insulation.
Note: Accessory brackets included for seismic restraint cables, note restraint cables to be supplied and fixed to appropriate compliant mounting points by installer.
Recessed Mount Version:
- Switch off power
.
- Lock the metal sheets on the side of mount bracket.

- Push the recessed mount into the ceiling.

- Lock the metal sheets on the another side of mount bracket.

- Put the luminarie tilt into the recessed mount and connect the driver connection and wire terminal block as indicated.

- Switch luminaire on to test luminaire functions correctly and is electrically safe.





























