SOLIGHT WO22-W Backlit LED Light Panel Instruction Manual
Dear customer,
thank you for purchasing our product. Please read the following instructions carefully and follow them to serve you safely and to your full satisfaction. This will prevent misuse or damage. Avoid unprofessional handling of this appliance and always observe the electrical appliance usage guidelines. Keep the instruction manual carefully. For use in the home or indoors. This product should only be used by an adult. Never expose to environments with high humidity (e.g. bathroom), avoid contact of the product with liquids. Installation may only be carried out by a qualified worker qualified according to Decree No. 50/1978 Coll. as amended, at least a worker knowledgeable according to § 5 of Decree No. 50/1978 Coll. as amended.
SAFETY NOTICE
- Installation must only be carried out by a qualified electrician.
- Power supply: 220-240V AC 50/60 Hz.
- Use only indoors.
- If the power cord of this luminaire is damaged, it must be replaced by the manufacturer’s service department.
- There are no replaceable parts in the device.
INSTALLATION
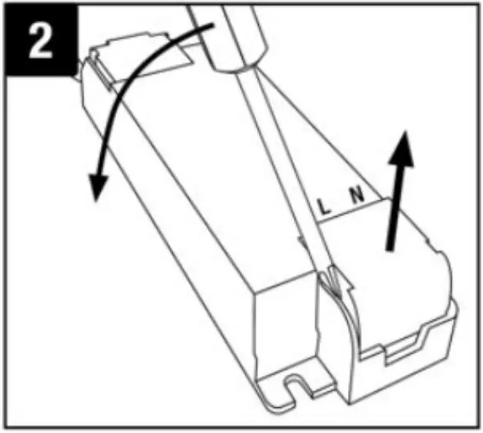
- Switch off the power supply before installation.
- Open the terminal cover.
- Connect the power cord and make sure it is connected correctly.
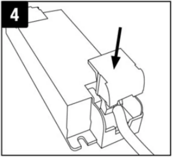
- Attach the terminal cover.
- Connect the power supply to the power cord.
- Insert the power supply into the ceiling.
- Insert the luminaire into the ceiling.
- Switch on the power supply







So light Holding s.r.o., declares that the product complies with the requirements and provisions of Directive 2014/53/EU. The equipment can be freely operated in the EU. The Declaration of Conformity can be found at www.solight.cz. The product can be operated under general authorization No. VO-R/10/05.2014-3
The light source of this luminaire is non-replaceable, at the end of its service life the entire luminaire must be replaced and disposed of in a designated place. This product contains a light source that for design reasons cannot be removed for verification and therefore the entire product is considered a light source.

Solight Holding, s.r.o., Na Brně 1972, Hradec Králové 500 06, Czech Republic.


















