LEDone LOC-22 Indoor LED Strip Light

SAFETY INSTRUCTIONS:
Read instructions carefully before attempting to install fixture
- Fixture must be wired in accordance with the National Electrical Code and all applicable local codes.
- Proper grounding is required for safety.
- This product must be installed in accordance with the applicable installations code by a person familiar with the construction and operation of the product and the hazards involved.
CAUTION: Risk of fire
- WARNING: Suitable for flat T-Grid in both insulated and non-insulated ceilings. Access above ceiling required.
- WARNING: Do NOT handle energized fixture when hands are wet, when standing on wet or damp surfaces or in water.
- WARNING: Vapor barrier must be suitable for 90°C.
- WARNING: Fixture to be independently supported to building structure.
CLEANING & MAINTENANCE
CAUTION: Be sure the fixture temperature is cool enough to touch. Do NOT clean or maintain while the fixture is energized.
- Clean frosted polystyrene lens and fixture with non-abrasive cleaning solution.
- Do NOT open fixture to clean the LEDs. Do NOT touch the LEDs.
Note: These instructions do not cover all details or variation in equipment, nor do they provide for every possible situation during installation, operation or maintenance.
TROUBLESHOOTING
- Check that the LINE voltage at fixture is correct. Refer to the wiring directions.
- Is the fixture grounded properly?
WIRING INSTRUCTIONS
Universal voltage driver permits operation at 120V through 277V.
- Connect the black fixture lead to the LINE supply lead.
- Connect the white fixture lead to the COMMON supply lead.
- Connect the GROUND wire from fixture to supply ground.

RECESSED CEILING MOUNTING
The fixture is suitable only for INDOOR RECESSED CEILING application.
Above ceiling access required.
- Remove the ceiling tile at an appropriate location where the product is to be installed. Raise the product above the bar. (Fig. 1)

- While the power is turned off at the breaker, connect the power to the driver based on the wiring diagram. (Fig. 2)

- Fold the 4 protection brackets so they will be above the T-bar. (Fig. 3)

- Slowly rest the fixture on the T-bar and make sure it fits properly. (Fig.4)

SURFACE MOUNTING
The fixture is suitable only for INDOOR RECESSED CEILING application.
Above ceiling access required.
- Fix A1, A2, B1 and B2 with snap-in plastic connectors to make a complete frame. (Fig. 1)
- Fix A1 and A2 to the ceiling with screws. Remove B1 and its 2 corner connectors. (Fig. 2)
- Turn off the power. Take off the driver box cover and slide the panel partially into the mounting frame. Connect the L-shaped conduit fitting to the MC cable. (Fig. 3)
- Remove the knockout on the driver box cover plate and attach the L-shaped fitting to it. Connect the power line to the driver according to the wiring diagram. (Fig. 4)
- Put the driver box cover plate back on and slide the panel into the frame. (Fig. 5)
- Put B1 onto the frame with its 2 corner connectors. Turn the power back on. (Fig. 6)

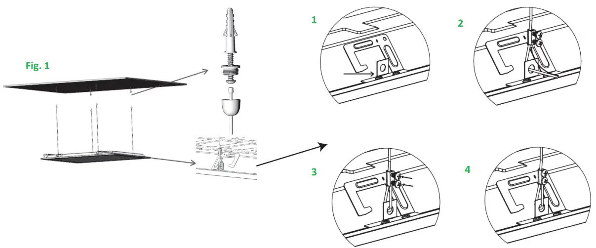
SUSPENSION MOUNTING
The fixture is suitable only for INDOOR RECESSED CEILING application.
Above ceiling access required.
- Position the expanded screws at one end of the cable on the ceiling and then hook the other end of the cable on the panel. (Fig. 1)

- Connect the screw cap to the expanded nut of the ceiling. Turn the power off and connect the power to the driver according to the wiring diagram. (Fig. 2 & Fig.3)


EMERGENCY BATTERY MOUNTING
- Insert the high-voltage side (Flex A) of the emergency power into the bracket slot. Then fix the emergency battery to the supporting bridge by using 2 screws on (Flex B) and 2 screws on (Flex A). (Fig. 1 and Fig.2)


- Screw A1, A2, B1 and B2. Install the emergency supporting bridge onto the back plate and screw in A1, A2, B1 and B2 and then wire. The high-voltage side on the emergency battery is in the same direction as the driving high-voltage section. (Fig.3 and Fig. 4)

- In emergency mode, the color temperature will match the selected color temperature on the switch except for 3,500K. If 3,500K is selected, the CCT will appear as 5,000K in emergency mode. It will revert to 3,500K during normal mode. (Fig. 3 and Fig. 4)


2X2 Adjustable Wattage Options Adjustable CCT Options
2X4 Adjustable Wattage Options Adjustable CCT Options

































