TREASURE GARDEN AKZ13 Umbrellas Rolling Cantilever User Guide
Introduction
Thank you for purchasing Treasure Garden’s Cantilever Base.
Please remove all contents from the package, inspect and review checklist.
CHECKLIST
- A – (1) Base Lid
- B – (1) Steel Base Frame
- C – (4) Add-on Weight Containers
- D – (4) Feet
- E – (4) Screws
- F – (1) Wrench
- G – 400 lbs. All-Purpose Sand (not included)

IMPORTANT
- Prior to assembly it is important to decide on the location of the umbrella.
- Allow ample height to avoid damage to your umbrella during assembly and usage.
- Choose a location that is level and sturdy.
- Avoid any sloping or soft ground.
- Consider a location that will maximize the umbrella’s 360° rotating swivel function.
Placing the umbrella between two entertaining areas is ideal.
Note: Some parts may be included in the Styrofoam packaging. DO NOT discard any packaging or box until assembly is complete.
CAUTION: Fully assembled, the umbrella weighs over 500 lbs. Moving the umbrella fully assembled will increase the risk of damage to your umbrella and/or can cause serious injury. We recommend a two-person team for assembly and disassembly
ASSEMBLE BASE
- Select area to set base frame and place in desired location.
- Screw (4) feet onto bottom of base frame with supplied (4) screws (Fig. 1).

- Remove rotating hub (sold separately) from the main frame of umbrella by removing the (2) bolts and (2) washers (Fig. 2), set aside bolts and washers for later use.

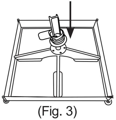
- Place rotating hub onto base frame (Fig. 3) and secure with supplied (5) hub bolts and (5) washers included with umbrella (Fig. 4).


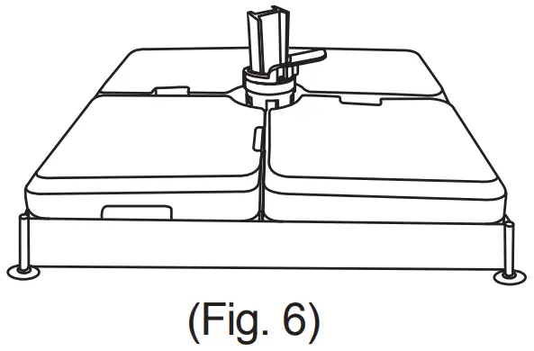
- Remove caps from each add-on weight container and fill with all purpose sand (Fig. 5).

The base containers hold up to 400 lbs. of sand. To achieve minimum base weight, it is necessary to pack sand into all areas of each container and add water. Remove/clean excess sand from container cap and threads. - Secure cap back onto each container. Place each add-on weight container into base frame sections (Fig. 6).

- Carefully place base lid onto base frame (Fig. 7).

- Your base is now ready for umbrella installation. Refer to umbrella manual for installation instructions.
Note:
- If leveling base is needed, adjust feet using supplied wrench until frame is level (Fig. 8).
- Moving the umbrella will be difficult once fully assembled and will increase the risk of damage to your umbrella and/or can cause serious injury
SAFETY PRECAUTIONS
- To reduce risk of personal injury in which a person is injured or harmed, and/or damage to personal property, read and follow the Assembly Guide prior to assembling and operating umbrella and base.
- Close and store the umbrella in windy conditions or when a storm approaches. Never allow the umbrella to flap in the wind; this could cause personal injury, damage to personal property, damage to umbrella and/or umbrella canopy. Do not use tilting function during windy conditions.
- Keep umbrella secured to umbrella base at all times.
- Do not leave open umbrella unattended. If damage occurs, this is not covered by the warranty.
- When adjusting the umbrella, make sure that no person(s), item(s) or personal property are close to the umbrella. This is important to prevent injury or material damage.
- Do not allow children to play on or with umbrella or umbrella base.
- When adjusting or assembling the umbrella or umbrella base, make sure fingers, toes or any other parts of the body are clear from moving parts. Failing to do so many result in serious injury
WARRANTY
Treasure Garden warrants this product (for residential use ONLY) to be free from defects in original materials and workmanship for a period of 1 year from the date of purchase. If a defect in the original material or workmanship appears during the warranty period; Treasure Garden will (at its discretion) repair or replace the product without charge.
Simply contact your original authorized Treasure Garden dealer with a description of the defect. The dealer will verify the defect and work closely with Treasure Garden to obtain the necessary service.
In many cases, simple problems can be solved with a replacement part that can be shipped directly to the dealer for professional installation / repair.
There are no serviceable parts within this product. Tampering with or altering the product will void warranty.
In the event that warranted factory service is required, Treasure Garden will assume the responsibility of the return freight charges for the first year only.
Returned product that (upon receipt and inspection) is deemed to be “not covered” under our warranty, will be shipped / billed at your expense.
This warranty gives you specific legal rights, and you may have other rights which vary from state to state.
RUST: Rust is a natural part of the aging process of steel or iron based materials, and is therefore NOT considered a defect.
NOTE: Failure caused by unreasonable or abusive use, or failure caused by neglect of reasonable and necessary care are not covered by this warranty.
Additionally, acts of nature (including but not limited to wind, hurricanes, tornadoes, and storms) are not covered by this warranty
Customer Support
www.treasuregarden.com
©2021 Treasure Garden, Inc. – All Rights Reserved.
v.07.19.21


























