RC009B Backlit Panel
Instruction Manual
RC009B Backlit Panel

![]()
| Lumen (Im) | CCT(K) | P(W) | Engergy effciency claas of light source | L×W× H (mm) | kg | |
| MAZDA+ RC009B 34S/840 PSU W60L60 OC | 3400 | 4000 | 34 | E | 595x595x35 | 2 |
| MAZDA+ RC009B 34S/840 PSU W60L60 NOC | 3400 | 4000 | 34 | E | 595x595x34 | 1.7 |
| MAZDA+ RC009B 34S/840 PSD W60L60 OC | 3400 | 4000 | 34 | E | 595x595x35 | 2.2 |
| MAZDA+ RC009B 34S/840 PSU W30L120 OC | 3400 | 4000 | 34 | E | 1195x295x35 | 2.1 |
| MAZDA+ RC009B 34S/840 PSU W30L120 NOC | 3400 | 4000 | 34 | E | 1195x295x34 | 1.8 |
| MAZDA+ RC009B 34S/840 PSD W30L120 OC | 3400 | 4000 | 34 | E | 1195x295x35 | 2.3 |
Avallable as accessory 

PSD Touch & Dim
basic insulation between LV and control conductors 
The luminaire shall, under no circumstance, be with thermal insulation matting or similar mate
If the external flexible cable or cord of this lum it shall be exclusively replaced by the manufar agent or a similar qualified person in order to a
The light source contained in this luminaire shz the manufacturer or his service agent or a simil
Luminaire must not be used or stored in corros where hazardous materials such as sulphur. ch are present.
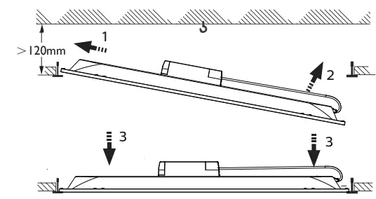
Visible Profile Ceiling mounting(VPC)
Install safety cable (Optional)

Suspension mounting (VPC)
Replace the bracket with the bracket in the suspension set.
Plaster Ceiling Version mounting (PCV)
Install safety cable (Optional)

Safety cable
safety cable included in the box.
This product contains a light source of energy efficiency class: see table or label.
The light source and/or control gear and/or the external flexible cable contained in this luminaire shall only be replaced by the manufacturer or his service agent or a similar qualified person.














