LANCOM SYSTEMS LANCOM OAP-830 Wireless Router

Mounting

Screw the connector flange b to the back of the housing with the four screws and their washers. When fastening the clamp profile c, please pay attention to tighten the screws equally with a maximum torque of 7 Nm!
Wall mounting
Use the mounting arm a as a template. Fix the mounting arm to the wall with the supplied screws and dowling plugs.

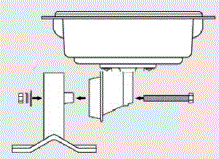
Pole mounting
Place the clamp profile around the pole. Screw the clamp profile onto the mounting arm with the supplied screws. Attach the access point with the connector flange b to the mounting arm a. Use the M8 x 110 bolt with spring locking washer, washer and nut.

The main beam direction of the integrated antenna can be adjusted by tilting the access point up or down by rotating the connection flange about the mounting arm. Installing access points and/or external antennas without adequate lightning protection can lead to serious damage to the devices and/or to the related network infrastructure
ETH 1, ETH 2 interfaces
The ETH 1 connector also supplies power to the device. Plug in the water-proof power cable to the ETH 1 port and carefully tighten the threaded connector. Connect the other end of the network cable to the ‚Power Out‘ connector of the supplied PoE injector. Connect the interface ETH 2 with a sealed Ethernet cable to your PC or a LAN switch.
Reset button (part of the LED block)
To restore the device to its default configuration, keep the reset button on the device pressed until the LEDs on the device go out. The following automatic restart restores the default configuration to the device.
Grounding
Screw one end of the green/yellow grounding wire to the housing and attach the other end to a suitable ground. PoE injector – h LAN-In / i Power-Out / g Power supply interfaces Using Ethernet cables, connect the ‚LAN-In‘ interface h of the provided PoE injector to a free socket of your local network and the ‚Power-Out‘ interface i to the ETH 1 interface of the access point. Supply power to the PoE injector g. Only use the supplied PoE Injector to supply power to this device. Particularly, do not connect the PoE Injector to non-PoE Ethernet devices!

Please observe the following when setting up the device
- The housing of the device may become warm during operation.
- If the device is operated with outside temperatures exceeding 60 °C, it should be mounted with protection against contact.
- When operating both Wi-Fi modules in the same frequency band, mutual interference cannot be ruled out.
Before initial startup, please make sure to take notice of the information regarding the intended use in the enclosed installation guide! Operate the device only with a professionally installed power supply at a nearby power socket that is freely accessible at all times.



The additional power LED statuses are displayed in 5-seconds rotation if the device is configured to be managed by the LANCOM Management Cloud.



















