LANCOM SYSTEMS LANCOM OW-602 Outdoor Access Points
Mounting
Wall mounting
Use the mounting plate ➀ as a drilling template to mark the drill holes in a sufficiently load-bearing wall.
After setting the dowels, align the mounting plate and then fasten it to the wall using the provided M6 screws.
Then position the access point in front of the mounting plate as shown in graphic ➁ and slide it down the guide. Then screw the locking screw from below through the mounting plate into the housing of the access point and tighten it.
Pole mounting
First screw the angle bracket ➂ to the access point housing using the provided screws. Note the positioning of the was-hers and lock washers directly under the screw head. Then position the angle bracket with the screwed-on access point on the mast, guide the bracket ➃ around the mast through the holes of the angle bracket and fasten it with the enclosed nuts after aligning the access point.
Ground connection (bottom of device)
Attach the enclosed grounding cable to the housing on one side with the enclosed M3 screw and to a suitable grounding conductor on the other side.
Antenna connectors 2.4 GHz
Screw the supplied 2.4 GHz antennas to the connectors labeled ‚2.4G‘ on the front and back of the device.
Ethernet interfaces LAN1 (PoE) / LAN2
The LAN1 (PoE) port supplies power to the device as well.
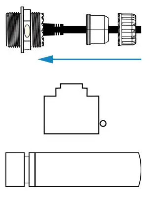
Prepare to mount the waterproof Ethernet cable by sliding the end cap A and then the clamp ring B over the Ethernet connector D on the cable as shown in the adjacent figure.
Then place the two seal halves C between plug D and clamp ring B on the cable and join them together. Next, insert plug D into LAN1 connector E on the device, carefully push all previously assembled parts towards plug D and screw the end cap A to LAN1 connector E on the device.
Outdoor cable diameter: 6.5 mm to 8.5 mm
Connect the other end of the network cable to the ‚Power-Out‘ port of a suitable PoE injector. If required, additionally connect the LAN2 interface to another network device via a waterproof Ethernet cable.
Reset button (accessible through the housing of the LAN2 socket)
To restore the default device configuration, use a suitable pointed object to carefully press the reset button in the device through the recess in the housing of the LAN2 socket until the LEDs on the side of the device go out. During the restart that now follows automatically, the device loads the default configuration.
Antenna connectors 5 GHz
Screw the supplied 5 GHz antennas to the connectors labeled ‚5G‘ on the front and back of the device.
- Before initial startup, please make sure to take notice of the information regarding the intended use in the enclosed installation guide!
- Operate the device only with a professionally installed power supply at a nearby power socket that is freely accessible at all times.
- Installing access points and/or external antennas without adequate lightning protection can lead to serious damage to the devices and/or to the related network infrastructure.



Please observe the following when setting up the device
- The housing of the device may become warm during operation.
- If the device is operated with outside temperatures exceeding 60 °C, it should be mounted with protection against contact.
- When using customized outdoor Ethernet cables, make sure that the cables have a short plug kink protection
The additional power LED statuses are displayed in 5-second rotation if the device is configured to be managed by the LANCOM Management Cloud. Hereby, LANCOM Systems GmbH | Adenauerstrasse 20/B2 | D-52146 Wuerselen, declares that this device is in compliance with Directives 2014/30/EU, 2014/53/EU, 2014/35/EU, 2011/65/EU, and Regulation (EC) No. 1907/2006. The full text of the EU Declaration of Conformity is available at the following Internet address: www.lancomsystems.com/doc






















