
Quick Installation Guide
Indoor/Outdoor Access Point
Setup with videos
Visit https://www.tp-link.com/support/setup-video/ or scan the QR code to search for the setup video of your product model.
[1] Overview
Package Contents

EAP Passive PoE Adapter (Mounting Bracket Included)
![]()
Power Cord M3×6 Screw (For Securing the Grounding Wire)

Installation Guide
Waterproof Kit

Spiral Cover Seal (For Unshielded Cable) Seal (For Shielded Cable)

Bracket O-Ring
Mounting Kit
![]()
Mounting Bracket (for EAP) M3×28 Plastic Wall Anchors (Qty.4)
![]()
M3×20 Self-tapping Screws (Qty.2) M3×16 Self-tapping Screws (Qty.2)
![]()
Pole Mounting Strap
Panel Layout

- RESET
- Ethernet Port LAN
- Grounding Terminal
SYS LED Explanation
| LED Status | Indication |
| Flashes green twice | Initialization is completed. |
| Solid green | The device is initializing or working properly. |
| Flashing yellow | System errors. RAM, Flash, Ethernet, WLAN or firmware may be malfunctioning. |
| Flashing yellow, green | Firmware update is in progress. Do not disconnect or power off the device. |
| Quickly flashing green | Locate the device. |
| Quickly flashing yellow, green | The device is being reset to its factory default settings. |
| Slowly flashing green | The device is in an isolated state. |
Passive PoE Adapter

- Power LED
- PoE Port
- LAN Port
[2] Lightning and ESD Protection
Before mounting the EAP, you should consider Lightning and ESD Protection to ensure safety.
Proper grounding is extremely important for outdoor devices. To reduce the damage of potential lightning and ESD attacks, connect the grounding terminal to grounding facilities using a proper grounding wire, which should meet the local installation requirements. You need to secure the grounding wire to the grounding terminal with the screw.

- EAP
- Ethernet Cable
- Grounded PoE Adapter
- Grounded 3-wire Power Outlet
[3] Hardware Installation
Mount the EAP
The EAP can be pole-mounted or wall-mounted. Follow the steps below for the appropriate installation.
Option 1: Pole Mounting
Step 1:
Lead the end of the pole mounting strap through the back of the EAP.

Step 2:
Position the EAP and wrap the pole mounting strap around the pole. Feed the end through the screw-block and tighten the strap until the EAP is secure.

Option 2: Wall Mounting
Step 1:
Place the mounting bracket (for EAP) in the right position. Mark two positions for the screw holes.
Drill two 6 mm holes for the screws at the marked positions.

Step 2:
Insert the plastic wall anchors into the 6 mm holes. Align the bracket (for EAP) to the plastic wall anchors and drive the self-tapping screws into the anchors through the bracket (for EAP).

Step 3:
Align the mounting tabs on the back of the EAP with the slot of the mounting bracket (for EAP). Push and slide the EAP downward until it locks into place.

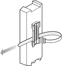
Connect the Cable
Note: It’s recommended that you scan the QR code and watch the installation video. If you have any trouble in this process, please follow the instructions below step by step.

- O-Ring
- Bracket
- Spiral Cover
- Seal
(1) Fit an Ethernet cable through the Spiral Cover, Bracket, and O-Ring, and connect the cable to the port.
(2) Fit the O-Ring to the head of the Bracket and screw the Bracket to the body of the device.
Note: Don’t warp the O-Ring.
(3) Fit the Ethernet cable through the Seal’s slit with the thicker side towards the Bracket, and plug the seal to the Bracket.
Note: Choose the proper Seal according to the type and diameter of the Ethernet cable.
(4) Screw the Spiral Cover to the Bracket.
Power On
The EAP can be powered via the provided passive PoE adapter or a PSE device (such as a PoE switch) which complies with LPS or PS2 standard.
Option 1: Via Passive PoE Adapter
Connecting the PoE Adapter
Connect the EAP to a Power over Ethernet (PoE) adapter as follows:

- Ethernet cable length up to 100 m
- PoE
- LAN
Mounting the PoE Adapter (Optional)
Note: To ensure the passive PoE adapter is attached most securely, it is recommended to install the adapter with the Ethernet port facing upward.
Step 1:
Remove the mounting bracket from the passive PoE Adapter.
Drill two holes on the wall and insert the plastic wall anchors into the the holes.
Secure the mounting bracket to the wall.
Make sure the shoulders at the corners of the mounting bracket are on the outside and pointing upward.

Step 2:
Attach the passive PoE adapter to the mounting bracket (for PoE Adapter) by sliding the adapter in the direction of the arrows until it locks into place.

Option 2: Via PoE Switch
Connect an Ethernet cable from the PoE switch to the Ethernet port. The PoE switch should comply with 802.3at.

- PoE Switch
[4] Software Configuration
Choose from the following methods to set up your EAPs:
- Method 1: Standalone Mode
To configure and manage EAPs separately (Convenient for a small network with only a few devices) - Method 2: Controller Mode
To configure and manage EAPs in batches on a central platform, namely Omada Controller.
Method 1: Standalone Mode

- Internet
- Router
- EAP
- Clients
Note:
- Before you start, be sure to power up and connect your devices according to the topology figure.
- A DHCP server (typically a router with DHCP function enabled) is required to assign IP addresses to the EAPs and clients in your local network.
Via Omada App
1. Download the TP-Link Omada App on your mobile device. It can be downloaded from App Store or Google Play:
or

Scan for Omada App Download Omada App
2. Connect your mobile device to the EAP by using the default SSID (format: TP-Link_2.4GHz/5GHz_XXXXXX) printed on the label at the bottom of the product.
3. Open the Omada App, and wait for the EAP to appear on the Standalone APs page. Tap on the EAP you want to configure.
The Omada App is designed to help you quickly configure the common settings. If you want to configure advanced settings, use the web page of your EAP or use Controller Mode.
Via Web Browser
- Connect wirelessly by using the default SSID (format: TP-Link_2.4GHz/5GHz_XXXXXX) printed on the label at the bottom of the product.
- Launch a web browser and enter http://tplinkeap.net in the address bar. Use admin for both Username and Password to log in.
- Set up a new Username and Password for secure management purpose. Modify the wireless parameters and reconnect your wireless devices to the new wireless network.
To configure other EAPs, connect your device to the EAP by the coresponding default SSID and repeat the steps listed above. You can configure some basic functions in Standalone Mode. If you want to configure advanced functions, use Controller Mode.
Method 2: Controller Mode
Choose from the following two types of Omada Controller:
- Type 1: Omada Software Controller
On a PC with Windows OS or Linux OS, download the Omada Software Controller from https://www.tp-link.com/support/download/omada-software-controller/. Then run the file and follow the wizard to install and launch the Omada Software Controller. To manage your devices, Omada Software Controller needs to keep running on your computer.

- Router
- Switch
- Omada Software Controller running on the Host PC
- EAP
- Clients
- Type 2: Omada Hardware Controller (OC200/OC300)
Omada Hardware Controller (OC200/OC300) is a good alternative if you have no spare PC to keep running Omada Software Controller in the network. It needs to be purchased additionally.
For more details, refer to the Installation Guide of OC200/OC300.

- Router
- Switch
- Omada Hardware Controller
(OC200/OC300) - EAP
- Clients
Note:
- Before you start, be sure to power up and connect your devices according to the topology figure.
- A DHCP server (typically a router with DHCP function enabled) is required to assign IP addresses to the EAPs and clients in your local network.
- Omada Controller must have network access to your Omada devices (the router, switch, and EAPs) in order to find, adopt, and manage them.
Via Omada App
1. Download the TP-Link Omada App on your mobile device. It can be downloaded from App Store or Google Play:
or

Scan for Omada App Download Omada App
2. Launch your Omada App and configure the controller at a local site or remote site.
- Local Management
a. Connect your mobile device to the EAP by using the default SSID (format: TP-Link_2.4GHz/5GHz_XXXXXX) printed on the label at the bottom of the product.
b. Launch Omada App and go to Local Access, tap the + button on the upper-right corner to add the controller. Then you can further configure the controller. - Remote Management
Note: Before you start, make sure that both your controller and mobile device can access the internet.
* For Omada Software Controller
a. Make sure that Cloud Access is enabled on your controller and your controller has been bound with your TP-Link ID.
b. Launch Omada App and log in with your TP-Link ID. Then go to Cloud Access. A list of controllers that have been bound with your TP-Link ID will appear. Then you can further configure the controller.
* For Omada Hardware Controller
a. Make sure that Cloud Access is enabled on your controller. By default, Cloud Access is enabled. Make sure that the Cloud LED is flashing slowly.
b. Launch Omada App and log in with your TP-Link ID. Then go to Cloud Access. Tap the + button on the upper-right to add your controller. Then you can further configure the controller.
Via Web Browser
- Open the Omada Controller’s web page.
* For Omada Software Controller
Launch the Omada Software Controller on your PC. After the initiation process, the controller automatically opens its web page. If not, click Launch a Browser to Manage the Network.
* For Omada Hardware Controller
As Omada Hardware Controller gets its IP address from the DHCP server of the router, we don’t know its IP address explicitly. However, we can find it out on the router’s DHCP client list.
a. You need first find the IP address of the router. Open the command line on your PC and enter ipconfig. In the result list, find the Default Gateway, which is also the IP address of the router.
b. Launch a web browser and enter the IP address of the router. Log into the router’s web page, and both the username and password are admin by default. Then go to Network > LAN > DHCP Client List to find the IP address of your controller according to its MAC address.
c. Enter the IP address of the your controller in the address bar to open its web page. - On the Omada Controller’s web page, follow the wizard to complete the quick setup.
- After the quick setup, the login page appears. Enter the username and password you have created and click Log in. Then you can further configure the controller.
- (For Remote Management) You can remotely access and manage your controller via Omada Cloud Service.
Note: Before you start, make sure that both your controller and your PC can access the internet.
* For Omada Software Controller
a. Make sure that Cloud Access is enabled on your controller and your controller has been bound with your TP-Link ID. On the Omada Controller’s web page, go to Settings > Cloud Access to enable Cloud Access and bind your TP-Link ID. If you have set it up in the quick setup, skip this step.
b. Launch a web browser and enter https://omada.tplinkcloud.com in the address bar. Enter your TP-Link ID and password to log in. A list of controllers that have been bound with your TP-Link ID will appear. Then you can click Launch to further configure the controller.
* For Omada Hardware Controller
a. Make sure that Cloud Access is enabled on your controller. By default, Cloud Access is enabled. Make sure that the Cloud LED is flashing slowly.
b. Launch a web browser and enter https://omada.tplinkcloud.com in the address bar. Enter your TP-Link ID and password to log in. Click + Add Controller and choose Hardware Controller to add your controller. Then you can further configure the controller.
For detailed configurations, please visit https://www.tp-link.com/support to download the User Guide of EAP in the download center.
To ask questions, find answers, and communicate with TP-Link users or engineers, please visit https://community.tp-link.com to join TP-Link Community.
For technical support, the user guide and other information, please visit https://www.tp-link.com/support, or simply scan the QR code.
If you have any suggestions or needs on the product guides, welcome to email [email protected].
Attention: In EU member states, EFTA countries and Northern Ireland, the operation in the frequency range 5150MHz-5350MHz is only permitted indoors.
Attention: In Great Britain, the operation in the frequency range 5150MHz – 5350MHz is only permitted indoors.
For EAP Controller, go to Access Point page and select the desired EAP to specify the channel. For web browser, go to Wireless > Wireless Settings to specify the channel.
![]() | AT | BE | BG | CH | CY | CZ | DE | DK |
| EE | EL | ES | FI | FR | HR | HU | IE | |
IS | IT | LI | LT | LU | LV | MT | NL | |
| NO | PL | PT | RO | SE | SI | SK | UK(NI) |
![]() | UK |

Safety Information
- Keep the device away from fire or hot environments. DO NOT immerse in water or any other liquid.
- Do not attempt to disassemble, repair, or modify the device. If you need service, please contact us.
- Do not use the device where wireless devices are not allowed.
- Do not use any other chargers than those recommended.
- Adapter shall be installed near the equipment and shall be easily accessible.
- Use only power supplies which are provided by manufacturer and in the original packing of this product. If you have any questions, please don’t hesitate to contact us.
- Operating Temperature: -30°C-60°C (-22°F-140°F). Operating Humidity: 10%-90%RH, Non-condensing.
- Storage Temperature: -40°C-70°C (-40°F-158°F). Storage Humidity: 5%-90%RH, Non-condensing.
The products of TP-Link partly contain software code developed by third parties, including software code subject to the GNU General Public License (“GPL”). As applicable, the terms of the GPL and any information on obtaining access to the respective GPL Code used in TP-Link products are available to you in GPL-Code-Centre under (https://www.tp-link.com/en/support/gpl/). The respective programs are distributed WITHOUT ANY WARRANTY and are subject to the copyrights of one or more authors. For details, see the GPL Code and other terms of the GPL.






















