Quick Installation Guide
802.11AC Indoor/Outdoor Wi-Fi Access Point
iUAP-AC-M
The Quick Installation Guide walks you through installation and how to perform first-time configurations. For product or function details, please go to www.ip-com.com.cn
Package contents

Get to know your device
LED indicator
| LED indicator | Status | Description |
| SYS | Solid on | The system is starting up or is abnormal. |
| Blinking | The system is normal. | |
| Off | The device is not powered on or the LED indicator is turned off. |
Port/button
| Port/Button | Description |
| GND | GND terminal. Used for ESD and lightning protection. Use a grounding cord and the included grounding screw to connect this GND terminal to the earth. |
| Reset | Reset button. When the SYS LED indicator blinks, hold down this button for about 8 seconds, and then release it. When the SYS LED indicator lights solid on, the device is restored to factory settings. |
| PoE/LAN | It is a Gigabit PoE port used to supply power or transmit data. Use the included PoE adapter or a PoE switch compliant with IEEE 802.3af/at to supply power to the device. CAT5e or better Ethernet cables are recommended, and the power-supply distance for the switch is 100 meters and 50 meters for the PoE adapter. |
Attach antennas
Tips.
The included antennas are used as an example here for illustration. You can also purchase dual-band antennas (Connector: RP-SMA-male) to install on your own. For outdoor installation, weather-resistant antennas are recommended.
- Remove and discard the two black caps. Ensure the rubber gaskets remain in place.
- Connect the antennas to the SMA connectors.

Tips: To achieve optimal performance, it is recommended that you position the antennas at 45-degree angles.
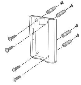
Install the device
Tips.
To mount the AP on a wall, prepare the included Wi-Fi access point, wall-mounted bracket (on the AP), plastic anchors, screws, and anti-theft screw. You may need a marker, a hammer drill, a 3 mm drill bit, a rubber hammer, and a screwd over for the installation. Please prepare them yourself.
Option 1 Wall mounting
- Place the wall-mounted bracket at the target spot on the wall for installation, as shown in the following figure.
- Ensure that the bracket is placed 90 degrees vertical to the ground and mark four holes.
- Drill out the holes to a depth of 25 to 30 mm using a 3 mm drill bit.
- Use a rubber hammer to knock the four plastic anchors (Length: 26.4 mm; Diameter: 2.4 mm) into the holes one by one.
- Secure the wall-mounted bracket on the wall by using the four screws (Length: 12 mm; Diameter: 3 mm).

- Attach the AP to the wall-mounted bracket by sliding the mounting tabs to the bottom of the slots.
- Fix the anti-theft screw (Length: 12 mm; Diameter: 3 mm; Weld nut diameter: 12 mm) to the anti-theft hole.

Option 2 Pole mounting
Tips.
To mount the AP on a pole, prepare the included Wi-Fi access point and plastic straps.
- Slide the wall-mounted bracket down to remove it from the AP. Put the bracket away and keep it well. You may need it should you change to the wall mounting option.
- Use the plastic strap to secure the AP onto the pole.

Lightning and ESD protection
Connect the GND terminal of the AP to a grounding terminal connected to the earth or building to protect the AP from over voltage and overcurrent caused by lightning and ESD.
- Connect one side of a grounding cord to the included grounding screw (Length: 6 mm; Diameter: 3 mm).
- Connect the grounding screw to the GND terminal of the AP, and tighten it.
- Remove the cable grommet and then replace the port cover.
- Connect the other side of the grounding cord to the grounding terminal connected to the earth or building.

Power the AP
Option 1 Connect to a PoE adapter
- Connect the AP to the PoE port of the PoE adapter with an Ethernet cable.
- (Optional for wired connection) Connect an Ethernet cable from your LAN to the LAN port of the PoE adapter.
- Connect the power cord to the adapter and then plug the power cord into a power source.

Option 2 Connect to a PoE switch
Connect an Ethernet cable directly from the AP to a PoE port on a PoE switch compliant with IEEE 802.3af/at. The switch will automatically supply power to the AR
Configure your APs
You can configure the AP through the web UI of the AR iUniFi Controller, or the IMS platform. This chapter mainly describes the configuration methods of using the web UI and the iUniFi Controller. For details about the IMS platform configuration method, refer to the user guides of target products.
Scenario 1:Through the iUniFi Controller
The network topology diagram for configuration through the iUniFi Controller is shown below. For details about how to configure APs through the iUniFi Controller, refer to its user guide.

Scenario 2:Through the Web UI of the AP
- Connect devices
Connect the management computer to the switch to which the AP has connected. For details about how to connect other devices, see the following figure.
Tips: Connect and configure your APs one by one. That is to say, connect one AP to your switch and configure it. When you finish, connect the second AP and repeat steps 4 and 5. - Configure the IP address of the management computer (Example: Win 10)
On the computer desktop, click Start
, Settings
> Change adapter options. Right-click Ethernet, click Properties, and double-click Internet Protocol Version 4 (TCP/IPv4). Choose to Use the following IP address, set the IP address to 192.168.0.X (X ranges from 2 to 253 and is not occupied by other devices) and Subnet mask to 255.255.255.0, and save the configurations.
- Log in to the web UI of the AP
Start a web browser on the management computer, and access 192.168.0.254. Follow the on-screen instructions for login.
Tips. If you cannot log in to the web UI of the AR refer to Q1 in FAQ. - Modify the SSID and password
Choose Quick Setup, configure the SSID (WiFi name), Security Mode (WPA2-PSK is recommended), Key, and click Save. Then select 5GHz from the Radio Band drop-down list and repeat the above operations.
- Modify the IP address of the AP
Choose Internet Settings > LAN Setup. Modify the IP address of the AP to 192.168.0.X(X: 2 to 253), and ensure that the new IP address has not been occupied in this network, then click Save.
Example:
You can set the new IP address of the first AP to 192.168.0.201, and the new IP address of the second AP to 192.168.0.202.
Done. WiFi name: The SSID you set in step 4 Modify the SSID and password. WiFi password: The Key you set in step 4 Modify the SSID and password.
(Optional) AP wireless bridge
Tips. If you want to connect an AP to a network in a wireless manner, please refer to this chapter. The AP supports a wireless bridge under only one radio band at a time. Please select 2.4 GHz or 5 GHz as required. This chapter uses 2.4 GHz as an example for illustration.
- Connect devices
Connect the management computer to AP2. For details about how to connect other devices, see the following figure.
- Configure the IP address of the management computer & log in to the web UI of AP2
Refer to steps 2 to 3 in Scenario 2: Through the Web UI of the AP in Configure your APs. - Configure AP2
Set the Working Mode of AP2 to Client+AP, and click Scan.
Select the wireless network of AP1 and its SSID, Security Mode, and Encryption Algorithm is filled in automatically, which are IP-COM_123456, WPA2-PSK, and AES in this example. Enter the Key for the wireless network of AP1, and click Save.
- Check the bridge status
Choose Tools, click Diagnostic Tool, and ping the IP address of AP1. If the IP address can be pinged, the bridge is successful. Otherwise, refer to Q3 in FAQ.
FAQ
Qt. What should I do if I cannot access the web UI of the AP after entering 192.168.0.254?
A1. Try the following solutions:
- Check if your Ethernet cables are connected properly. If yes, the SYS LED indicator lights up.
- Ensure that the IP address of your computer has been set to 192.168.0. X(X: 2 to 253), and the IP address is not occupied by any other devices in the network.
- Clear the cache of your web browser, or replace the web browser.
- Disable the firewall of your computer, or replace the computer.
- If two or more AFs are connected in the network without the iUniFi Controller or IMS platform, you should leave only one AP in the network first and configure the AP’s IP address. Then repeat this procedure to change the IP addresses of the other AN. Meanwhile, ensure that the APs’ new IP addresses are in the same network segment as the IP address of the management computer. Then try logging in to the APs’ web UI using their new IP addresses.
- The AP may be managed by IUMFIController or IMS platform and therefore Its IP address is no longer 192.168.0.254. In this case, go to the web UI of the iUniFi Controller or IMS platform to view the new IP address of the Al’, and then log in to the AP’s web UI using the new IP address.
- If the problem persists, reset the Al’.
Q2. How to reset my AP?
A2. Option 1: Reset using the Reset button When the SYS LED indicator of the AP blinks, hold down the Reset button for about 8 seconds. The AP Is reset successfully when the SYS LED Indicator lights are solid on.
Option 2: Reset using the web UI Log in to the web UI of the AR choose Tools > Maintenance, and navigate to the Reset section, then follow the on-screen instruction to reset it. Note: Resetting clears all configurations of your AP.
Q3. What should I do if the AP wireless bridge failed?
A3. Try the following solutions:
- Verify that the Key for the wireless network of the uplink device (API in this guide) is correct.
- Check whether the signal of the wireless network of the uplink device (API in this guide) is too weak. If so, move the local AP (AP2 in this guide) closer to the uplink device (API in this guide).
CE Mark Warning
This is a Classi3 product. In a domestic environment, this product may cause radio interference, in which case the user may be required to take adequate measures.
The mains plug is used as a disconnect device, the disconnect device shall remain readily operable.
NOTE: (1) The manufacturer is not responsible for any radio at)/ interference caused by unauthorized modifications to this equipment. (2)To avoid unnecessary radiation interference, It Is recommended to use a shielded 1045 cable.
RECYCLING
This product bears the selective sorting symbol for waste electrical and electronic equipment (WEEE). This means that this product must be handled pursuant to European directive 2012/19/EU in order to be recycled or dismantled to minimize its impact on the environment.
The user has the choice to give his product to a competent recycling organization or to the retailer when he buys new electrical or electronic equipment.
Declaration of Konfonnity
Hereby, SHENZHEN IP-COM Networks Co., Ltd. declares that the radio equipment type IUAP-AC-M is in compliance with Directive 2014/53/EU. The full text of the EU declaration of conformity is available at the following Internet address: http://ip-com.com.cn/en/ce.htm
Operating Frequency:
2AGHz: EU/2400-2483.5MHz (CH1-CH13) 5GHREU/5150-5250MHz(CH36-CH4S)
BIRO Power : 2.46Hz: e20c18m
5GHt <23dBm
Software Version: V1.0.0.3
Operating temperature -30°C -50°C
Operating humidity: (10% – 90%) RH, non-condensing
Caution:
Adapter ModektIN060412024
Manufacturer: SHENZHEN HEWEISHUN NETWORK TECHNOLOGY CO. LTD.
Input 100- 240V AC, 50/60Hz 03A
Output 24V DC, OSA
: DCVoltage
FCC Statement
This equipment has been tested and found to comply with the limits for a Class B digital device, pursuant to Part 15 of the KC Rules.11wse limits are designed to provide reasonable connection against harmful Interference In residential InstallationThis equipment generates, uses, and can radiate radio frequency energy and, if not installed and used in accordance with the instructions, may cause harmful interference to radio communications. However, there is no guarantee that interference WA I do not occur In a particular Installation. If this equipment does cause harmful interference to radio or television reception, which can be determined by turning the equipment off and on the user is encouraged to try to correct the interference by one or more of the following measures:
— Reorient or relocate the receiving antenna.
— increase the separation between the equipment and receiver.
—Connect the equipment into an outlet on a &cult different from that to which the receiver is connected.
—Consult the dealer or an experienced radio/TS/technician for help.
Operation is subject to the following two conditions: (1) this device may not cause harmful interference. and (2) this device must accept any interference received including interference that may cause undesired operation.
Radiation Exposure Statement
This devicecompliesWM the FCC radiation exposure limits set forth for an uncontrolled environment and it also complies with Part 15 of the FCC RF Rules. This equipment should be installed and operated with a minimum distance of 20cm between the device and your body.
Caution:
Any dungeons or modifications not expressly approved by the party responsible for compliance could void the user’s authority to operate this equipment.
This transmitter must not be co-located or operating In conjunction with any other antenna or transmitter.
Operating frequency: 2412-2462MHz, 5150-5250MHZ 5725-5850MHz
NOTE:
- The manufacturer is not responsible for any radio or TV interference caused by unauthorized modifications to this equipment.
- To avoid unnecessary radiation interference, It Is recommended to use a shielded 8145 cable.
For EU/EFTA, this product can be used in the fo owing countries:
| BE | BG | CZ | DK | DE | EE | IE | EL | ES | FR | HR | IT | CY | LV | |
| LT | LU | HU | MT | NL | AT | PL | PT | RO | SI | 5K | Fl | SE | UK |
Address: Room 101, Unit A, First Floor, Tower E3, NO.1001, Zhongshanyuan Road, Nanshan District, Shenzhen, China. 518052 Tel: (86755) 2765 3089
Email: [email protected]
Website: www.ip-com.com.cn
Copyright
© 2020 IP-COM Networks Ca, Ltd. All rights reserved. This documentation (including pictures, images, and product specifications, etc.) is for reference only. To improve internal design, operational function, and/or reliability, IP-COM reserves the right to make changes to the products described in this document without the obligation to notify any person or organization of such revisions or changes.























