WAP581 Indoor Access Point
User Manual
WAP581
Version 1.0
Installation
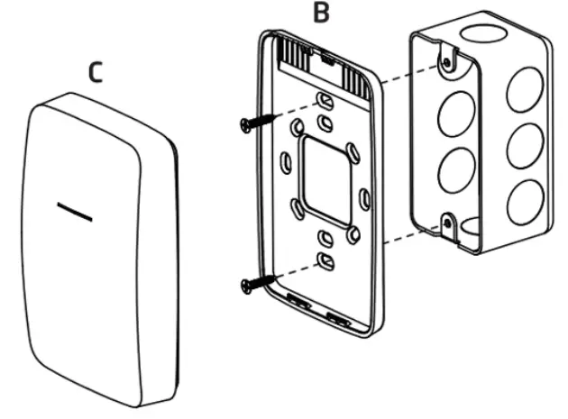
Mounting the Indoor Access point
To attach the Access Point on a wall (with junction box) by using the junction plate (short):
A) Remove the cover from the wall plate of junction box.
B) Align the junction plate (short) to the wall plate and affix the junction plate (short) to outlet box by using the original cover screws.
C) Place the Access Point onto the junction plate (short) and make it to be buckled.
To attach the Access Point on a wall by using the junction plate (tall) with anchors:
A) Determined where the Access Point to be placed and mark location on the surface for the two mounting holes.
B) Use the appropriate drill bit to drill two 6.5mm diagram and 35mm depth holes in the markings.
C) Then attaching the junction plate (tall) on the ceiling and hamming the bolts into the openings.
D) Screw the anchors unto the holes until they are flush with the hall; screw the included screws into the anchors.
E) Place the Access Point against the wall with junction plate (tall). 
Chapter1 Product Overview
Introduction
Key Features
The 802.11ax high performance Access Point with MU-MIMO and OFDMA technology for high-density use on multiple applications
Emplus Wireless Access Point solution is designed for versatile outdoor applications. To meet various requirements for different networking environment, Emplus provides the most flexible and effective solutions as your expectations.
The state-of-the-art 802.11ax and MU-MIMO technology brings high performance on connecting speed and bandwidth.
WAP581 equips with two powerful RF interfaces which support up to 2402Mbps in 5GHz frequency band and 573Mbps in 2.4GHz frequency band.
Physical Interface (WAP581)
Physical & Environment
| Power Source | DC Input: 12 VDC/1.5A PoE: compatible with 802.3af/at or Passive PoE |
| Internal High Gain Antenna (Peak Gain) | “4.7dBi 2.4GHz antennas “7dBi 5GHz antennas |
| Interface | 2 x 10/100/1000Mbps Ethernet Port with 802.3af/at PoE 1 x 10/100/1000Mbps Ethernet Port with Passive PoE supported (available only with PoE 802.3at or Passive PoE power source) 1 x reset button lx DC IN |
| Dimensions (W x D x H) | 140x90x44 mm |
| Mounting | Wall mount |
| Environment | Operating temperature: -0°C-40°C Operating humidity: 0%-90% typical |
| Technical Specifications | Storage temperature: -20°C-70°C |
*This equipment is only to be connected to PoE networks without routing to outside plants.
Applications
Wireless LAN (WLAN) products are easy to install and highly efficient. The following list describes some of the many applications made possible through the power and flexibility ofWLANs:
- Difficult-to-Wire Environments: There are many situations where wires cannot be installed, deployed easily, or cannot be hidden from view. Older buildings, sites with multiple buildings, and/or areas that make the installation of a Ethernet-based LAN impossible, impractical or expensive are sites where WLAN can be a network solution.
- Temporary Workgroups: Create temporary workgroups/networks in more open areas within a building; auditoriums, amphitheaters classrooms, ballrooms, arenas, exhibition centers, or temporary offices where one wants either a permanent or temporary Wireless LAN established.
- The Ability to Access Real-Time Information: Doctors/Nurses, Point-of-Sale Employees, and/or Warehouse Workers can access real-time information while dealing with patients, serving customers, and/or processing information.
- Frequently Changing Environments: Set up networks in environments that change frequently (i.e.: Show Rooms, Exhibits, etc.).
- Small Office and Home Office (SOHO) Networks: SOHO users require a cost-effective, easy, and quick installation of a small network.
- Training/Educational Facilities: Training sites at corporations or students at universities use wireless connectivity to exchange information between peers and easily access information for learning purposes.
Chapter2 Before You Begin
Computer Settings
Windows XP/Windows 7/Windows 8/Windows 10
In order to use the Access Point, you must first configure the TCP/IPv4connectionofyourWindowsOScomputersystem. 1a.Click the Start button and open the Control panel
1b. Move your mouse to the lower right hot corner to display the Charms Bar and select the Control Panel in Windows 8OS.
1c. In Windows10, click Start to select All APP stoenter the folder of Windows system for selecting Control Panel.
2a. In Windows XP, click Network Connections.
2b.In Windows7/Windows8/Windows10, click View Network Status and Tasks in the Network and Internetsection, then select Change adapter settings.
3. Right click on Local Area Connection and select Properties.
4. Select Internet Protocol Version 4 (TCP/IPv4) and then select Properties.
5. Select Use the following IP address and enter an IP address that is different from the Access Point and Subnet mask, then click OK.
Note: Ensurethatth eIPaddressandSubnetmaskare on the same subnet as the device.
For example: WAP581 IP address: 192.168.1.1
PC IP address: 192.168.1.2–192.168.1.255
PC Subnet mask: 255.255.255.0
Apple Mac OSX
- Go to System Preferences (Which can be opened in the Applications folder or selecting it in the Apple Menu).
- Select Network in the Internet & Network section.

- HighlightEthernet.
- In Configure IPv4, select Manually.
- Enter an IP address that is different from the Access Point and Subnet mask then press OK.
Note: Ensure that the IP address and Subnet mask are on the same subnet as the device.
For example: A device IP address: 192.168.1.1 PCIPaddress:
192.168.1.2–192.168.1.255
PCSubnetmask:255.255.255.0 - Click Apply when done.

Chapter 3 Configuring Your Access Point
ConfiguringYourAccessPoint
This section will show you how to configure the device using the web-based configuration interface.
Default Settings
Please use your Ethernet port or wireless network adapter to connect the Access Point.
| IP Address | 192.168.1.1 |
| Username / Password | none |
Web Configuration
- Open a web browser (Internet Explorer/Firefox/Safari/Chrome) and enter the IP Address http://192.168.1.1
Note: If you have changed the default LAN IP Address of
The Access Point, ensure you enter the correct IP Address. - The default username and password are admin. Once you have entered the correct user name and password, click the Login button to open the web-base configuration page.
* The model name will be varied by different models. - If successful, you will be logged in and see the User Menu of this Access Point.
Appendix A – FCC Interference Statement
Federal Communication Commission Interference Statement
This equipment has been tested and found to comply with the limits for a Class B digital device, pursuant to Part 15 of the FCC Rules. These limits are designed to provide reasonable protection against harmful interference in a residential installation. This equipment generates, uses and can radiate radio frequency energy and, if not installed and used in accordance with the instructions, may cause harmful interference to radio communications. However, there is no guarantee that interference will not occur in a particular installation. If this equipment does cause harmful interference to radio or television reception, which can be determined by turning the equipment off and on, the user is encouraged to try to correct the interference by one of the following measures:
– Reorient or relocate the receiving antenna.
– Increase the separation between the equipment and receiver.
– Connect the equipment into an outlet on a circuit different from that to which the receiver is connected.
– Consult the dealer or an experienced radio/TV technician for help.
FCC Caution:
Any changes or modifications not expressly approved by the party responsible for compliance could void the user’s authority to operate this equipment.
This device complies with Part 15 of the FCC Rules. Operation is subject to the following two conditions: (1) This device may not cause harmful interference, and (2) this device must accept any interference received, including interference that may cause undesired operation.
IMPORTANT NOTE:
Radiation Exposure Statement:
This equipment complies with FCC radiation exposure limits set forth for an uncontrolled environment. This equipment should be installed and operated with minimum distance 20cm between the radiator & your body.
This transmitter must not be co-located or operating in conjunction with any other antenna or transmitter.
Country Code selection feature to be disabled for products marketed to the US/CANADA
Operation of this device is restricted to indoor use only
Appendix B – CE Interference Statement
Europe – EU Declaration of Conformity
This device complies with the essential requirements of the Radio Equipment directive: 2014 / 53 / EU. The following test methods have been applied in order to prove presumption of conformity with the essential requirements of the Radio Equipment directive: 2014 / 53 / EU:
EN 55032 2015/A1:2020
EN 55035 2017+A11:2020
EN 300 328 V2.2.2
EN 301 893 V2.1.1
EN 301 489-1 V2.2.3
EN 301 489-17 V3.2.4
EN IEC 62311:2020
EN 62368-1:2014 +A11 :2017
The frequency and the maximum transmitted power in EU are listed below: 2412-2472MHz: 17dBm
5150-5250 & 5725-5850MHz: 18dBm
RF exposure statement
MPE
The minimum distance between the user and/or any bystander and the radiating structure of the transmitter is 20cm.
SAR
This product complies with EU requirements regarding restriction of exposure of persons to radio-frequency energy (RF) emitted by telecommunication and radio devices as it is designed and manufactured in such a way as not to exceed the exposure limits indicated by the European Union Commission. The permitted SAR limit for the general population is 2.0 W/Kg. This limit guarantees an ample safety margin that protects all persons regardless of age and health condition.
5150 ~ 5350 MHz is limited to indoor used in below countries.
| AT | BE | BG | HR | CY | CZ | DK | |
| EE | Fl | FR | DE | EL | HU | IE | |
| IT | LV | LT | LU | MT | NL | PL | |
| PT | RO | SK | SI | ES | SE | UK |
![]()



Note: If you have changed the default LAN IP Address of
* The model name will be varied by different models.















