Extreme networks AP4000 Wireless Indoor Access Points

ExtremeWireless 802.11ax AP4000 and AP4000U Indoor Access Points
AP4000 and AP4000U Overview
The AP4000 and AP4000 access points are high-performance 802.11ax Wi-Fi 6E, 6 GHz, 5 GHz band, and 2.4 GHz band access points designed for high-density indoor environments. The access points support IEEE 802.11ax Orthogonal Frequency-Division Multiple Access (OFDMA) multi-user access. The access point can be installed on an indoor environment such as a ceiling rail, on non-standard ceilings, and on a wall.
The AP4000 and AP4000 access points have the following features:
- One multicolor LED status light For LED activity description, see “Status LED Activity Description”
- One light sensor located at the top of the device
- Two Ethernet ports – Eth0 and Eth1 Ethernet ports (Eth0 and Eth1) automatically negotiate half- and full-duplex connections with the connecting device.
- Eth0 is 100/1000/2500 Mbps auto-negotiation Ethernet port, RJ45 Power over Ethernet (PoE) at 802.3at Eth1 is 10/100/1000 Mbps auto-negotiation Ethernet port, RJ45
- These ports are auto-sensing and adjust to straight-through and crossover standard Cat5e or better Ethernet cables automatically. The access point receives power through an Ethernet connection to the ETH0 port from power sourcing equipment (PSE) that is compatible with the 802.3at and 802.3at standards.
- One USB port
Use the USB port to connect USB-based beacons such as iBeacon and Internet of Things (IoT) devices. Remove the screw that secures the protective cover to access the USB port. - One micro USB console port
- One reset button
- One Kensington lock
The best practice is to use Kensington locks for locking the device. - Temperature:
- – Operating temperature: 0 °C to +50 °C (+32 °F to +122 °F)
- Storage temperature: -40 °C to +70 °C (-40 °F to +158 °F)
- Relative humidity: 0% to 95% non-condensing
Power Specifications
- IEEE 802.3at PoE Power
- Ultra-wideband (UWB) support on AP4000
Power Options
- Power Draw:
- Typical: 13.0 W; Max: 14.5 W (without USB)
- Typical: 15.8 W; Max: 17.3 W (with USB)
- 802.3at PoE capable
- Gigabit Ethernet port (RJ45 power input pins: Wires 4,5,7,8 or 1,2,3,6) For detailed device and radio specifications, refer to the AP4000 Data Sheet.
Figure 1 AP4000 and AP4000U access points hardware components

Callout Description
- Eth1
- ETH0/PoE+
- Console port
- USB port
- Reset button
- Security Kensington lock
Status LED Activity Description
The AP4000 and AP4000 access points have one status light on top of the chassis. The status light conveys operational states for system power, firmware updates, Ethernet and wireless interface activity, and major alarms.
- Steady white: The device has successfully established a Control And Provisioning of Wireless Access Points (CAPWAP) connection to Extreme Cloud IQ and is operating normally.
- Slow-blinking white: The device has a CAPWAP connection to Extreme Cloud IQ, but is operating on 802.3af power instead of 802.3at power.
- Steady amber: The device is initializing, rebooting, or is running without a CAPWAP connection.
- Slow-blinking amber: The device has no CAPWAP connection to Extreme Cloud IQ, and is operating on 802.3af power instead of 802.3at power.
- Fast-blinking amber: The device is upgrading it’s IQ Engine firmware.
- Dark: power is off.
Micro USB Console Port
Through the console port, you can make a serial connection between your management system and the access point.
Note: When you connect to the device using the micro USB Console port, the management station from which you connect to the device must have a VT100 emulation program, such as Tera Term Pro© (a free terminal emulator) or Hillgrove HyperTerminal® (provided with Windows operating systems from XP forward).
Quantity Item
- An AP4000 or AP4000 access point
- Mounting bracket for prelude T-bar ceiling installation (part number AHACC-
BKT-AX-TB) - Quick Reference Guide
All optional brackets and accessories are sold separately. For detailed installation instructions about all mounting procedures, refer to the Extreme Wireless AP4000 Access Point Installation Guide and the 802.11ax and Cloud Access Points Accessories Guide in the Extreme Networks Documentation Support site.
Position the Access Point before Installation
There is a red dot on the back of the access point and the bracket that will work as a guide to position the access point for installation. Line up the red dot on the access point and the bracket for ease of installation.
Install the Access Point
Electrical Hazard: Only qualified personnel must perform installation procedures.
Use these instructions as guidelines for mounting and connecting the AP4000 or the AP4000U access point easily and safely.
Install the Access Point on a Standard Ceiling Rail
The AP4000 and AP4000U access points ship with a mounting bracket for standard 15/ 16 in. dropped ceiling grid. For non-standard ceiling rail installations, see “Install the Access Point on a Non-Standard Ceiling Grid or a Wall” .
- Remove the ceiling tiles.
- Align the accessory on the ceiling rail in such a way that the accessory metal hinges are almost parallel to the sides of the ceiling rail.
- Rotate the accessory clockwise until the metal hinges hook over the edge of the rail and the white tabs click in place.
Note: There are two white tabs in the back of the accessory that holds on to the ceiling rail in place. Use your finger to push and unhook one side of the white tab if you want to remove the accessory from the ceiling rail.
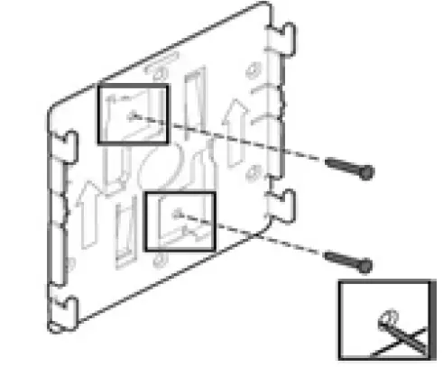
Figure 2 AH-ACC-BKT-AX-TB bracket
Table 3 AH-ACC-BKT-AX-TB bracket parts description
Callout Description
- Metal hinges on the AH-ACC-BKT-AX-TB bracket
- Mounting holes for wall mounting
- White tab on the AH-ACC-BKT-AX-TB bracket
Attach the Ethernet port cap to the access point Ethernet port. For more information about Ethernet cap, refer to Ethernet Cap Accessory Information on the 802.11ax and Cloud Access Points Accessories Guide.
Align the red dot on the back of the access point against the bracket red dot.
Note: The accessory has a circular tip that fits into the circular depression on the back of the access point.
Press and rotate the access point 1/8th turn clockwise until it clicks into place on the accessory.
Figure 3 AP4000 or AP4000U access point ceiling install
7 Attach the Cat6 RJ45 cable to the ETH0 or ETH1 port.
8 Place the cable cover over the Ethernet cable.
9 Replace the ceiling tiles.
Install the Access Point on a Non-Standard Ceiling Grid or a Wall
For detailed non-standard ceiling grid installation or wall installation instructions, refer to the 802.11ax and Cloud Access Points Accessories Guide.
The access point can be installed on a non-standard ceiling grid using the following accessories:
Table 4 Non-standard ceiling grid and wall accessories information
Bracket part number Description
AH-ACC-BKT-AX-TB
Mounting bracket for prelude 15/16 in.

AH-ACC-BKT-AX-IL
Mounting bracket for interlude ceilings and superfine 9/16 in. ceilings and walls
AH-ACC-BKT-AX-SL
Mounting bracket for silhouette 1/8 in. and silhouette 1/4 in. ceiling grids
ACC-BKT-AX-JB
Junction box or wall mounting for indoor access points
ACC-BKT-AX-BEAM
Beam mounting for indoor access points
AH-ACC-BKT-AX-WL
Mounting bracket for direct-to-wall installations
AH-ACC-BKT-916-KIT
9/16 in. ceiling mount brackets for non-flat and protruded ceiling tiles. Use with AH-ACC-BKT-AXTB
ACC-BKT-TB-NF
Adapter bracket AH-ACC-BKT-TB for 15/16 in. wide T-Bars non-flat or protruded ceiling tiles
ACC-BKT-AX-WNGADAPT
Adapter bracket for using cloud access point with Wing mounting plate (#37201)
Note: The default bracket for wall installation is the ACC-BKT-AX-JB bracket. Order the -JB bracket for new wall installations. The AH-ACC-BKT-AX-WL bracket is for users who already have the -WL brackets.
Lock the Access Point after Installation
Secure the access point by using the Kensington lock on the side of the access point. The security feature is used to prevent the access point from being removed from the mounting accessory.
Antenna Information
The access points have internal antennas.
- 2 Dual-band 2.4G/5G antenna
- 2 6G band antenna
- 2 scanning 2.4G/5G/6G antenna
- 1 BLE antenna
- 1 UWB antenna (for AP4000 only)
Professional Installation Instruction
Installation personnel
This product is designed for specific application and needs to be installed by a qualified personnel who has RF and related rule knowledge. The general user shall not attempt to install or change the setting.
Installation procedure
Refer to the ExtremeWireless AP4000 Access Point Installation Guide.
Warning: Select the installation position and ensure that the final output power does not exceed the limit set forth in relevant rules. The violation of the rule could lead to serious federal penalty.
Regulatory and Compliance Information Safety Guidelines
This section contains notices that are intended to protect your personal safety and to prevent damage to the equipment.
Qualified Personnel:
Electrical Hazard: Only qualified personnel must perform installation procedures. Within the context of the safety notes in this documentation, qualified persons are defined as persons who are authorized to commission grounding devices, systems, and circuits in accordance with established safety practices and standards. A qualified person understands the requirements and risks involved with installing outdoor electrical equipment in accordance with national codes.
Federal Communication Commission Interference Statement
FCC regulations restrict the operation of this device to indoor use only.
This equipment has been tested and found to comply with the limits for a Class B digital device, pursuant to Part 15 of the FCC Rules. These limits are designed to provide reasonable protection against harmful interference in a residential installation. This equipment generates, uses and can radiate radio frequency energy and, if not installed and used in accordance with the instructions, may cause harmful interference to radio communications. However, there is no guarantee that interference will not occur in a particular installation. If this equipment does cause harmful interference to radio or television reception, which can be determined by turning the equipment off and on, the user is encouraged to try to correct the interference by one of the following measures:
- Reorient or relocate the receiving antenna
- Increase the separation between the equipment and receiver
- Connect the equipment into an outlet on a circuit different from that to which the receiver is connected
- Consult the dealer or an experienced radio or TV technician for help
Caution: Any changes or modifications not expressly approved by the party responsible for compliance could void the user’s authority to operate this equipment.
This device is restricted for indoor use. This equipment may only be operated indoors. Operation outdoors is in violation of 47 U.S.C. 301 and could subject the operator to serious legal penalties. The operation of this device is prohibited on oil platforms, cars, trains, boats, and aircraft, except that operation of this device is permitted in large aircraft while flying above 10,000 feet. Operation of transmitters in the 5.925-7.125 GHz band is prohibited for control of or Communications with unmanned aircraft systems.
Warning: FCC Radiation Exposure Statement: This equipment complies with FCC radiation exposure limits set forth for an uncontrolled environment. This equipment should be installed and operated with minimum distance of 25 cm between the radiator and your body.
Japan Indoor Use Statement
For Japan, AP4000 access point is restricted for indoor use in the 5150-5350 MHz band only.
Japan Voluntary Control Council for Interference (VCCI) –
Class B
European Union (EU) Radiation Warning Statement
Warning: This equipment complies with EU radiation exposure limits set forth for an uncontrolled environment. This equipment should be installed and operated with minimum distance of 20 cm between the radiator and your body
Mexico Compliance Statement
The operation of this equipment is subject to the following two conditions:
- It is possible that this equipment or device does not cause disruptive interference and
- This equipment or device must accept any interference, including interference that may cause undesired operation.
UK Statement and CE Statement
This equipment complies with the UK and EEA radiation exposure limits set forth for an uncontrolled environment. This equipment should be installed and operated with minimum distance of 20 cm between the radiator and your body.
The frequency and the maximum transmitted power in the UK and European Conformity are listed below:
- 2402-2480MHz (LE): 9.63 dBm
- 2405-2480MHz: 9.81 dBm
- 2412-2472MHz: 19.96 dBm
- 5180-5240MHz: 22.95 dBm
- 5260-5320MHz: 22.98 dBm 5500-5700MHz: 22.98 dBm 5745-5825 MHz: 22.98 dBm
- 5955-6415MHz: 22.97 dBm
- 6489.6-7987.2MHz: -41.58 dBm/RBW
The device is restricted to indoor use only when operating in the 5295 to 6425 MHz frequency range.
Hereby, Extreme Networks declares that the radio equipment AP4000U, AP4000 is in compliance with Radio Equipment Regulations 2017.
Extreme Networks UK Address
Extreme Networks, UK Ltd.
250 Longwater Avenue Green Park 1st Floor
Reading, UK
Industry Canada Notice
Warning: For indoor use only.
This device complies with ISED’s license-exempt RSSs. Operation is subject to the following two conditions:
- This device may not cause harmful interference, and
- this device must accept any interference received, including interference that may cause undesired operation.
Warning: IC Radiation Exposure Statement: This equipment complies with IC RSS-102 radiation exposure limits set forth for an uncontrolled environment. This equipment should be installed and operated with minimum distance of 27 cm between the radiator and your body.
Caution: The device for operation in the band 5150-5250 MHz is only for indoor use to reduce the potential for harmful interference to co-channel mobile satellite systems.
This radio transmitter [IC: 4141B-AP4000] has been approved by Innovation, Science and Economic Development Canada to operate with the antenna types listed in ExtremeWireless AP4000 Access Point Installation Guide, with the maximum permissible gain indicated. Antenna types not included in this list that have a gain greater than the maximum gain indicated for any type listed are strictly prohibited for use with this device.
Hazardous Substances
This product complies with the requirements of Directive 2011/65/EU of the European Parliament and of the Council of 8 June 2011 on the restriction of the use of certain hazardous substances in electrical and electronic equipment.
European Waste Electrical and Electronic Equipment (WEEE) Notice
In accordance with Directive 2012/19/EU of the European Parliament on waste electrical and electronic equipment (WEEE):
- The symbol above indicates that separate collection of electrical and electronic equipment is required.
- When this product has reached the end of its serviceable life, it cannot be disposed of as unsorted municipal waste. It must be collected and treated separately.
- It has been determined by the European Parliament that there are potential negative effects on the environment and human health as a result of the presence of hazardous substances in electrical and electronic equipment.
- It is the users’ responsibility to utilize the available collection system to ensure WEEE is properly treated.
For information about the available collection system, please contact Extreme Environmental Compliance at Green@extremenetworks.com.
Declaration of Conformity in Languages of the European Community
Hereby, Extreme Networks declares that the radio equipment type (AP4000) is in compliance with Directive 2014/53/EU. For full text of the EU Declaration of Conformity, please contact Extreme Regulatory Compliance at compliancerequest@extremenetworks.com
ExtremeWireless TM Indoor Access Points
Quick Reference
AP4000
AP4000U
Notice
Copyright © 2021 Extreme Networks, Inc. All Rights Reserved.
Legal Notices
Extreme Networks, Inc. reserves the right to make changes in specifications and other information contained in this document and its website without prior notice. The reader should in all cases consult representatives of Extreme Networks to determine whether any such changes have been made.
The hardware, firmware, software or any specifications described or referred to in this document are subject to change without notice.
Trademarks
Extreme Networks and the Extreme Networks logo are trademarks or registered trademarks of Extreme Networks, Inc. in the United States and/or other countries.
All other names (including any product names) mentioned in this document are the property of their respective owners and may be trademarks or registered trademarks of their respective companies/owners.
For additional information on Extreme Networks trademarks, please see: www.extremenetworks.com/company/legal/trademarks/
Documentation, Installation Videos, and Support
For product support, including Documentation and Installation Videos, visit: www.extremenetworks.com/documentation

















