
REGISTER YOUR TOOLS
http://register.ryobitools.com
1-800-525-2579
OPERATOR’S MANUAL

WARNING: To reduce the risk of injury, the user must read and understand the operator’s manual before using this product.
SAVE THIS MANUAL FOR FUTURE REFERENCE
GENERAL POWER TOOL SAFETY WARNINGS
WARNING
Read all safety warnings and all instructions. Failure to follow the warnings and instructions may result in electric shock, fire, and/or serious injury.
Save all warnings and instructions for future reference.
The term “power tool” in the warnings refers to your mains-operated (corded) power tool or battery-operated
(cordless) power tool.
WORK AREA SAFETY
- Keep work area clean and well-lit. Cluttered or dark areas invite accidents.
- Do not operate power tools in explosive atmospheres, such as in the presence of flammable liquids, gases, or dust. Power tools create sparks that may ignite dust or fumes.
- Keep children and bystanders away while operating a power tool. Distractions can cause you to lose control.
ELECTRICAL SAFETY
- Power tool plugs must match the outlet. Never modify the plug in any way. Do not use any adapter plugs with earthed (grounded) power tools. Unmodified plugs and matching outlets will reduce the risk of electric shock.
- Avoid body contact with earthed or grounded surfaces such as pipes, radiators, ranges, and refrigerators.
There is an increased risk of electric shock if your body is earthed or grounded. - Do not expose power tools to rain or wet conditions.
Water entering a power tool will increase the risk of electric shock. - Do not abuse the cord. Never use the cord for carrying, pulling, or unplugging the power tool. Keep cord away from heat, oil, sharp edges, or moving parts. Damaged or entangled cords increase the risk of electric shock.
- When operating a power tool outdoors, use an extension cord suitable for outdoor use. The use of a cord suitable for outdoor use reduces the risk of electric shock.
- If operating a power tool in a damp location is unavoidable, use a ground fault circuit interrupter (GFCI) protected supply. The use of a GFCI reduces the risk of electric shock.
- Use this product only with batteries and chargers listed in tool/appliance/battery pack/charger correlation supplement 987000-432.
PERSONAL SAFETY
- Stay alert, watch what you are doing, and use common sense when operating a power tool. Do not use a power tool while you are tired or under the influence of drugs, alcohol, or medication. A moment of inattention while operating power tools may result in serious personal injury.
- Use personal protective equipment. Always wear eye protection. Protective equipment such as dust masks, nonskid safety shoes, hard hats, or hearing protection used for appropriate conditions will reduce personal injuries.
- Prevent unintentional starting. Ensure the switch is in the off-position before connecting to a power source and/ or battery pack, picking up or carrying the tool. Carrying power tools with your finger on the switch or energizing power tools that have the switch on invites accidents.
- Remove any adjusting key or wrench before turning the power tool on. A wrench or a key left attached to a rotating part of the power tool may result in personal injury.
- Do not overreach. Keep proper footing and balance at all times. This enables better control of the power tool in unexpected situations.
- Dress properly. Do not wear loose clothing or jewelry. Keep your hair, clothing, and gloves away from moving parts. Loose clothes, jewelry, or long hair can be caught in moving parts.
- If devices are provided for the connection of dust extraction and collection facilities, ensure these are connected and properly used.
The use of dust collection can reduce dust-related hazards. - Do not wear loose clothing or jewelry. Contain long hair. Loose clothes, jewelry, or long hair can be drawn into air vents.
- Do not use a ladder or unstable support. Stable footing on a solid surface enables better control of the power tool in unexpected situations.
POWER TOOL USE AND CARE
- Do not force the power tool. Use the correct power tool for your application. The correct power tool will do the job better and safer at the rate at which it was designed.
- Do not use the power tool if the switch does not turn on and off. Any power tool that cannot be controlled with the switch is dangerous and must be repaired.
- Disconnect the plug from the power source and/or the battery pack from the power tool before making any adjustments, changing accessories, or storing power tools. Such preventive safety measures reduce the risk of starting the power tool accidentally.
- Store idle power tools out of the reach of children and do not allow persons unfamiliar with the power tool or these instructions to operate the power tool. Power tools are dangerous in the hands of untrained users.
- Maintain power tools. Check for misalignment or binding of moving parts, breakage of parts, and any other condition that may affect the power tool’s operation. If damaged, have the power tool repaired before use. Many accidents are caused by poorly maintained power tools.
- Keep cutting tools sharp and clean. Properly maintained cutting tools with sharp cutting edges are less likely to bind and are easier to control.
- Use the power tool, accessories and tool bits, etc. in accordance with these instructions, taking into account the working conditions and the work to be performed. Use of the power tool for operations different from those intended could result in a hazardous situation.
BATTERY TOOL USE AND CARE
- Recharge only with the charger specified by the manufacturer. A charger that is suitable for one type
of the battery pack may create a risk of fire when used with another battery pack. - Use power tools only with specifically designated battery packs. Use of any other battery packs may create
risk of injury and fire. - When the battery pack is not in use, keep it away from other metal objects, like paper clips, coins, keys, nails, screws, or other small metal objects, that can make a connection from one terminal to another. Shorting the battery terminals together may cause burns or a fire.
- Under abusive conditions, liquid may be ejected from the battery; avoid contact. If contact accidentally
occurs, flush with water. If liquid contacts eyes, additionally seek medical help. Liquid ejected from the
battery may cause irritation or burns.
SERVICE
- Have your power tool serviced by a qualified repair person using only identical replacement parts. This will ensure that the safety of the power tool is maintained.
- When servicing a power tool, use only identical replacement parts. Follow instructions in the Maintenance section of this manual. Use of unauthorized parts or failure to follow Maintenance Instructions may create a risk of shock or injury.
PALM ROUTER SAFETY WARNINGS
- Use clamps or another practical way to secure and support the workpiece to a stable platform. Holding the
work by your hand or against the body leaves it unstable and may lead to loss of control. - Hold power tool by insulated gripping surfaces, when performing an operation where the cutting accessory may contact hidden wiring. Cutting accessory contacting a “live” wire may make exposed metal parts of the power tool “live” and could give the operator an electric shock.
- Know your power tool. Read the operator’s manual carefully. Learn its applications and limitations, as
well as the specific potential hazards related to this powerful tool. Following this rule will reduce the risk of electric shock, fire, or serious injury. - Always wear eye protection with side shields marked to comply with ANSI Z87.1 when assembling parts, operating the tool, or performing maintenance.
Following this rule will reduce the risk of serious personal injury. - Protect your lungs. Wear a face or dust mask if the operation is dusty. Following this rule will reduce the
risk of serious personal injury. - Protect your hearing. Wear hearing protection during extended periods of operation. Following this rule will reduce the risk of serious personal injury.
- Battery tools do not have to be plugged into an electrical outlet; therefore, they are always in operating condition. Be aware of possible hazards when not using your battery tool or when changing
accessories. Following this rule will reduce the risk of electric shock, fire, or serious personal injury. - Do not place battery tools or their batteries near fire or heat. This will reduce the risk of explosion and possibly injury.
- Do not crush, drop or damage the battery pack. Do not use a battery pack or charger that has been dropped or received a sharp blow. A damaged battery is subject to explosion. Properly dispose of a dropped or damaged battery immediately.
- Batteries can explode in the presence of a source of ignition, such as a pilot light. To reduce the risk of
serious personal injury, never use any cordless product in the presence of an open flame. An exploded battery can propel debris and chemicals. If exposed, flush with water immediately. - Do not charge the battery tool in a damp or wet location.
Do not use, store, or charge battery packs or products in locations where the temperature is less than 50°F
or more than 100°F. Do not store outside or in vehicles. - Under extreme usage or temperature conditions, battery leakage may occur. If liquid comes in contact
with your skin, wash immediately with soap and water. If liquid gets into your eyes, flush them with clean
water for at least 10 minutes, then seek immediate medical attention. Following this rule will reduce the risk of serious personal injury. - Save these instructions. Refer to them frequently and use them to instruct others who may use this tool. If you loan someone this tool, loan them these instructions also.
SYMBOLS
| The following signal words and meanings are intended to explain the levels of risk associated with this product. | ||
| SYMBOL | SIGNAL | MEANING |
| DANGER: | Indicates a hazardous situation, which, if not avoided, will result in death or serious injury. | |
| WARNING: | Indicates a hazardous situation, which, if not avoided, could result in death or serious injury. | |
| CAUTION: | Indicates a hazardous situation, that, if not avoided, may result in minor or moderate injury. | |
| NOTICE: | (Without Safety Alert Symbol) Indicates information considered important, but not related to a potential injury (e.g. messages relating to property damage). | |
| Some of the following interpretations of these sy symbols may be used symbols will allow you to on this product. Please study them and learn their meaning. Properly operate the product better and safer. | ||
SYMBOL | NAME | DESIGNATION/EXPLANATION |
| Safety Alert | Indicates a potential personal injury hazard. | |
| Read Operator’s Manual | To reduce the risk of injury, users must read and understand the operator’s manual before using this product. | |
| Eye Protection | Always wear eye protection with side shields marked to comply with ANSI Z87.1. | |
| Wet Conditions Alert | Do not expose to rain or use in damp locations. | |
| Recycle Symbol | This product uses lithium-ion (Li-ion) batteries. Local, state or federal laws may prohibit the disposal of batteries in ordinary trash. Consult your local waste authority for information regarding available recycling and/ or disposal options. | |
V | Volts | Voltage |
min | Minutes | Time |
| Direct Current | Type or a characteristic of current | |
no | No Load Speed | Rotational speed, at no load |
…/min | Per Minute | Revolutions, strokes, surface speed, orbits, etc., per minute |
FEATURES
PRODUCT SPECIFICATIONS
Switch…………………………………………………….. Single Speed
No Load Speed………………………………………….29,000 RPM
Max Shank Diameter………………………………………….. 1/4 in.
Max Bit Overall
Diameter (Base Installed)……………….. 1-3/8 in. (34.925 mm)
ASSEMBLY
WARNING:
Do not use this product if it is not completely assembled or if any parts appear to be missing or damaged. Use of a product that is not properly and completely assembled or with damaged or missing parts could result in serious personal injury.
WARNING:
Do not attempt to modify this product or create accessories or attachments not recommended for use with this product. Any such alteration or modification is misused and could result in a hazardous condition leading to possible serious personal injury.
If any parts are damaged or missing, please call 1-800-525-2579 for assistance.
OPERATION
WARNING:
Do not allow familiarity with this product to make you careless. Remember that a careless fraction of a second
is sufficient to inflict serious injury.
WARNING:
Always remove the battery pack from the tool when you are assembling parts, making adjustments, cleaning, or when not in use. Removing the battery pack will prevent accidental starting that could cause serious personal injury.
WARNING:
Always wear eye protection with side shields marked to comply with ANSI Z87.1, along with hearing protection. Failure to do so could result in objects being thrown into your eyes and other possible serious injuries.
WARNING:
Do not use any attachments or accessories not recommended by the manufacturer of this tool. The use of attachments or accessories not recommended can result in serious personal injury.
APPLICATIONS
You may use this tool for the following purposes:
• Smooth, professional trimming of laminates, wood, and wood veneer
INSTALLING/REMOVING BATTERY PACK
- Set the switch in the OFF position.
- Insert the battery pack into the product as shown.
- Make sure the latches on each side of the battery pack snap in place and that the battery pack is secured in the product before beginning operation.
- Depress the latches to remove the battery pack.
For complete charging instructions, see the operator’s manuals for your battery pack and charger.
WARNING:
Battery tools are always in operating condition. Turn the switch OFF when not in use or carrying at your side,
when installing or removing the battery pack, and when installing or removing bits. Failure to turn off the switch could result in unexpected starting and serious personal injury.
STARTING/STOPPING THE ROUTER
To turn the router ON, slide the switch in the front of the router to the ON position.
Return the switch to the OFF position when finished.
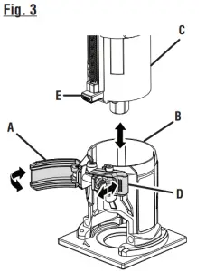
REMOVING THE BASE
- Remove the battery pack.
- Place the router upside down on a workbench.
- Pull the quick-release lever to the open position.
- Depress the motor release lever completely, pull the motor housing up until it stops at the spindle lock button.
- While holding the motor release lever down with one hand, depress the spindle lock button with the other. Slide the base upward until the motor release lever clears the spindle lock button and removes the base.
To connect the motor housing to the base:
- Depress the motor release lever completely with one hand, depress the spindle lock button with the other.
- Align the motor housing with the base and push the motor housing onto the base until it clears the spindle lock button.
- Release the motor release lever and close the quick-release lever.
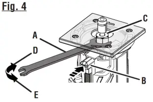
INSTALLING/REMOVING TRIMMING BITS
WARNING:
If you are changing a bit immediately after use, be careful not to touch the collet nut, bit, or collet with your hands or fingers. They will get burned because of the heat buildup from cutting. Always use the wrench provided.
- Turn the switch to OFF and remove the battery pack.
- Place the router upside down on a workbench.
- Pull the quick-release lever to the open position.
- Depress the motor release lever and move the base to provide clear access to the collet nut. It is not necessary to remove the base.
- Depress the spindle lock button and rotate the spindle until the spindle locks.
- Use the wrench provided to turn the collet nut in a counterclockwise direction. Continue to depress the spindle lock button while loosening the collet nut.
- With the router still upside down on a workbench, insert the shank of the bit into the collet. The shank of the bit should be close to but not touching the bottom of the collet. This allows for expansion when the bit gets hot. A clearance of 1/16 in. is adequate.
NOTE: The collet is machined to precision tolerances to fit bits with 1/4 in. diameter shanks. - Hand-tighten the collet nut. Then, depress the spindle lock button and continue tightening the collet nut with the wrench provided by turning it in a clockwise direction.
WARNING:
If the collet nut is not tightened securely, the bit may come out during use, causing serious personal injury.
- Depress the motor release lever and return the base back to an operating position.
- Push the quick-release lever to the closed position.
- Replace the battery pack.
SETTING DEPTH OF CUT
- Turn the switch OFF and remove the battery pack from the router.
- Pull the quick-release lever to the open position.
- Using the micro depth adjustment knob, adjust the position of the router to obtain the desired depth of cut. To move the motor housing down, turn the micro depth adjustment knob toward the “down” arrow to the side of the knob.
NOTE: To set the cutting depth to zero, hold the router in place and turn the micro depth adjustment knob until it reads “0”. - The cutter depth can be read on the depth scale on the motor housing. Each mark on the scale indicates a
1/16 in. change the in-depth setting. Use the top edge of the removable base as a reference when setting the depth of the cut. - Push the quick-release lever to the closed position.
WARNING:
Avoid the open area of the router base. Serious personal injury will result from contact with a rotating bit.
NOTE: To make deeper cuts, it is necessary to make as many successive passes as required, lowering the bit
1/8 in. for each new pass. To save time, perform all the cutting necessary at one depth setting, then lower the bit for the next pass. This will assure uniform depth when the final pass is completed.
OPERATING THE ROUTER
WARNING:
Avoid hand positions that may expose fingers to the bit through open areas of the router base. Fingers entering
the opening in the router base can be seriously cut or burned.
WARNING:
Always use the laminate sub-base for trimming. Use of the router without a sub-base or using the incorrect sub-base can result in loss of control and possible serious personal injury.
NOTICE:
To avoid damaging the motor from overheating, do not let your hand cover the air vents.
Before installing the battery pack and starting the router, make sure the bit is securely tightened in the collet and that the depth of cut is properly set. Never start the router while the bit is in contact with the workpiece. After completing a cut, pull the bit slightly away from the cut surface. Turn the router off and wait for the rotating bit to completely stop before completely removing the tool from the work surface. When cutting, locate the base of the router over the work surface and firmly hold the body of the router with your hand. Make sure the router is running at full speed before contacting the workpiece.
DIRECTION OF FEED AND THRUST
The router motor and bit revolve in a clockwise direction. This gives the tool a slight tendency to twist in your hands in a counterclockwise direction, especially when the motor starts. Feed the router into the workpiece from left to right. When fed from left to right, the rotation of the bit pulls the router against the workpiece. If fed in the opposite direction, the rotation forces of the spinning bit will tend to throw the router away from the workpiece, causing kickback. This could result in loss of control of the router. Because of the extremely high speed of bit rotation during a proper feeding operation, there is very little kickback to contend with under normal conditions. However, should the bit strike a knot, hard grain, foreign object, etc. that would affect the normal progress of the cutting action, there will be a slight kickback. Kickback could be sufficient to spoil the
trueness of your cut if you are not prepared. Such a kickback is always in the direction opposite the direction of bit rotation. To guard against kickback, plan your set-up and direction of feed so that you will always be thrusting the tool—to hold it against whatever you are using to guide the cut—in the same direction that the leading edge of the bit is moving. The thrust should be in a direction that keeps the sharp edges of the bit continuously biting straight into new (uncut) wood. PROPER RATE OF FEED Trimming and edge shaping depend upon careful set-up and selecting the proper feed rate.
The proper feed rate is dependent upon:
- The hardness and moisture content of the workpiece.
- The depth of cut. It is necessary that you do not exceed 1/8 in. depth of cut for proper rate of feed.
For edge shaping in softwoods such as pine, a faster rate of feed can be used. When edge shaping in hardwoods
such as oak, a slower rate of feed will be required. In all wood types, a slower rate of feed is required when cutting shallow grooves.
Several factors will help you select the proper rate of feed.
- Choose a rate that does not slow down the router motor.
- Choose the rate of feed at which the bit advances firmly and surely to produce a continuous spiral of uniform chips or a smooth trim edge on the laminate.
- Listen to the sound of the router motor. A high-pitched, strained sound means you are feeding too fast.
- Check the progress of each cut. Too-slow feeding can cause the router to take off in the wrong direction from the intended line of cut. Force-feeding increases the strain of holding the tool and can result in damage to the tool.
- Notice the chips being produced as you cut. If the router is fed too slowly, it will scorch or burn the wood. If the router is fed too fast, it will take large chips out of the wood and leave gouge marks.
Always test a cut on a scrap piece of the workpiece wood or laminate before you begin. Always grasp and hold the router firmly when trimming.
When using the largest recommended straight bit (1/4 in.) in any type of wood, maintain a maximum cutting depth of 1/8 in. and a very slow feed rate to achieve the best quality cut. A cross-grain cut requires a slower pace than an identical cut with the grain in the same workpiece.
There is no fixed rule. Proper feed rate is learned through practice and use.
FORCE-FEEDING
The router is an extremely high-speed tool (29,000 RPM) and will make clean, smooth cuts if allowed to run freely without the overload of a forced feed. Three things that cause force-feeding are bit size, depth of cut, and workpiece characteristics. The larger the bit or the deeper the cut, the more slowly the router should be moved forward. If the wood is very hard, knotty, gummy, or damp, the operation must be slowed still more. Clean smooth trimming and edge shaping can be done only when the bit is revolving at a relatively high speed and is taking very small bites to produce tiny, cleanly-severed chips. If the router is forced to move forward too fast, the speed of the bit becomes slower than normal in relation to its forward movement. As a result, the bit must take bigger bites as it revolves. Bigger bites mean bigger chips and a rougher finish. Bigger chips also require more power, which could result in overheating of the motor and lower battery life. Under extreme force-feeding conditions, the relative speed of the bit can become so slow – and the bites it has to take so large – that chips will be partially knocked off rather than fully cut off. This will result in splintering and gouging of the
workpiece and will likely damage the tool.
FEEDING TOO SLOWLY
When the router is advanced into the work too slowly it scrapes away sawdust-like particles instead of cleanly
cutting into the workpiece. Scraping produces heat, which can glaze, burn, or mar the cut, and can overheat the bit. Dull bits can also contribute to scraping and burning.
It is more difficult to control a router when the bit is scraping instead of cutting. With practically no load on the motor, the bit will be revolving near the top RPM. When feeding too slowly, the bit will have a greater than normal tendency to bounce off the sides of the cut, especially if the wood has a pronounced grain with hard and soft areas. The cut that results may have rippled sides instead of straight.
DEPTH OF CUT
WARNING:
If the desired depth of cut is greater than can be safely cut in one pass, make cuts in two or more passes. Do
not remove more than 1/8 in. in a single pass. Excessive depth of cut can result in loss of control and the possibility of serious personal injury.
Depth of cut affects the rate of feed and the quality of a cut. Using the proper depth of cut can lessen the possibility of damage to the router motor and bit.
A deeper cut requires a slower feed than a shallow one.
Making a cut that is too deep will slow the feed so that the bit is scraping, rather than cutting, and is not recommended.
A too-deep cut can cause smaller bits to be broken off. bits that are 1/16 in. in diameter are easily broken off when subjected to too much side thrust. A larger bit is not as likely to break, but attempting a cut that is too deep may result in a rough cut, and may make it difficult to guide and control the bit as desired.
It is necessary that you do not exceed 1/8 in. depth of cut in a single pass, regardless of the bit size or the softness or condition of the workpiece. This will result in a higher-quality cut.
To make deeper cuts, it is necessary to make as many successive passes as required, lowering the bit 1/8 in
for each new pass. To save time, perform all the cutting necessary at one depth setting, then lower the bit for the next pass. This will assure uniform depth when the final pass is completed.
ATTACHING THE ROUND SUBBASE (NOT INCLUDED)
- Remove the battery pack.
- Turn the router upside down to remove the four subbase screws and the square subbase.
- Attach the round subbase using the same screws.
- Tighten the screws securely. Do not overtighten.
WARNING:
Always use the base for laminate trimming. Use of the router without a base or using the incorrect base can
result in serious personal injury.
USING EDGE GUIDE (NOT INCLUDED)
Use the edge guide to trim or cut a straight or curved edge.
- Remove the battery pack.
- Thread guide bars into the base and tightens with a flat head screwdriver.
- Slide the edge guide onto the guide bars.
- Install thumb screws provided into the edge guide.
- Measure the proper distance to offset the bit, or if trimming, position the bit at the edge of the workpiece.
- Tighten the two thumbscrews to secure the edge guide.
- Reinstall the battery pack.
- Move the router along the workpiece keeping the edge guide in constant contact with the edge of the workpiece.
MAINTENANCE
WARNING:
When servicing, use only identical replacement parts.
Use of any other parts could create a hazard or cause product damage.
GENERAL MAINTENANCE
Avoid using solvents when cleaning plastic parts. Most plastics are susceptible to damage from various types of
commercial solvents and may be damaged by their use.
ACCESSORIES
Look for these accessories at the service center:
- Round Sub-base …………………………………………..519233001
- Edge Guide Assembly…………………………………..204358001
WARNING:
Current attachments and accessories available for use with this tool are listed above. Do not use any attachments or accessories not recommended by the manufacturer of this tool. The use of attachments or accessories, not recommended can result in serious personal injury
NOTE: ILLUSTRATIONS START ON PAGE 10 AFTER FRENCH AND SPANISH LANGUAGE SECTIONS.
NOTES
P601

| A – Wrench B – Spindle lock C – Micro depth adjustment knob D – Collet nut E – Zero reset F – Guide bars G – Square sub base H – Edge guide | I – Quick release lever J – Round sub base K – Motor housing L – ON/OFF slide switch M – Depth scale N – Removable base O – Motor release lever |
A – Battery pack
B – Latches


A – quick-release lever
B – Removable base
C – Motor housing
D – Motor release lever
E – Spindle lock
A – Wrench
B – Spindle lock
C – Collet nut
D – Tighten
E – Loosen
A – Zero reset
B – Removable base
C – Motor housing
D – Motor release lever
E – Quick release lever
F – Depth scale
G – Micro depth adjustment knob
H – Down arrow
I – Up arrow
A – Trimmer feed direction
B – Trim end grains first
C – Bit rotation

A – Guide outside
B – Thrust
C – Rotation
D – Guide
E – Feed
F – Guide inside
A – Depth of cut
B – Width of cut
C – First pass
D – Second pass

A – Screws
B – Round subbase Round subbase
C – Removable base
A – Thumbscrews
B – Edge guide
C – Guide bars

OPERATOR’S MANUAL / 18V PALM ROUTER
MANUEL D’UTILISATION / TOUPIE DE TYPE PAUME DE 18 V
To request service, purchase replacement parts,
locate an Authorized Service Center or obtain Customer or Technical Support:
Visit www.ryobitools.com
or call 1-800-525-2579
If any parts or accessories are damaged or missing, do not return this product to the store.
Call 1-800-525-2579 for immediate service.
Please obtain your model and serial number from the product data plate.
This product is covered under a 3-year limited Warranty. Proof of purchase is required.
MODEL NUMBER* _______________ SERIAL NUMBER ____________________________
*Model number on product may have additional letters at the end.
These letters designate manufacturing information and should be provided when calling for service.
RYOBI is a registered trademark of Ryobi Limited and is used pursuant to a license granted by Ryobi Limited.
ONE WORLD TECHNOLOGIES, INC.
P.O. Box 1288, Anderson, SC 29622
• Phone 1-800-525-2579
www.ryobitools.com
















