RP1800 Router
Instruction Manual
009852
DOUBLE INSULATION
INSTRUCTION MANUAL
Router
RP1800 ,RP1800F RP1801
RP1801F RP2300FC RP2301FC
WARNING:
For your personal safety, READ and UNDERSTAND before using.
SAVE THESE INSTRUCTIONS FOR FUTURE REFERENCE.
SPECIFICATIONS
| Model | RP1800/ RP1800F | RP1801/ RP1801F | RP2300FC | RP2301FC |
| Collet chuck capacity | 12 mm or 1/2″ | |||
| Plunge capacity | 0 – 70 mm | |||
| No load speed (min-1) | 22,000 | 9,000 – 22,000 | ||
| Overall length | 312 mm | |||
| Net weight | 6.0 kg | 6.1 kg | ||
| Safety class | ||||
- Due to our continuing programme of research and development, the specifications herein are subject to change without notice.
- Note: Specifications may differ from country to country.
- Weight according to EPTA-Procedure 01/2003
Symbols
END201-4
The following show the symbols used for the equipment.
Be sure that you understand their meaning before use.
Read instruction manual.
DOUBLE INSULATION
Only for EU countries
Do not dispose of electric equipment together with household waste material! In observance of European Directive 2002/96/EC on waste electric and electronic equipment and its implementation in accordance with national law, electric equipment that have reached the end of their life must be collected separately and returned to an environmentally compatible recycling facility.
ENE010-1
Intended use
The tool is intended for flush trimming and profiling of wood, plastic and similar materials.
ENF002-1
Power supply
The tool should be connected only to a power supply of the same voltage as indicated on the nameplate, and can only be operated on single-phase AC supply. They are double-insulated in accordance with European Standard and can, therefore, also be used from sockets without earth wire.
GEA005-2
General Power Tool Safety Warnings
WARNING Read all safety warnings and all instructions. Failure to follow the warnings and instructions may result in electric shock, fire and/or serious injury.
Save all warnings and instructions for future reference.
The term “power tool” in the warnings refers to your mains-operated (corded) power tool or battery-operated (cordless) power tool.
Work area safety
- Keep work area clean and well lit. Cluttered or dark areas invite accidents.
- Do not operate power tools in explosive atmospheres, such as in the presence of flammable liquids, gases or dust. Power tools create sparks which may ignite the dust or fumes.
- Keep children and bystanders away while operating a power tool. Distractions can cause you to lose control.
Electrical safety - Power tool plugs must match the outlet. Never modify the plug in any way. Do not use any adapter plugs with earthed (grounded) power tools. Unmodified plugs and matching outlets will reduce risk of electric shock.
- Avoid body contact with earthed or grounded surfaces such as pipes, radiators, ranges and refrigerators. There is an increased risk of electric shock if your body is earthed or grounded.
- Do not expose power tools to rain or wet conditions. Water entering a power tool will increase the risk of electric shock.
- Do not abuse the cord. Never use the cord for carrying, pulling or unplugging the power tool. Keep cord away from heat, oil, sharp edges or moving parts. Damaged or entangled cords increase the risk of electric shock.
- When operating a power tool outdoors, use an extension cord suitable for outdoor use. Use of a cord suitable for outdoor use reduces the risk of electric shock.
- If operating a power tool in a damp location is unavoidable, use a ground fault circuit interrupter (GFCI) protected supply. Use of an GFCI reduces the risk of electric shock.
Personal safety - Stay alert, watch what you are doing and use common sense when operating a power tool. Do not use a power tool while you are tired or under the influence of drugs, alcohol or medication. A moment of inattention while operating power tools may result in serious personal injury.
- Use personal protective equipment. Always wear eye protection. Protective equipment such as dust mask, non-skid safety shoes, hard hat, or hearing protection used for appropriate conditions will reduce personal injuries.
- Prevent unintentional starting. Ensure the switch is in the off-position before connecting to power source and/or battery pack, picking up or carrying the tool. . Carrying power tools with your finger on the switch or energising power tools that have the switch on invites accidents.
- Remove any adjusting key or wrench before turning the power tool on. A wrench or a key left attached to a rotating part of the power tool may result in personal injury.
- Do not overreach. Keep proper footing and balance at all times. This enables better control of the power tool in unexpected situations.
- Dress properly. Do not wear loose clothing or jewellery. Keep your hair, clothing, and gloves away from moving parts. Loose clothes, jewellery or long hair can be caught in moving parts.
- If devices are provided for the connection of dust extraction and collection facilities, ensure these are connected and properly used. Use of dust collection can reduce dust-related hazards.
Power tool use and care - Do not force the power tool. Use the correct power tool for your application. The correct power tool will do the job better and safer at the rate for which it was designed.
- Do not use the power tool if the switch does not turn it on and off. Any power tool that cannot be controlled with the switch is dangerous and must be repaired.
- Disconnect the plug from the power source and/or the battery pack from the power tool before making any adjustments, changing accessories, or storing power tools. Such preventive safety measures reduce the risk of starting the power tool accidentally.
- Store idle power tools out of the reach of children and do not allow persons unfamiliar with the power tool or these instructions to operate the power tool. Power tools are dangerous in the hands of untrained users.
- Maintain power tools. Check for misalignment or binding of moving parts, breakage of parts and any other condition that may affect the power tool’s operation. If damaged, have the power tool repaired before use. Many accidents are caused by poorly maintained power tools.
- Keep cutting tools sharp and clean. Properly maintained cutting tools with sharp cutting edges are less likely to bind and are easier to control.
- Use the power tool, accessories and tool bits etc. in accordance with these instructions, taking into account the working conditions and the work to be performed. Use of the power tool for operations different from those intended could result in a hazardous situation.
Service - Have your power tool serviced by a qualified repair person using only identical replacement parts. This will ensure that the safety of the power tool is maintained.
- Follow instruction for lubricating and changing accessories.
- Keep handles dry, clean and free from oil and grease.
GEB018-1
SPECIFIC SAFETY RULES
DO NOT let comfort or familiarity with product (gained from repeated use) replace strict adherence to router safety rules. If you use this tool unsafely or incorrectly, you can suffer serious personal injury.
- Hold power tools by insulated gripping surfaces when performing an operation where the cutting tool may contact hidden wiring or its own cord. Contact with a “live” wire will make exposed metal parts of the tool “live” and shock the operator.
- Use clamps or another practical way to secure and support the workpiece to a stable platform. Holding the work by hand or against your body leaves it unstable and may lead to loss of control.
- Wear hearing protection during extended period of operation.
- Handle the bits very carefully.
- Check the bit carefully for cracks or damage before operation. Replace cracked or damaged bit immediately.
- Avoid cutting nails. Inspect for and remove all nails from the workpiece before operation.
- Hold the tool firmly with both hands.
- Keep hands away from rotating parts.
- Make sure the bit is not contacting the workpiece before the switch is turned on.
- Before using the tool on an actual workpiece, let it run for a while. Watch for vibration or wobbling that could indicate improperly installed bit.
- Be careful of the bit rotating direction and the feed direction.
- Do not leave the tool running. Operate the tool only when hand-held.
- Always switch off and wait for the bit to come to a complete stop before removing the tool from workpiece.
- Do not touch the bit immediately after operation; it may be extremely hot and could burn your skin.
- Do not smear the tool base carelessly with thinner, gasoline, oil or the like. They may cause cracks in the tool base.
- Draw attention to the need to use cutters of the correct shank diameter and which are suitable for the speed of the tool.
- Some material contains chemicals which may be toxic. Take caution to prevent dust inhalation and skin contact. Follow material supplier safety data.
- Always use the correct dust mask/respirator for the material and application you are working with.
SAVE THESE INSTRUCTIONS.
WARNING:
MISUSE or failure to follow the safety rules stated in this instruction manual may cause serious personal injury.
FUNCTIONAL DESCRIPTION
CAUTION:
- Always be sure that the tool is switched off and unplugged before adjusting or checking function on the tool.
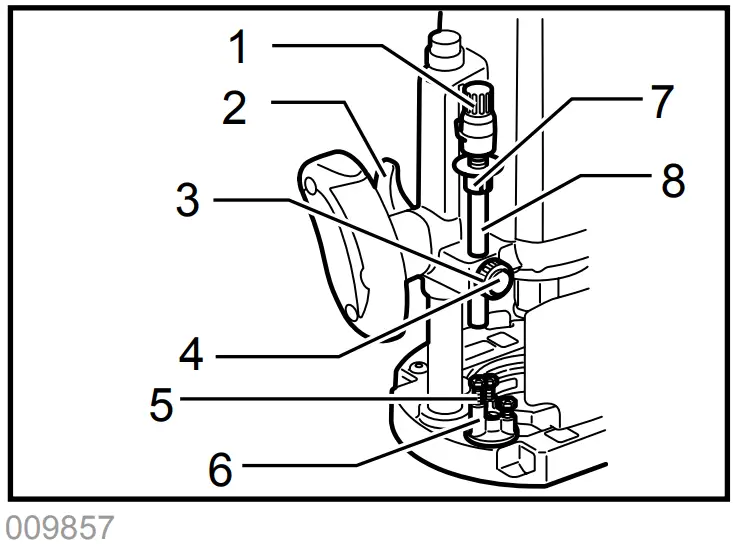
Adjusting the depth of cut
- Adjusting knob
- Lock lever
- Stopper pole setting nut
- Fast-feed button
- Adjusting bolt
- Stopper block
- Depth pointer
- Stopper pole
Place the tool on a flat surface. Loosen the lock lever and lower the tool body until the bit just touches the flat surface. Tighten the lock lever to lock the tool body. Turn the stopper pole setting nut counterclockwise.
Lower the stopper pole until it makes contact with the adjusting bolt. Align the depth pointer with the “0” graduation. The depth of cut is indicated on the scale by the depth pointer.
While pressing the fast-feed button, raise the stopper pole until the desired depth of cut is obtained. Minute depth adjustments can be obtained by turning the adjusting knob (1 mm per turn).
By turning the stopper pole setting nut clockwise, you can fasten the stopper pole firmly.
Now, your predetermined depth of cut can be obtained by loosening the lock lever and then lowering the tool body until the stopper pole makes contact with the adjusting hex bolt of the stopper block.
Nylon nut
1. Nylon nut
The upper limit of the tool body can be adjusted by turning the nylon nut.
CAUTION:
Do not lower the nylon nut too low. The bit will protrude dangerously.
Stopper block
- Stopper pole
- Adjusting bolt
- Stopper block
The stopper block has three adjusting hex bolts which raise or lower 0.8 mm per turn. You can easily obtain three different depths of cut using these adjusting hex bolts without readjusting the stopper pole.
Adjust the lowest hex bolt to obtain the deepest depth of cut, following the method of “Adjusting depth of cut”. Adjust the two remaining hex bolts to obtain shallower depths of cut. The differences in height of these hex bolts are equal to the differences in depths of cut.
To adjust the hex bolts, turn the hex bolts with a screwdriver or wrench. The stopper block is also convenient for making three passes with progressively deeper bit settings when cutting deep grooves.
CAUTION:
- Since excessive cutting may cause overload of the motor or difficulty in controlling the tool, the depth of cut should not be more than 15 mm at a pass when cutting grooves with an 8 mm diameter bit.
- When cutting grooves with a 20 mm diameter bit, the depth of cut should not be more than 5 mm at a pass.
- For extra-deep grooving operations, make two or three passes with progressively deeper bit settings.
Switch action
- Lock button
- Switch trigger
CAUTION:
- Before plugging in the tool, always check to see that the switch trigger actuates properly and returns to the “OFF” position when released.
- Make sure that the shaft lock is released before the switch is turned on.
To prevent the switch trigger from being accidentally pulled, a lock button is provided.
To start the tool, depress the lock button and pull the switch trigger. Release the switch trigger to stop.
For continuous operation, pull the switch trigger and then depress the lock button further. To stop the tool, pull the switch trigger so that the lock button returns automatically. Then release the switch trigger.
After releasing the switch trigger, the lock-off function works to prevent the switch trigger from being pulled.
CAUTION:
- Hold the tool firmly when turning off the tool, to overcome the reaction.
Electronic function
For model RP2300FC,RP2301FC only Constant speed control
- Possible to get fine finish, because the rotating speed is kept constantly even under the loaded condition.
- Additionally, when the load on the tool exceeds admissible levels, power to the motor is reduced to protect the motor from overheating. When the load returns to admissible levels, the tool will operate as normal.
Soft start feature
- Soft start because of suppressed starting shock.
Speed adjusting dial
For model RP2300FC,RP2301FC only 
- Speed adjusting dial
The tool speed can be changed by turning the speed adjusting dial to a given number setting from 1 to 6. Higher speed is obtained when the dial is turned in the direction of number 6. And lower speed is obtained when it is turned in the direction of number 1.
This allows the ideal speed to be selected for optimum material processing, i.e. the speed can be correctly adjusted to suit the material and bit diameter.
Refer to the table for the relationship between the number settings on the dial and the approximate tool speed.
| Number | min-1 |
| 1 | 9,000 |
| 2 | 11,000 |
| 3 | 14,000 |
| 4 | 17,000 |
| 5 | 20,000 |
| 6 | 22,000 |
CAUTION:
- If the tool is operated continuously at low speeds for a long time, the motor will get overloaded, resulting in tool malfunction.
- The speed adjusting dial can be turned only as far as 6 and back to 1. Do not force it past 6 or 1, or the speed adjusting function may no longer work.
Lighting up the lamps
For model RP1800F, RP1801F, RP2300FC,RP2301FC only
- Lamp
CAUTION:
- Do not look in the light or see the source of light directly.
Pull the switch trigger to turn on the light. The lamp keeps on lighting while the switch trigger is being pulled. The lamp turns off 10 – 15 seconds after releasing the trigger.
NOTE:
- Use a dry cloth to wipe the dirt off the lens of lamp. Be careful not to scratch the lens of lamp, or it may lower the illumination.
ASSEMBLY
CAUTION:
- Always be sure that the tool is switched off and unplugged before carrying out any work on the tool.
Installing or removing the bit 
- Shaft lock
- Wrench
CAUTION:
- Install the bit securely. Always use only the wrench provided with the tool. A loose or overtightened bit can be dangerous.
- Use always a collet which is suitable for the shank diameter of the bit.
- Do not tighten the collet nut without inserting a bit or install small shank bits without using a collet sleeve. Either can lead to breakage of the collet cone.
- Use only router bits of which the maximum speed, as indicated on the bit, does exceed the maximum speed of the router.
Insert the bit all the way into the collet cone. Press the shaft lock to keep the shaft stationary and use the wrench to tighten the collet nut securely. When using router bits with smaller shank diameter, first insert the appropriate collet sleeve into the collet cone, then install the bit as described above.
To remove the bit, follow the installation procedure in reverse.
OPERATION
CAUTION:
- Before operation, always make sure that the tool body automatically rises to the upper limit and the bit does not protrude from the tool base when the lock lever is loosened.
- Before operation, always make sure that the chip deflector is installed properly.
Always use both grips and firmly hold the tool by both grips during operations.
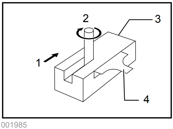
Set the tool base on the workpiece to be cut without the bit making any contact. Then turn the tool on and wait until the bit attains full speed. Lower the tool body and move the tool forward over the workpiece surface, keeping the tool base flush and advancing smoothly until the cutting is complete.
When doing edge cutting, the workpiece surface should be on the left side of the bit in the feed direction.
- Workpiece
- Bit revolving direction
- View from the top of the tool
- Feed direction
001984
NOTE:
- Moving the tool forward too fast may cause a poor quality of cut, or damage to the bit or motor. Moving the tool forward too slowly may burn and mar the cut. The proper feed rate will depend on the bit size, the kind of workpiece and depth of cut. Before beginning the cut on the actual workpiece, it is advisable to make a sample cut on a piece of scrap lumber. This will show exactly how the cut will look as well as enable you to check dimensions.
- When using the straight guide or the trimmer guide, be sure to install it on the right side in the feed direction. This will help to keep it flush with the side of the workpiece.

- Feed direction
- Bit revolving direction
- Workpiece
- Straight guide
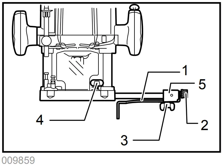
Straight guide 
- Straight guide
- Fine adjusting screw
- Clamping screw (B)
- Clamping screw (A)
- Guide holder
The straight guide is effectively used for straight cuts when chamfering or grooving.
Install the straight guide on the guide holder with the clamping screw (B). Insert the guide holder into the holes in the tool base and tighten the clamping screw (A).
To adjust the distance between the bit and the straight guide, loosen the clamping screw (B) and turn the fine adjusting screw (1.5 mm per turn). At the desired distance, tighten the clamping screw (B) to secure the straight guide in place.
Wider straight guide of desired dimensions may be made by using the convenient holes in the guide to bolt on extra pieces of wood.
- More than 15 mm
- Straight guide
- Wood
When using a large diameter bit, attach pieces of wood to the straight guide which have a thickness of more than 15 mm to prevent the bit from striking the straight guide.
When cutting, move the tool with the straight guide flush with the side of the workpiece.
If the distance between the side of the workpiece and the cutting position is too wide for the straight guide, or if the side of the workpiece is not straight, the straight guide cannot be used. In this case, firmly clamp a straight board to the workpiece and use it as a guide against the trimmer base. Feed the tool in the direction of the arrow.
Fine Adjusting Straight Guide (accessory)
When Router is Mounted
Insert the two rods (Rod 10) into the outer mounting slots of the guide holder, and secure them by tightening the two clamping screws (M15 x 14mm). Check to make sure that the thumb nut (M6 x 50mm) is tightened down, and then slide the router’s base mounting unit onto the two rods (Rod 10), and tighten the base’s clamping screws.
Fine Adjusting Function for Positioning Blade in Relation to Straight Guide
- Loosen thumb nut (M6 x 50mm).
- Thumb nut (M10 x 52mm) can be turned to adjust position (one turn adjusts the position by 1mm).
- After completing position adjustment, tighten thumb nut (M6 x 50mm) until secure.
Scale ring can be rotated separately, so scale unit can be aligned to zero (0).
Guide Shoe Width Alteration
Loosen the screws marked by the circles to alter the width of the guide shoe in the left and right directions.
After altering width, tighten the screws until they are secure. Guide shoe width (d) alteration range is 280mm to 350mm.
1. Screws
2. Movable
1. When set to minimum opening width
1. When set to maximum opening width
Templet guide (optional accessory)
The templet guide provides a sleeve through which the bit passes, allowing use of the tool with templet patterns.
To install the templet guide, pull the lock plate lever and insert the templet guide.
- Template guide
- Lock plate
Secure the templet to the workpiece. Place the tool on the templet and move the tool with the templet guide sliding along the side of the templet.
- Bit
- Base
- Templet
- Workpiece
- Distance (X)
- Outside diameter of the templet guide
- Templet guide
NOTE:
- The workpiece will be cut a slightly different size from the templet. Allow for the distance (X) between the bit and the outside of the templet guide. The distance (X) can be calculated by using the following equation: Distance (X) = (outside diameter of the templet guide – bit diameter) / 2
Trimmer guide (optional accessory)
Trimming, curved cuts in veneers for furniture and the like can be done easily with the trimmer guide. The guide roller rides the curve and assures a fine cut.
Install the trimmer guide on the guide holder with the clamping screw (B). Insert the guide holder into the holes in the tool base and tighten the clamping screw (A). To adjust the distance between the bit and the trimmer guide, loosen the clamping screw (B) and turn the fine adjusting screw (1.5 mm per turn). When adjusting the guide roller up or down, loosen the clamping screw (C). After adjusting, tighten all the clamping screws securely.
- Guide holder
- Adjusting screw
- Clamping screw (B)
- Clamping screw (C)
- Trimmer guide
- Clamping screw (A)
When cutting, move the tool with the guide roller riding the side of the workpiece.
- Bit
- Guide roller
- Workpiece
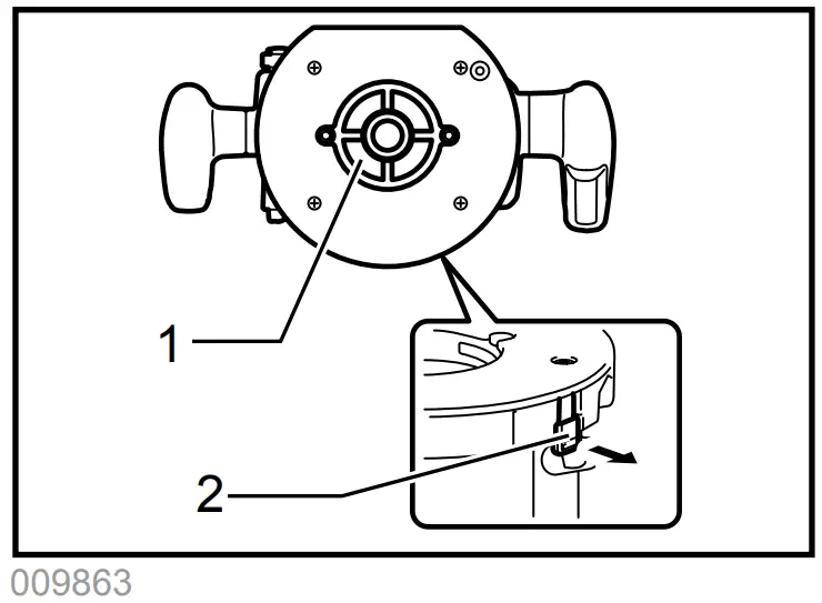
Dust nozzle set (Accessory)
009878
- Dust nozzle
- Clamping screw
Use the dust nozzle for dust extraction. Install the dust nozzle on the tool base using the thumb screw so that protrusion on the dust nozzle fit to the notch in the tool base.
Then connect a vacuum cleaner to the dust nozzle.
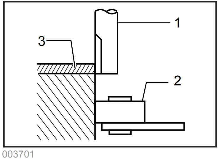
How to use screw M6 x 135 for adjusting the depth of cut
When using the tool with a router table available in the market, using this screw allows an operator to obtain a small amount of adjustment of the depth of cut from above the table.
- Flat washer 6
- Screw M6x135
1. Installing the screw and washer on the tool
- Attach flat washer onto this screw.
- Insert this screw through a screw hole in the tool base and then screw in the threaded part in the motor bracket of the tool.
Flat washer 6- Screw M6x135

- Hole

- Screw M6x135
- Threaded part in the motor bracket
At this time, apply some grease or lubricating oil to the inside of the screw hole in the tool base and the threaded part in the motor bracket.
1. Inside of the screw hole in the tool base
1. Threaded part in the motor bracket
2. Adjusting the depth of cut
- A small amount of depth of cut can be obtained by turning this screw with a screwdriver from above the table. (1.0 mm per a full turn)
- Turning it clockwise makes the depth of cut greater and turning it counterclockwise smaller.

- Screwdriver
MAINTENANCE
CAUTION:
- Always be sure that the tool is switched off and unplugged before attempting to perform inspection or maintenance.
Replacing carbon brushes
1. Limit mark
Remove and check the carbon brushes regularly.
Replace when they wear down to the limit mark. Keep the carbon brushes clean and free to slip in the holders. Both carbon brushes should be replaced at the same time. Use only identical carbon brushes.
Use a screwdriver to remove the brush holder caps. Take out the worn carbon brushes, insert the new ones and secure the brush holder caps.
- Brush holder cap
- Screwdriver
After replacing brushes, plug in the tool and break in brushes by running tool with no load for about 10 minutes. Then check the tool while running and electric brake operation when releasing the switch trigger. If electric brake is not working well, ask your local Makita service center for repair.
To maintain product SAFETY and RELIABILITY, repairs, any other maintenance or adjustment should be performed by Makita Authorized Service Centers, always using Makita replacement parts.
ACCESSORIES
CAUTION:
- These accessories or attachments are recommended for use with your Makita tool specified in this manual. The use of any other accessories or attachments might present a risk of injury to persons. Only use accessory or attachment for its stated purpose.
If you need any assistance for more details regarding these accessories, ask your local Makita Service Center.
- Straight & groove forming bits
- Edge forming bits
- Laminate trimming bits
- Straight guide
- Trimmer guide
- Guide holder
- Templet guides
- Templet guide adapter
- Lock nut
- Collet cone 12 mm, 1/2″
- Collet sleeve 6 mm, 8 mm, 10 mm
- Collet sleeve 3/8″, 1/4″
- Wrench 24
- Vacuum head set
Router bits 

Makita Corporation
Flat washer 6

















