RYOBI P2705 18 Volt 8 Inch Cultivator

See this fold-out section for all the figures referenced in the operator’s manual.
IMPORTANT SAFETY INSTRUCTIONS
WARNING!
When using electric gardening appliances, basic safety precautions should always be followed to reduce the risk of fire, electric shock and personal injury.
READ ALL INSTRUCTIONS
- For safe operation, read and understand all instructions before using this product. Follow all safety instructions. Failure to follow all safety instructions listed below, can result in serious personal injury.
- Do not allow children or untrained individuals to use this unit.
- Always wear eye protection with side shields marked to comply with ANSI Z87.1. Following this rule will reduce the risk of serious personal injury.
- Use Safety Glasses – Wear a face or dust mask if the operation is dusty. Always wear safety glasses with side shields. Everyday glasses have only impact resistant lenses. They are NOT safety glasses. Following this rule will reduce the risk of eye injury.
- Protect your lungs. Wear a face or dust mask if the op-eration is dusty. Following this rule will reduce the risk of serious personal injury.
- Dress Properly – Do not wear loose clothing or jewelry. They can be caught in moving parts. Use of rubber gloves and substantial footwear is recommended when working outdoors. Wear heavy, long pants, long sleeves, boots, and gloves. Do not wear short pants, sandals, or go barefoot. Do not wear jewelry of any kind. Secure long hair above shoulder level to prevent entanglement in moving parts.
- Keep children away – Keep all bystanders, children, and pets at least 50 ft. away.
- Stay alert – Watch what you are doing. Use common sense. Do not operate this unit when you are tired, ill, or under the influence of alcohol, drugs, or medication.
- Do not operate in poor lighting.
- Keep all parts of your body away from any moving part.
- Do not operate power tools in explosive atmospheres, such as in the presence of flammable liquids, gases, or dust. Power tools create sparks which may ignite the dust or fumes.
- Avoid body contact with grounded surfaces such as pipes, radiators, ranges, and refrigerators. There is an increased risk of electric shock if your body is grounded.
- Avoid Dangerous Environments – Don’t expose appliance or cultivator to rain or wet conditions. Water entering an appliance or cultivator will increase the risk of electric shock.
- Use Right Appliance – Do not force tool. Use the correct tool for your application. The correct tool will do the job better and safer at the rate for which it is designed.
- Don’t Force Appliance – It will do the job better and with less likelihood of a risk of injury at the rate for which it was designed.
- Do not operate the equipment while barefoot or when wearing sandals or similar lightweight footwear. Wear protective footwear that will protect your feet and improve your footing on slippery surfaces.
- Do not overreach – Keep firm footing and balance. Over-reaching can result in loss of balance.
- Avoid accidental starting – Be sure switch trigger is in the locked or off position before inserting battery pack. Carrying tools with your finger on the switch trigger or inserting the battery pack into a tool with the switch on invites accidents.
- Do not use tool if switch trigger does not turn it on or off. Any tool that cannot be controlled with the switch trigger is dangerous and must be repaired.
- Disconnect battery pack – Disconnect battery pack from the appliance before storing, servicing, or changing ac-cessories such as tines. Such preventive safety measures reduce the risk of starting the tool accidentally.
- Use only identical manufacturer’s replacement parts and accessories. Use of any other parts may create a hazard or cause product damage.
- Check for damaged parts – Before further use of the tool, any part that is damaged should be carefully checked to determine that it will operate properly and perform its intended function. Check for alignment of moving parts, binding of moving parts, breakage of parts, mounting, and any other conditions that may affect its operation. A guard or other part that is damaged should be properly repaired or replaced by an authorized service dealer.
- Never operate the machine without proper guards, plates, or other safety protective devices in place.
- Use only the manufacturer’s replacement tines. Do not use any other cutting attachment, for example, metal wire, rope, or the like. To install any other brand of tine to this cultivator can result in serious personal injury.
- Never operate unit without the tine shield in place and in good condition.
- Maintain a firm grip on both handles while cutlivating.
- Store idle appliances indoors – When not in use, cultivator should be stored indoors in a dry, locked place out of the reach of children.
- Inspect area to be cultivated. Remove objects (rocks, broken glass, nails, wire, string, etc.) which can be thrown by tines.
- Be extremely careful when tilling in hard ground. The equipment may unexpectedly bounce upward or jump forward if the tines should strike buried obstacles such as large stones, roots, or stumps.
- Keep the air vents clean and free of debris to avoid over-heating the motor. Clean after each use.
- Never operate the cultivator without good visibility or light.
- Rotating tines can cause severe injury; do not allow hands, feet, or any other part of the body or clothing near the rotating tines or any other moving part. The tines begin to rotate once the lock-out button is depressed and switch trigger is pulled. The tines continue to rotate until the switch trigger is released.
- Do not operate the machine without wearing adequate outer garments. Avoid loose garments or jewelry that could get caught in moving parts of the machine or its engine.
- Do not put hands or feet near or under tines.
- Always refer to the operator’s manual for important details if the cultivator is to be stored for an extended period.
- Do not use near underground electric cables, telephone lines, pipes, or hoses. If in doubt, contact your utility or telephone company to locate underground services.
- If the unit strikes a foreign object, stop the motor, discon-nect the battery pack, thoroughly inspect the machine for any damage, and repair the damage before restarting and operating the machine.
- If the cultivator should start to vibrate abnormally or become noisy, stop the motor and check immediately for the cause. Abnormal noise is generally a warning of trouble.
- Stop the motor and disconnect the battery pack before unclogging the tines and when making any repairs, ad-justments, or inspections.
- Do not overload the machine capacity by cultivating too deep in a single pass or at too fast a rate.
- Stay alert. Watch what you are doing. Use common sense. Do not operate cultivator when you are tired, ill, or upset.
- Be aware that the equipment may unexpectedly bounce upward or jump forward if the tines should strike buried obstacles such as large stones, roots, or stumps.
- Do not use any attachments or accessories not recom-mended by the manufacturer of this product.
- Never operate the equipment on a slope.
- Use extreme caution when pulling the machine towards you.
- Start the unit carefully according to instructions from a normal operating position and with feet well away from the tines. Do not force cultivator. It will do the job better and with less likelihood of a risk of injury at the rate for which it was designed.
- Maintain cultivator with care. Keep tines clean for best performance and reduce the risk of injury. Follow instruc-tions for lubrication and changing accessories. Inspect tines periodically and, if damaged, have them replaced. Keep handles dry, clean, and free from grease and lubri-cant.
- Check damaged parts. Before further use of this cultivator, a guard or other part that is damaged should be care-fully checked to determine that it will operate properly and perform its intended function. Check for alignment of moving parts, binding of moving parts, breakage of parts, mounting, and any other condition that may af-fect its operation. A guard or other part that is damaged should be properly repaired or replaced by an authorized service center unless otherwise indicated elsewhere in this manual.
- Stop the unit and disconnect the power source when not in use. Carry the unit with the motor stopped.
- Store out of the reach of children.
- Do not hang unit so that the switch trigger is depressed.
- Battery tools do not have to be plugged into an electrical outlet; therefore, they are always in operating condition. Be aware of possible hazards when not using your bat-tery tool or when changing accessories. Following this rule will reduce the risk of electric shock, fire, or serious personal injury.
- Do not charge battery tool in rain, or damp or wet location. Following this rule will reduce the risk of electric shock.
- Do not use battery-operated appliance in rain.
- Remove or disconnect battery before servicing, cleaning or removing material from the gardening appliance.
- Use this product only with batteries and chargers listed in tool/appliance/battery pack/charger correlation supple-ment 987000-432.
- Do not dispose of the batteries in a fire. The cell may explode. Check with local codes for possible special disposal instructions.
- Do not open or mutilate the batteries. Released electrolyte is corrosive and may cause damage to the eyes or skin. It may be toxic if swallowed.
- Do not place battery tools or their batteries near fire or heat. This will reduce the risk of explosion and possibly injury.
- Batteries can explode in the presence of a source of ignition, such as a pilot light. To reduce the risk of seri-ous personal injury, never use any cordless product in the presence of open flame. An exploded battery can propel debris and chemicals. If exposed, flush with water immediately.
- Do not crush, drop or damage battery pack. Do not use a battery pack or charger that has been dropped or received a sharp blow. A damaged battery is subject to explosion. Properly dispose of a dropped or damaged battery immediately.
- Exercise care in handling batteries in order not to short the battery with conducting materials such as rings, bracelets, and keys. The battery or conductor may overheat and cause burns.
- For best results, your battery tool should be charged in a location where the temperature is more than 50°F but less than 100°F. To reduce the risk of serious personal injury, do not store outside or in vehicles.
- Under extreme usage or temperature conditions, battery leakage may occur. If liquid comes in contact with your skin, wash immediately with soap and water. If liquid gets into your eyes, flush them with clean water for at least 10 minutes, then seek immediate medical attention. Following this rule will reduce the risk of serious personal injury.
- Save these instructions. Refer to them frequently and use them to instruct others who may use this power tool. If you loan someone this power tool, loan them these instructions also.
DANGER:
Indicates a hazardous situation, which, if not avoided, will result in death or serious injury.
WARNING:
Indicates a hazardous situation, which, if not avoided, could result in death or serious injury.
CAUTION:
Indicates a hazardous situation, that, if not avoided, may result in minor or moderate injury.
NOTICE:
(Without Safety Alert Symbol) Indicates information considered important, but not related to a potential injury (e.g. messages relating to property damage).
Some of the following symbols may be used on this product. Please study them and learn their meaning. Proper interpretation of these symbols will allow you to operate the product better and safer.
FEATURES
PRODUCT SPECIFICATIONS
- Motor……………………………………………………………..18 V DC
- Width Capacity………………………………………………………8 in.
- Depth Capacity……………………………………………………..4 in.
Speed
- Low………………………………………. .. 0-200/min (RPM)
- Medium………………………………….. .. 0-250/min (RPM)
- High………………………………………. .. 0-300/min (RPM)
KNOW YOUR CULTIVATOR
See Figure 1.
The safe use of this product requires an understanding of the information on the tool and in this operator’s manual as well as a knowledge of the project you are attempting. Before use of this product, familiarize yourself with all operating features and safety rules.
KEYHOLE HANGER
Built in hanger allows you to easily and conveniently store the unit safely out of the way.
LOCK-OUT BUTTON
The lock-out button prevents accidental starting.
REAR HANDLE WITH OVERMOLD
The rear handle with overmold provides added user comfort.
VARIABLE SPEED LEVER
The variable speed lever, located on top of the rear handle, allows the cultivator to operate at different speeds. The maximum speed can be adjusted before or during operation.
ASSEMBLY
UNPACKING
This product requires assembly.
- Carefully remove the product and any accessories from the box. Make sure that all items listed in the packing list are included.
- Inspect the product carefully to make sure no breakage or damage occurred during shipping.
- Do not discard the packing material until you have carefully inspected and satisfactorily operated the product.
- If any parts are damaged or missing, please call 1- 800-525-2579 for assistance.
WARNING
- Do not use this product if any parts on the Packing List are already assembled to your product when you unpack it. Parts on this list are not assembled to the product by the manufacturer and require customer installation. Use of a product that may have been improperly assembled could result in serious personal injury.
- If any parts are damaged or missing do not operate this product until the parts are replaced. Use of this product with damaged or missing parts could result in serious personal injury.
- Do not attempt to modify this product or create accessories not recommended for use with this product. Any such alteration or modification is misuse and could result in a hazardous condition leading to possible serious personal injury.
- To prevent accidental starting that could cause serious personal injury, always remove the battery pack from the product when assembling parts.
PACKING LIST
Cultivator (Lower and Upper End) Front Handle Assembly Operator’s Manual
TOOLS NEEDED
See Figure 2.
The following tool (not included or drawn to scale) is needed for assembly:
- Phillips Screwdriver

ATTACHING THE FRONT HANDLE
See Figure 3.
- Loosen and remove the wing nut and bolt from the handle.
- Install the handle on the rear handle pole in the areaindicated by the illustration.
- Adjust handle up or down, if necessary, to desiredoperating position.
- Reinstall the wing nut and bolt. Tighten wing nut to secure.
ASSEMBLING THE TOOL
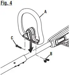
See Figure 4.
- Remove the battery pack if installed.
- Align the two indentations in the upper end with the screws in the lower end. Insert the upper end into the lower end.
- Push the two sections together until the upper end stops.
- Turn each of the two screws until securely tightened.
WARNING
- Never assemble the cultivator with the battery pack in-stalled. Failure to stop the motor or remove the battery pack can result in serious personal injury.
- Be certain the ends are locked into place before operating cultivator; check it periodically for tightness during use to avoid possible disconnection of ends, which could result in serious personal injury.
- This cultivator is designed to use only the provided lower and upper ends. It is not capable of using other attachments or cutting heads. Attempting to use other attachments or cutting heads could result in serious personal injury.
CAUTION:
Be careful when sliding the two ends together to avoid pinching the cable, your hands, or fingers.
OPERATION
WARNING:
- Do not allow familiarity with products to make you care-less. Remember that a careless fraction of a second is sufficient to inflict serious injury.
- Always wear eye protection with side shields marked to comply with ANSI Z87.1. Failure to do so could result in objects being thrown into your eyes and other possible serious injuries.
- Do not use any attachments or accessories not recommended by the manufacturer of this product. The use of attachments or accessories not recommended can result in serious personal injury.
- Do not allow hands, feet, or any other part of the body or clothing near the oscillating tines or any other moving part. The tines begin to oscillate once the lock-out button is depressed and switch trigger is pulled. The tines continue to oscillate until the switch trigger is released. Failure to avoid contact could cause serious personal injury.
- Always remove battery pack from your tool when you are assembling parts, making adjustments, cleaning, or when not in use. Removing battery pack will prevent accidental starting that could cause serious personal injury.
NOTICE:
Before each use, inspect the entire product for damaged, missing, or loose parts such as screws, nuts, bolts, caps, etc. Tighten securely all fasteners and caps and do not operate this product until all missing or damaged parts are replaced. Please contact customer service or a qualified service center for assistance
INSTALLING/REMOVING BATTERY PACK
See Figure 5.
- Insert the battery pack into the product as shown.
- Make sure the latches on each side of the battery pack snap in place and that battery pack is secured in the product before beginning operation.
- Depress the latches to remove the battery pack.
WARNING:
To avoid serious personal injury, always remove the bat-tery pack and keep hands clear of the lock-out button when carrying or transporting the tool.For complete charging instructions, see the operator’s manuals for your battery pack and charger.
STARTING/STOPPING THE CULTIVATOR
See Figure 6.
- To start the cultivator, press and hold the trigger lock-out, then depress the switch trigger.
- To stop the cultivator, release the switch trigger.
VARIABLE SPEED LEVER
See Figure 6.
To increase or decrease the speed:
- Hold the cultivator in normal operating position and fully depress the switch trigger.
- Gradually push the speed lever to the positive ( + ) symbol to increase speed. Push to the negative ( − ) symbol to decrease speed.
- Avoid running the tool at low speeds for extended periods of time. Running at low speeds under constant usage may cause the tool to become overheated.
Use these guidelines to determine correct speed for various applications:
- LOW speeds are ideal when cultivating on hard, rough, or uneven ground.
- MEDIUM speeds are suitable for general cultivation and aeration.
- HIGH speeds are best for shallow cultivation.
OPERATING THE CULTIVATOR
See Figures 7 – 11.




WARNING:
Always hold the cultivator away from the body keeping clearance between the body and the cultivator. Any con-tact with the tines while operating can result in serious personal injury.
- Hold the cultivator with your right hand on the rear handle and your left hand on the front handle.
- Keep a firm grip with both hands while in operation.
- Cultivator should be held at a comfortable position with the rear handle about hip height.
- Make sure the work area is clean and free of obstructions.
- Push the lock-out button and apply light pressure on the switch trigger to begin tine rotation.
- Lower the tines into the ground and completely engage the switch trigger.
- Gradually push the speed lever to your desired speed.
- Move the unit forward and back to break up soil. NOTE: Move slowly when learning to use the unit and when cultivating on hard, rough, or uneven ground.
- If the soil is very hard, water a few days before cultivating.
- Avoid working the soil when soggy or wet. Wait a day or two after heavy rain for the ground to dry.
- To dig more deeply, apply downward pressure on the mo-tor head by pushing the front handle toward the ground. NOTE: Deep cultivation may be needed to break up garden soil and prepare a seed bed for planting.
- For shallow cultivating, raise the motor head by lifting the front handle upward.
NOTE: Shallow cultivating less than 2 in. deep can be used to disrupt weeds and aerate soil, without injuring nearby plant roots. - For narrow cultivating, remove the hitch pins and outer tines. Secure the inner tines in place by installing the hitch pins into the holes that were uncovered when the outer tines were removed.
NOTE: When viewed from the front, as shown in figure 11, the left outer tine is stamped “D” and the right outer tine is stamped “A”. When reassembling the cultivator, secure the outer tines on the correct side of the shaft. NOTE: The unit will not operate properly if the tines are installed incorrectly. If you notice a problem with the cultivating operation of the unit, check for proper tine positioning.
If the tines become obstructed:
- Remove the battery pack.
- Remove obstruction from the tines.
NOTE: Use a screwdriver or a small stick to remove ob-structions. Do not try to unclog the tines by tapping the motor head against the ground as this could bend the tines or damage the unit.
If the tine shaft becomes obstructed:
- Remove the battery pack.
- Remove the hitch pin and tines from one side of the tine shaft.
- Remove vines, grass or other obstructions wrapped around the tine shaft.
- Replace the tines in the order that they were removed and secure with hitch pin.
- Repeat these steps to clean the other side of the tine shaft.
NOTE: The tool has four tines for cultivating — two inner tines stamped “B” and “C”, and two outer tines stamped “A” and “D”. When viewed from the front, as shown in figure 11, the tines stamped “D” and “C” are on the left and the tines stamped “A” and “B” are on the right. For correct operation of the unit, the tines must be installed in the correct orientation.
NOTE: The unit will not operate properly if the tines are installed incorrectly. If you notice a problem with the cultivating operation of the unit, check for proper tine positioning.
MAINTENANCE
WARNING:
- To avoid serious personal injury, always remove the battery pack from the product before inspecting, cleaning or performing any maintenance.
- Always wear eye protection with side shields marked to comply with ANSI Z87.1. Failure to do so could result in objects being thrown into your eyes resulting in possible serious injury.
- When servicing, use only identical replacement parts. Use of any other parts could create a hazard or cause product damage.
- Do not at any time let brake fluids, gasoline, petroleum-based products, penetrating oils, etc., come in contact with plastic parts. Chemicals can damage, weaken or destroy plastic which may result in serious personal injury.
NOTICE:
Periodically inspect the entire product for damaged, missing, or loose parts such as screws, nuts, bolts, caps, etc. Tighten securely all fasteners and caps and do not operate this product until all missing or damaged parts are replaced. Please contact customer service or a quali-fied service center for assistance.
GENERAL MAINTENANCE
Avoid using solvents when cleaning plastic parts. Most plastics are susceptible to damage from various types of commercial solvents and may be damaged by their use. Use clean cloths to remove dirt, dust, oil, grease, etc.
TROUBLESHOOTING
| PROBLEM | POSSIBLE CAUSE | SOLUTION |
| Tines will not rotate | Tines are clogged by dirt and debris. Vines, grass or other debris wrapped around tine shaft. | Remove the battery pack, then remove any obstruction from the tines. Remove the battery pack, then clean the tine shaft. |
| Motor fails to start when switch trigger is depressed | Battery is not secure.
Battery is not charged. | To secure the battery pack, make sure the latches on each side of the battery pack snap into place. Charge the battery pack according to the instructions included with your model. |
| The tines stop rotating | The unit is overloaded. | Release the switch trigger and raise the tines. Restart the cultivator and slowly lower the tines back to their original depth. |
This product has a Three-year Limited Warranty for personal, family, or household use (30 days for business or commercial use). For warranty details, visit www.ryobitools.com or call (toll-free) 1-800-525-2579.





















