RYOBI TVM01 12 Volt Rotary Tool Owner’s Manual
GENERAL POWER TOOL
SAFETY WARNINGS
WARNING:
Read all safety warnings, instructions, illustrations and specifications provided with this power tool. Failure to follow all instructions listed below may result in electric shock, fire and/or serious injury.
Save all warnings and instructions for future reference.
The term “power tool” in the warnings refers to your mains operated (corded) power tool or battery-operated (cordless) power too.
WORK AREA SAFETY
- Keep work area clean and well lit. Cluttered or dark areas invite accidents.
- Do not operate power tools in explosive atmospheres, such as in the presence of flammable liquids, gases or dust. Power tools create sparks which may ignite the dust or fumes.
- Keep children and bystanders away while operating a power tool. Distractions can cause you to lose control.
ELECTRICAL SAFETY
- Power tool plugs must match the outlet. Never modify the plug in any way. Do not use any adapter plugs with earthed (grounded) power tools. Unmodified plugs and matching outlets will reduce risk of electric shock.
- Avoid body contact with earthed or grounded surfaces, such as pipes, radiators, ranges and refrigerators. There is an increased risk of electric shock if your body is earthed or grounded.
- Do not expose power tools to rain or wet conditions. Water entering a power tool will increase the risk of electric shock.
- Do not abuse the cord. Never use the cord for carrying, pulling or unplugging the power tool. Keep cord away from heat, oil, sharp edges or moving parts. Damaged or entangled cords increase the risk of electric shock.
- When operating a power tool outdoors, use an extension cord suitable for outdoor use. Use of a cord suitable for outdoor use reduces the risk of electric shock.
- If operating a power tool in a damp location is unavoidable, use a ground fault circuit interrupter (GFCI) protected supply. Use of a GFCI reduces the risk of electric shock.
- Use only UL listed USB sources to charge this device. Use of any non-UL Listed USB sources may create a risk of fire.
PERSONAL SAFETY
- Stay alert, watch what you are doing and use common sense when operating a power tool. Do not use a power tool while you are tired or under the influence of drugs, alcohol or medication. A moment of inattention while operating power tools may result in serious personal injury.
- Use personal protective equipment. Always wear eye protection. Protective equipment such as a dust mask, non-skid safety shoes, hard hat, or hearing protection used for appropriate conditions will reduce personal injuries.
- Prevent unintentional starting. Ensure the switch is in the off-position before connecting to power source and/or battery pack, picking up or carrying the tool. Carrying power tools with your finger on the switch or energizing power tools that have the switch on invites accidents.
- Remove any adjusting key or wrench before turning the power tool on. A wrench or a key left attached to a rotating part of the power tool may result in personal injury.
- Do not overreach. Keep proper footing and balance at all times. This enables better control of the power tool in unexpected situations.
- Dress properly. Do not wear loose clothing or jewelry. Keep your hair and clothing away from moving parts. Loose clothes, jewelry or long hair can be caught in moving parts.
- If devices are provided for the connection of dust extraction and collection facilities, ensure these are connected and properly used. Use of dust collection can reduce dust-related hazards.
- Do not let familiarity gained from frequent use of tools allow you to become complacent and ignore tool safety principles. A careless action can cause severe injury within a fraction of a second.
- Do not wear loose clothing or jewelry. Contain long hair. Loose clothes, jewelry, or long hair can be drawn into air vents.
- Do not use on a ladder or unstable support. Stable footing on a solid surface enables better control of the power tool in unexpected situations.
POWER TOOL USE AND CARE
- Do not force the power tool. Use the correct power tool for your application. The correct power tool will do the job better and safer at the rate for which it was designed.
- Do not use the power tool if the switch does not turn it on and off. Any power tool that cannot be controlled with the switch is dangerous and must be repaired.
- Disconnect the plug from the power source and/ or remove the battery pack, if detachable, from the power tool before making any adjustments, changing accessories, or storing power tools. Such preventive safety measures reduce the risk of starting the power tool accidentally.
- Store idle power tools out of the reach of children and do not allow persons unfamiliar with the power tool or these instructions to operate the power tool. Power tools are dangerous in the hands of untrained users.
- Maintain power tools and accessories. Check for misalignment or binding of moving parts, breakage of parts and any other condition that may affect the power tool’s operation. If damaged, have the power tool repaired before use. Many accidents are caused by poorly maintained power tools.
- Keep cutting tools sharp and clean. Properly maintained cutting tools with sharp cutting edges are less likely to bind and are easier to control.
- Use the power tool, accessories and tool bits etc. in accordance with these instructions, taking into account the working conditions and the work to be performed. Use of the power tool for operations different from those intended could result in a hazardous situation.
- Keep handles and grasping surfaces dry, clean and free from oil and grease. Slippery handles and grasping surfaces do not allow for safe handling and control of the tool in unexpected situations.
BATTERY TOOL USE AND CARE
- Recharge only with the charger specified by the manufacturer. A charger that is suitable for one type of battery pack may create a risk of fire when used with another battery pack.
- Use power tools only with specifically designated battery packs. Use of any other battery packs may create a risk of injury and fire.
- When battery pack is not in use, keep it away from other metal objects, like paper clips, coins, keys, nails, screws or other small metal objects, that can make a connection from one terminal to another. Shorting the battery terminals together may cause burns or a fire.
- Under abusive conditions, liquid may be ejected from the battery; avoid contact. If contact accidentally occurs, flush with water. If liquid contacts eyes, additionally seek medical help. Liquid ejected from the battery may cause irritation or burns.
- Do not use a battery pack or tool that is damaged or modified. Damaged or modified batteries may exhibit unpredictable behavior resulting in fire, explosion or risk of injury.
- Do not expose a battery pack or tool to fire or excessive temperature. Exposure to fire or temperature above 265°F may cause explosion.
- Follow all charging instructions and do not charge the battery pack or tool outside the temperature range specified in the instructions. Charging improperly or at temperatures outside the specified range may damage the battery and increase the risk of fire.
SERVICE
- Have your power tool serviced by a qualified repair person using only identical replacement parts. This will ensure that the safety of the power tool is maintained.
- Never service damaged battery packs. Service of battery packs should only be performed by the manufacturer or authorized service providers.
ROTARY TOOL SAFETY WARNINGS
SAFETY WARNINGS COMMON FOR GRINDING, SANDING, WIRE BRUSHING, POLISHING, CARVING OR ABRASIVE CUTTING-OFF OPERATIONS
- This power tool is intended to function as a grinder, sander, wire brush, polisher, carving or cut-off tool. Read all safety warnings, instructions, illustrations and specifications provided with this power tool. Failure to follow all instructions listed below may result in electric shock, fire and/or serious injury.
- Do not use accessories which are not specifically designed and recommended by the tool manufacturer. Just because the accessory can be attached to your power tool, it does not assure safe operation.
- The rated speed of accessories must be at least equal to the operating speed setting marked on the power tool. Accessories running faster than their rated speed can break and fly apart.
- The outside diameter and the thickness of your accessory must be within the capacity rating of your power tool. Incorrectly sized accessories cannot be adequately controlled.
- The arbour size of wheels, sanding drums or any other accessory must properly fit the spindle or collet of the power tool. Accessories that do not match the mounting hardware of the power tool will run out of balance, vibrate excessively and may cause loss of control.
- Mandrel mounted wheels, sanding drums, cutters or other accessories must be fully inserted into the collet or chuck. If the mandrel is insufficiently held and/or the overhang of the wheel is too long, the mounted wheel may become loose and be ejected at high velocity.
- Do not use a damaged accessory. Before each use inspect the accessory such as abrasive wheels for chips and cracks, sanding drum for cracks, tear or excess wear, wire brush for loose or cracked wires. If power tool or accessory is dropped, inspect for damage or install an undamaged accessory. After inspecting and installing an accessory, position yourself and bystanders away from the plane of the rotating accessory and run the power tool at maximum no-load speed for one minute. Damaged accessories will normally break apart during this test time.
- Wear personal protective equipment. Depending on application, use face shield, safety goggles or safety glasses. As appropriate, wear dust mask, hearing protectors, gloves and workshop apron capable of stopping small abrasive or workpiece fragments. The eye protection must be capable of stopping flying debris generated by various operations. The dust mask or respirator must be capable of filtrating particles generated by your operation. Prolonged exposure to high intensity noise may cause hearing loss.
- Keep bystanders a safe distance away from work area. Anyone entering the work area must wear personal protective equipment. Fragments of workpiece or of a broken accessory may fly away and cause injury beyond immediate area of operation.
- Hold power tool by insulated gripping surfaces only, when performing an operation where the cutting accessory may contact hidden wiring. Cutting accessory contacting a “live” wire may make exposed metal parts of the power tool “live” and could give the operator an electric shock.
- Always hold the tool firmly in your hand(s) during the start-up. The reaction torque of the motor, as it accelerates to full speed, can cause the tool to twist.
- Use clamps to support workpiece whenever practical. Never hold a small workpiece in one hand and the tool in the other hand while in use. Clamping a small workpiece allows you to use your hand(s) to control the tool. Round material such as dowel rods, pipes or tubing have a tendency to roll while being cut, and may cause the bit to bind or jump toward you.
- Position the cord clear of the spinning accessory. If you lose control, the cord may be cut or snagged and your hand or arm may be pulled into the spinning accessory.
- Never lay the power tool down until the accessory has come to a complete stop. The spinning accessory may grab the surface and pull the power tool out of your control.
- After changing the bits or making any adjustments, make sure the collet nut, chuck or any other adjustment devices are securely tightened. Loose adjustment devices can unexpectedly shift, causing loss of control, loose rotating components will be violently thrown.
- Do not run the power tool while carrying it at your side. Accidental contact with the spinning accessory could snag your clothing, pulling the accessory into your body.
- Regularly clean the power tool’s air vents. The motor’s fan will draw the dust inside the housing and excessive accumulation of powdered metal may cause electrical hazards.
- Do not operate the power tool near flammable materials. Sparks could ignite these materials.
- Do not use accessories that require liquid coolants. Using water or other liquid coolants may result in electrocution or shock.
- The maximum recommended diameter of mounted wheels, threaded cones and plugs shall not exceed 2.16 in. (55 mm) and that the maximum recommended diameter of sanding accessories shall not exceed 3.14 in. (80 mm).
KICKBACK AND RELATED WARNINGS
Kickback is a sudden reaction to a pinched or snagged rotating wheel, sanding band, brush or any other accessory. Pinching or snagging causes rapid stalling of the rotating accessory which in turn causes the uncontrolled power tool to be forced in the direction opposite of the accessory’s rotation.
For example, if an abrasive wheel is snagged or pinched by the workpiece, the edge of the wheel that is entering into the pinch point can dig into the surface of the material causing the wheel to climb out or kick out. The wheel may either jump toward or away from the operator, depending on direction of the wheel’s movement at the point of pinching. Abrasive wheels may also break under these conditions.
Kickback is the result of power tool misuse and/or incorrect operating procedures or conditions and can be avoided by taking proper precautions as given below.
- Maintain a firm grip on the power tool and position your body and arm to allow you to resist kickback forces. The operator can control torque reactions or kickback forces, if proper precautions are taken.
- Use special care when working corners, sharp edges, etc. Avoid bouncing and snagging the accessory. Corners, sharp edges or bouncing have a tendency to snag the rotating accessory and cause loss of control or kickback.
- Do not attach a toothed saw blade. Such blades create frequent kickback and loss of control.
- Always feed the bit into the material in the same direction as the cutting edge is exiting from the material (which is the same direction as the chips are thrown). Feeding the tool in the wrong direction causes the cutting edge of the bit to climb out of the work and pull the tool in the direction of this feed.
- When using rotary files, cut-off wheels, high-speed cutters or tungsten carbide cutters, always have the work securely clamped. These wheels will grab if they become slightly canted in the groove, and can kickback. When a cut-off wheel grabs, the wheel itself usually breaks. When a rotary file, high-speed cutter or tungsten carbide cutter grabs, it may jump from the groove and you could lose control of the tool.
SAFETY WARNINGS SPECIFIC FOR GRINDING AND ABRASIVE CUTTING-OFF OPERATIONS:
- Use only wheel types that are recommended for your power tool and only for recommended applications. For example: do not grind with the side of a cut-off wheel. Abrasive cut-off wheels are intended for peripheral grinding, side forces applied to these wheels may cause them to shatter.
- For threaded abrasive cones and plugs use only undamaged wheel mandrels with an unrelieved shoulder flange that are of correct size and length. Proper mandrels will reduce the possibility of breakage.
- Do not “jam” a cut-off wheel or apply excessive pressure. Do not attempt to make an excessive depth of cut. Overstressing the wheel increases the loading and susceptibility to twisting or snagging of the wheel in the cut and the possibility of kickback or wheel breakage.
- Do not position your hand in line with and behind the rotating wheel. When the wheel, at the point of operation, is moving away from your hand, the possible kickback may propel the spinning wheel and the power tool directly at you.
- When wheel is pinched, snagged or when interrupting a cut for any reason, switch off the power tool and hold the power tool motionless until the wheel comes to a complete stop. Never attempt to remove the cutoff wheel from the cut while the wheel is in motion otherwise kickback may occur. Investigate and take corrective action to eliminate the cause of wheel pinching or snagging.
- Do not restart the cutting operation in the work piece. Let the wheel reach full speed and carefully re-enter the cut. The wheel may bind, walk up or kickback if the
power tool is restarted in the work piece. - Support panels or any oversized work piece to minimize the risk of wheel pinching and kickback. Large work pieces tend to sag under their own weight. Supports must be laced under the work piece near the line of cut and near the edge of the work piece on both sides of the wheel.
- Use extra caution when making a “pocket cut” into existing walls or other blind areas. The protruding wheel may cut gas or water pipes, electrical wiring or objects that can cause kickback.
SAFETY WARNINGS SPECIFIC FOR WIRE BRUSHING OPERATIONS:
- Be aware that wire bristles are thrown by the brush even during ordinary operation. Do not overstress the wires by applying excessive load to the brush. The wire bristles can easily penetrate light clothing and/or skin.
- Allow brushes to run at operating speed for at least one minute before using them. During this time no one is to stand in front or in line with the brush. Loose bristles or wires will be discharged during the run-in time.
- Direct the discharge of the spinning wire brush away from you. Small particles and tiny wire fragments may be discharged at high velocity during the use of these brushes and may become imbedded in your skin.
ADDITIONAL SAFETY RULES
- WARNING – Some dust created by power sanding, sawing, grinding, drilling, and other common rotary tool activities contains chemicals known to cause cancer, birth defects or other reproductive harm. Some examples of these chemicals are:
- Lead from lead-based paints,
- Crystalline silica from bricks and cement and other masonry products, and
- Arsenic and chromium from chemically treated lumber.
Your risk from these exposures varies, depending on how often you do this type of work. To reduce your exposure to these chemicals: work in a well ventilated area, and work with approved safety equipment, such as those dust masks that are specially designed to filter out microscopic particles.
- Always use proper guard with grinding wheel. A guard protects operator from broken wheel fragments.
- Know your power tool. Read operator’s manual carefully. Learn its applications and limitations, as well as the specific potential hazards related to this tool. Following this rule will reduce the risk of electric shock, fire, or serious injury.
- Always wear eye protection with side shields marked to comply with ANSI Z87.1. Following this rule will reduce the risk of serious personal injury.
- Protect your lungs. Wear a face or dust mask if the operation is dusty. Following this rule will reduce the risk of serious personal injury.
- Protect your hearing. Wear hearing protection during extended periods of operation. Following this rule will reduce the risk of serious personal injury.
- This product is not intended for use with pet grooming, dental work, or any human or veterinarian medical applications.
- Keep pets away while operating this tool.
- Check damaged parts. Before further use of the tool, a guard or other part that is damaged should be carefully checked to determine that it will operate properly and perform its intended function. Check for alignment of moving parts, binding of moving parts, breakage of parts, mounting, and any other conditions that may affect its operation. A guard or other part that is damaged should be properly repaired or replaced by an authorized service center. Following this rule will reduce the risk of shock, fire, or serious injury.
- Inspect for and remove all nails from lumber before using this tool. Following this rule will reduce the risk of serious personal injury.
- Do not grind or sand heat flammable materials. Sparks from the wheel could ignite these materials.
- This product is not intended for use as a dental drill or in human or veterinary medical applications. Serious injury may result.
- When using steel screws, cut-off wheels, high speed cutters, or tungsten carbide cutters, always have the work securely clamped. Never attempt to hold the work with one hand while using any of these accessories.
- Battery tools do not have to be plugged into an electrical outlet; therefore, they are always in operating condition. Be aware of possible hazards when not using your battery tool or when changing accessories. Following this rule will reduce the risk of
electric shock, fire, or serious personal injury. - Do not place battery tools or their batteries near fire or heat. This will reduce the risk of explosion and possibly injury.
- Do not crush, drop or damage battery pack. Do not use a battery pack or charger that has been dropped or received a sharp blow. A damaged battery is subject to explosion. Properly dispose of a dropped or damaged battery immediately.
- Batteries can explode in the presence of a source of ignition, such as a pilot light. To reduce the risk of serious personal injury, never use any cordless product in the presence of open flame. An exploded battery can propel debris and chemicals. If exposed, flush with water immediately.
- Under extreme usage or temperature conditions, battery leakage may occur. If liquid comes in contact with your skin, wash immediately with soap and water. If liquid gets into your eyes, flush them with clean water for at least 10 minutes, then seek immediate
medical attention. Following this rule will reduce the risk of serious personal injury. - For organic material, a flex shaft accessory is required. Proper cleaning and sanitizing is required after use. Any material including organic material cut or altered by this tool is not intended nor suitable for human consumption.
- Save these instructions. Refer to them frequently and use them to instruct others who may use this product. If you loan someone this product, loan them these instructions also.
SYMBOLS
| The following signal words and meanings are intended to explain the levels of risk associated with this product. | ||
SYMBOL | SIGNAL | MEANING |
| DANGER: | Indicates a hazardous situation, which, if not avoided, will result in death or serious injury. |
| WARNING: | Indicates a hazardous situation, which, if not avoided, could result in death or serious injury. |
| CAUTION: | Indicates a hazardous situation, that, if not avoided, may result in minor or moderate injury. |
| NOTICE: | (Without Safety Alert Symbol) Indicates information considered important, but not related to a potential injury (e.g. messages relating to property damage). |
Some of the following symbols may be used on this product. Please study them and learn their meaning. Proper interpretation of these symbols will allow you to operate the product better and safer.
| SYMBOL | NAME | DESIGNATION/EXPLANATION |
| Safety Alert | Indicates a potential personal injury hazard. |
| Read Operator’s Manual | To reduce the risk of injury, user must read and understand operator’s manual before using this product. |
| Eye and Breathing Protection | Always wear eye protection with side shields marked to comply with ANSI Z87.1. Breathing protection may also be required depending on the type of attachment used and as prescribed elsewhere in this Operator’s Manual |
| Wet Conditions Alert | Do not expose to rain or use in damp locations |
| Long Hair | Secure long hair above shoulder level to prevent entanglement in moving parts |
| Recycle Symbol | This product uses lithium-ion (Li-ion) batteries. Local, state or federal laws may prohibit disposal of batteries in ordinary trash. Consult your local waste authority for information regarding available recycling and/or disposal options. |
V | Volts | Voltage |
min | Minutes | Time |
| Direct Current | Type or a characteristic of current |
n | Rated Speed | Rotational speed |
…/min | Per Minute | Per Minute R |
FEATURES
PRODUCT SPECIFICATIONS
Quick-Change Collet 1/8 in. Universal
Rated Speed 5,000-35,000/min (RPM)
A – Quick-change
B- Spindle lock button
C- On/off switch
D – Speed control dial
E – LED indicator
F – USB port (port
G – Accessories
H – USB cable
I – Collar
J – Tool hanger
ASSEMBLY
WARNING:
Do not use this product if it is not completely assembled or if any parts appear to be missing or damaged. Use of a product that is not properly and completely assembled or with damaged or missing parts could result in serious personal injury.
WARNING:
Do not attempt to modify this product or create accessories or attachments not recommended for use with this product. Any such alteration or modification is misuse and could result in a hazardous condition leading to possible serious personal injury.
If any parts are damaged or missing, please call 1-800-525-2579 for assistance.
OPERATION
WARNING:
Do not allow familiarity with this product to make you careless. Remember that a careless fraction of a second is sufficient to inflict serious injury.
WARNING:
Always wear eye protection with side shields marked to comply with ANSI Z87.1. Hearing protection may also be required depending on the type of attachment used and as prescribed elsewhere in this Operator’s Manual. Failure to do so could result in objects being thrown into your eyes and other possible serious injuries.
WARNING:
Do not use any attachments or accessories not recommended by the manufacturer of this product. The use of attachments or accessories not recommended can result in serious personal injury.
NOTICE:
To prevent damage to the spindle or spindle lock, always allow motor to come to a complete stop before engaging the spindle lock.
APPLICATIONS
You may use this product for the purposes listed below:
- Carving, engraving, etching, polishing, cleaning, removing rust, sanding, cutting, grinding, sharpening, drilling, and routing.
USING THE TOOL HANGER
Figure 1
A – Tool hanger
WARNING:
Do not use the tool hanger to hang the tool from your body. Do not suspend the tool overhead. Suspend only from stable and secure locations.
- Turn the tool off and remove accessories.
- Swing the tool hanger out and hang the tool on a suitable, stable structure.
LED LIGHT FUNCTIONS
Figure 2,
A – USB cable
B- USB-C port
C – LED indicator
When the tool is charged, the LED light will indicate the status of the battery.
| BATTERY STATUS | LED LIGHT SCENARIO |
| Normal | Solid Green (No Flashes) |
| Battery Level < 25% | Solid Red (No Flashes) |
| Low Battery | Flashing Red (3 Flashes) |
| Excessive Force | Flashing Red (6 Flashes) |
| Over Temperature | Flashing Red (9 Flashes) |
OVERLOAD PROTECTION
When the tool is forced or the motor is overloaded, the tool will automatically shut off. To reset the tool, wait 5 seconds, slide the on/off switch to the OFF position and then slide it to the ON position to resume operation. Do not force the tool.
HIGH TEMPERATURE PROTECTION
This tool is equipped with a high temperature protection feature that automatically deactivates the tool when it is overheated. To resume operation, allow the tool to cool and then turn the tool on.
CHARGING THE TOOL
Figure 2,
- Turn off the rotary tool.
- Insert the USB-C cable into the product as shown.
- Connect the USB cable to any powered USB port, or connect it to a USB power adapter (not included) and plug the adapter into a power supply.
- Make sure the power supply is normal household voltage, 120 volts, AC only, 60 Hz.
- When the tool is charging, the LED will flash green.
- Do not place tool in an area of extreme heat or cold. It will charge best at normal room temperature.
- If the LED flashes red at any point during charging, an error has occurred. Remove the USB cable and attempt to charge the tool later.
- After charging is complete, the LED will stop flashing and will remain green.
- Disconnect the USB power adaptor (not included) from the power supply or disconnect the USB cable from the powered USB port once the tool is fully charged and ready for use.
- Disconnect the USB-C cable from the tool.
QUICK-CHANGE COLLET
Figures 3
A – Quick-change
B – Shaft (arbre,
C – Spindle lock button
D- Threaded end
E – Loosen
F – Tighten
NOTE: The tool ships with a preinstalled collet that is machined to precision tolerances to fit accessories with 1/8 in. diameter shanks. When installed, the quick change collet allows the user to change accessories without tools and without removing the collet from the shaft. The quick change collet is not compatible with 1/16 in. shanks.
To remove/install the quick change collet:
- Turn off the rotary tool.
- Depress and hold the spindle lock button and rotate the shaft by hand until the spindle lock engages the shaft, preventing further rotation.
- With the spindle lock engaged, place the included 3/8 in. wrench on the bottom threaded end of the quick-change collet and turn counterclockwise to loosen. Continue turning counterclockwise to remove the collet from the tool.
- Remove the quick-change collet.
- To install, engage the spindle lock. Place the quick-change collet on the shaft and begin threading on by hand until there is resistance. Then use the included 3/8 in. wrench on the bottom threaded end of the collet and rotate clockwise until tightly secured.
WARNING:
Always use the collet which matches the shank size of the accessory you plan to use. Never force a large diameter shank into a collet. The accessory should fit smoothly into the collet, but you should be able to tighten the accessory firmly and securely with the quick-change collet.
INSTALLING/REMOVING ACCESSORIES
Figures 4
A – Quick-change
B – Accessory
C – Sleeve
D- Hexed end
To install:
- Turn off the rotary tool.
- Choose an accessory that fits the collet and is suitable for the application you are attempting.
- Ensure the quick-change collet is securely installed on the shaft.
- While depressing the spindle lock, use your hand to loosen the collet by rotating the sleeve counterclockwise.
- Insert the shank of the accessory into the collet until the shank bottoms out, then pull it out 1/16 in. to allow for expansion when the accessory gets hot.
- Rotate the collet sleeve clockwise until clicking stops and the accessory shank is gripped by the collet.
NOTE: If sleeve cannot be tightened or loosened sufficiently by hand, use the included 3/8 in. collet wrench on the top hexed area of the collet. Turn clockwise to
tighten or counterclockwise to loosen.
To remove:
- Turn off the rotary tool.
- Loosen the collet sleeve.
- Remove the accessory.
NOTE: When trying to remove an accessory, if the quickchange collet begins to unthread from the tool, repeat the install process.
DANGER:
If you are changing an accessory immediately after use, be careful not to touch the collet or the accessory with your hands or fingers. You will get burned because of the heat build-up from operation. Always use the wrench provided or allow the collet to cool.
USING MANDRELS
Figure 5
A – Screw
B – Accessory
C – Washer
D- Standard
E – Screw
F – Sanding drum
G – Drum mandrel
The most common types of mandrel to use with this tool include the standard mandrel which is used with grinding wheels and emery wheels. Screw mandrels are used with polishing wheels and polishing drums. Drum mandrels are used with sanding drums.
To install:
- Turn off the rotary tool.
- Install the mandrel.
If using the standard mandrel:
- Depress and hold the spindle lock button and rotate the mandrel by hand until the spindle lock engages preventing further rotation.
- Insert the slot end of the provided wrench into the slot on top of the mandrel and unscrew.
- Remove mandrel screw and washer.
- Place desired accessory over mandrel shaft and align accessory hole with mandrel hole.
- Insert mandrel screw with washer through the accessory and mandrel shaft holes.
NOTE: The mandrel washer should be placed between the mandrel screw and the accessory. - Tighten using provided wrench.
If using the screw mandrel:
- Align desired accessory hole with mandrel screw head.
- Screw accessory onto mandrel by twisting clockwise until secure.
If using the drum mandrel:
- Align appropriate sized sanding drum over mandrel and push down to completely cover drum end of mandrel.
NOTE: If necessary, tighten the screw on the drum mandrel head to expand the drum and securely hold the sanding drum in place.
BALANCING ACCESSORIES
For precision work, it is important that all accessories be properly balanced. To balance an accessory, slightly loosen the quick-change collet and give the accessory a 1/4 in. turn. You should be able to tell by the sound and feel if the accessory is running in balance. Continue adjusting in this fashion until the best balance is achieved. Replace accessories if they become damaged or unbalanced.
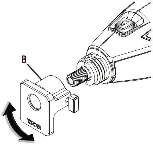
INSTALLING AN ATTACHME HEAD TO THE ROTARY TOOL
Figure 6
A – Collar
B – Attachment
WARNING:
Read and understand entire Operator’s Manual for each optional attachment head used on this rotary tool and follow all warnings and instructions. Failure to follow all instructions could result in electric shock, fire and/or serious personal injury.
WARNING:
This rotary tool is designed to be used only with the attachment head models that are specified in this Operator’s Manual. Use of other attachment heads could cause serious personal injuries or property damage.
WARNING:
Never install, remove, or adjust any attachment head while rotary tool is running. Failure to stop the motor can cause serious personal injury. Never operate rotary tool without an attachment head or the collar installed.
This rotary tool may be used with only the following RYOBI attachment heads:
- A90PG01 45 Degree Platform Guide
- A90PG02 90 Degree Platform Guide
- A90SG01 Chainsaw Sharpening Guide
- A90SG02 Mower Blade Sharpening Guide
- A90GG01 Grout Removal Guide
- A90DS01 Debris Shield Attachment
- A90CG01 Cutting Guide
- A90FS01 Flexible Shaft Attachment
To install an attachment head:
- Turn off the rotary tool.
- Remove accessories and quick-change collet.
- Hold the collar firmly, then turn it counterclockwise to loosen and remove.
- Follow the instructions in the RYOBI attachment head operator’s manual to install the attachment head.
To remove an attachment head:
- Turn off the rotary tool.
- Remove accessories and quick-change collet.
- Follow the instructions in the RYOBI attachment head operator’s manual to remove the attachment head.
- Reinstall the collar or install another attachment head.
TURNING THE ROTARY TOOL ON/OFF
Figure 7
A – On/off switch
B- Speed control dial
C – To increase speed
D – To decrease speed
To turn the rotary tool ON, slide the on/off switch to the ON position. To turn it OFF, slide the on/off switch to the OFF position.
SELECTING THE RIGHT SPEED
See Figure 7,
The rotary tool has a speed range of 5,000-35,000/min RPM. To select the right speed for each job, use a practice piece of material. Vary speed to find the best speed for the accessory you are using and the job to be done.
Use the indicator mark above the speed control dial to set the best speed for the job. The speed control dial is numbered 1 to 5. The speeds for each setting are:
- Speed (1) 5,000 RPM
- Speed (2) 12,500 RPM
- Speed (3) 20,000 RPM
- Speed (4) 27,000 RPM
- Speed (5) 35,000 RPM
Refer to the Application Speed Recommendations table to determine the proper speed based on the material being worked and the type of accessory being used.
SLOWER SPEEDS
Certain materials, some plastics for example, require a relatively slow speed because the friction of the tool generates heat and causes the plastic to melt at high speed.
Slow speeds (15,000 RPM or less) are usually best for polishing operations using the polishing accessories. They may also be best for working on delicate projects, delicate wood carving, and fragile model parts.
Higher speeds are better for carving, cutting, and shaping wood.
APPLICATION SPEED RECOMMENDATIONS* | ||||||||
| Type of Ac- cessory | Soft Wood | Hard Wood | Laminates Plastics | Steel | Aluminum, Brass, Etc. | Shell/ Stone | Ceramic | Glass |
| Cut-off Discs | 15-35K | 15-35K | 5-15K | 35K | 35K | N/A | N/A | N/A |
| Fiberglass Cut-off Wheel | 15-35K | 15-35K | 5-15K | 35K | 35K | N/A | N/A | N/A |
| Sanding Drums | 15-35K | 15-35K | 5-15K | 15-35K | 15-35K | 15-35K | N/A | N/A |
| Felt Polishing Wheels | 5-15K | 5-15K | 5-15K | 5-15K | 5-15K | 5-15K | 5-15K | 5-15K |
| Aluminum Oxide Grinding Stones | 15-35K | 15-35K | 5-15K | 15-35K | 15-35K | N/A | N/A | N/A |
| Silicon Carbide Grinding Stone | N/A | N/A | N/A | 15-35K | 15-35K | 15-35K | 5-35K | N/A |
| Drill Bit | 35K | 35K | 15-35K | 35K | 35K | — | — | — |
| Drywall Cutting Bit | 35K (Drywall only) | |||||||
*The settings provided in the chart are recommendations for operating ranges for best performance.
Hardwoods and glass require high speed operation. Drilling should also be done at high speeds.
To determine the optimum operational speed for different materials and accessories, refer to the Application Speed Recommendations table. Look this table over and become familiar with it.
The best way to determine the correct speed for work on any material is to practice for a few minutes on a piece of scrap, even after referring to the table. You can quickly learn that a slower or faster speed is more effective just by observing what happens when you make a pass or two at different speeds.
When working with a scrap piece of plastic, start at a slow rate of speed and increase the speed until you observe whether the plastic is melting at the point of contact; reduce the speed slightly to get optimum working speed without melting the work piece.
- Plastic and materials that could melt at low temperatures should be cut at low speeds.
- Soft wood should be cut at high speed.
OPERATING THE ROTARY TOOL
Figures 8
A – “Golf grip”
Figure 9
A – “Pencil grip”
Learning to use the rotary tool:
- Hold the tool in your hand and get used to its weight, balance, and the taper of the housing. This taper permits the tool to be grasped in a “pencil grip” or in a “golf grip” method.
- Examine the rotary tool accessories carefully. Damaged accessories can fly apart as they come up to speed and should not be used. The use of damaged accessories can result in serious personal injury.
- Practice on scrap materials first to see how the tool operates. Keep in mind that the work is done by the speed of the tool and by the accessory in the collet. You should not lean on or push the tool into the work.
It is best to make a series of passes with the tool rather than attempt to do all the work in one pass. To make a cut, pass the tool back and forth over the work like you would a small paint brush. Cut a little material on each pass until you reach the desired depth. For most work, a gentle touch is best; you will have greater control, make fewer errors, and get the most efficient work out of the accessory.
For the best control in close work, grip the tool like a pencil between your thumb and forefinger.
A “golf grip” method of holding the tool is used for operations such as grinding a flat surface.
To operate the rotary tool:
- Secure all work in a vise or clamp to a workbench to prevent it from moving under the tool.
- Hold the tool in front and away from you, keeping the tool accessory clear of the work piece.
- Turn on the tool and let the motor and accessory build up to full speed.
- Lower the tool gradually until the accessory contacts the work piece.
- Move the tool continuously at a steady, consistent pace.
- Use just enough pressure to keep the tool from chattering or bouncing.
NOTE: Heavy pressure will decrease the tool’s speed and put a strain on the motor. The weight of the tool alone is adequate for most jobs. - Lift the tool away from the work piece before turning off the tool.
MAINTENANCE
WARNING:
When servicing, use only identical replacement parts. Use of any other parts could create a hazard or cause product damage.
GENERAL MAINTENANCE
Avoid using solvents when cleaning plastic parts. Most plastics are susceptible to damage from various types of commercial solvents and may be damaged by their use. Use clean cloths to remove dirt, dust, oil, grease, etc.
WARNING:
Do not at any time let brake fluids, gasoline, petroleumbased products, penetrating oils, etc., come in contact with plastic parts. Chemicals can damage, weaken or destroy plastic which could result in serious personal injury
BATTERIES
This product is equipped with a lithium-ion rechargeable battery. Length of service from each charging will depend on the type of work you are doing.
The battery in this product has been designed to provide maximum trouble-free life. However, like all batteries, it will eventually wear out.
To obtain the longest possible battery life, we suggest the following:
- Remove the USB cable from the product once it is fully charged and ready for use.
For product storage longer than 30 days:
- Store the product where the temperature is below 80°F.
- Store the product in a “discharged” condition.
BATTERY PACK DISPOSAL
This product contains lithium-ion batteries. Local, state or federal laws may prohibit disposal of lithium-ion batteries in ordinary trash.
WARNING:
Do not attempt to disassemble the tool, or remove any component projecting from the tool. May result in electric shock, fire and/or serious personal injury. Prior to disposal, protect exposed terminals with heavy insulating tape to prevent shorting.
WARNING:
Do not open the tool or attempt to remove the battery from the tool. Dispose of entire tool through your local waste removal authority.
LITHIUM ION BATTERIES
The battery must be collected, recycled or disposed of in an environmentally sound manner.
The EPA certified RBRC Battery Recycling Seal on the lithium-ion (Li-ion) battery indicates TTI Consumer Power Tools, Inc., a corporate affiliate of Techtronic Industries North America, Inc., is voluntarily participating in an industry program to collect and recycle these batteries at the end of their useful life, when taken out of service in the United States or Canada. The RBRC program provides a convenient alternative to placing used Li-ion batteries into the trash or the municipal waste stream, which may be illegal in your area.
Please call 1-800-8-BATTERY or visit https://www.call2recycle.org/ for information on Li-ion battery recycling and disposal bans/restrictions in your area. Techtronic Industries North America, Inc. involvement in this program is part of our commitment to preserving our environment and conserving our natural resources.
NOTE: ILLUSTRATIONS START ON PAGE 14 AFTER FRENCH AND SPANISH LANGUAGE SECTIONS.
OPERATOR’S MANUAL/12 VOLT ROTARY TOOL MANUEL D’UTILISATION/OUTIL ROTATIF DE 12V MANUAL DEL OPERADOR/HERRAMIENTA ROTATORIA DE 12V TVM01
To request service, purchase replacement parts, locate an Authorized Service Center or obtain Customer or Technical Support: Visit www.ryobitools.com or call 1-800-525-2579
If any parts or accessories are damaged or missing, do not return this product to the store.
Call 1-800-525-2579 for immediate service.
Please obtain your model and serial number from the product data plate.
This product is covered under a 3-year limited Warranty. Proof of purchase is required.
MODEL NUMBER:
SERIAL NUMBER:
Model number on product may have additional letters at the end. These letters designate manufacturing information and should be provided when calling for service.
RYOBI is a registered trademark of Ryobi Limited and is used pursuant to a license granted by Ryobi Limited.
TTI CONSUMER POWER TOOLS, INC.
P.O. Box 1288, Anderson, SC 29622 • Phone 1-800-525-2579 Teats-Unis, Telephone 1-800-525-2579 • USA, Telephone 1-800-525-2579 www.ryobitools.com

























