RYOBI A90PG02 1.4 Amp Corded Rotary Tool Instruction Manual
Safety Instructions
WARNING!
To reduce the risk of injury, user must read and understand the operator’s manual for their rotary tool and this instruction sheet. Always wear eye protection with side shields marked to comply with ANSI Z87.1. Ensure compatibility and fit before using this accessory. Do not use this accessory if a part is damaged or missing. If you are not comfortable performing any of the functions described in these instructions, take your unit to an authorized service center.
WARNING:
Never install, remove, or adjust any attachment head while rotary tool is running. Failure to stop the motor can cause serious personal injury. Never operate rotary tool without an attachment head or the collar installed.
NOTE: Follow all guidelines and warnings in your rotary tool operator’s manual.
Use the platform guide to control the depth and position (up to 3/4 in.) of the bit when grinding and sanding with your rotary tool.
INSTALLING THE 90° PLATFORM GUIDE
See Figures 1 – 3.
A – Collar
A – Quick-change
B – Accessory
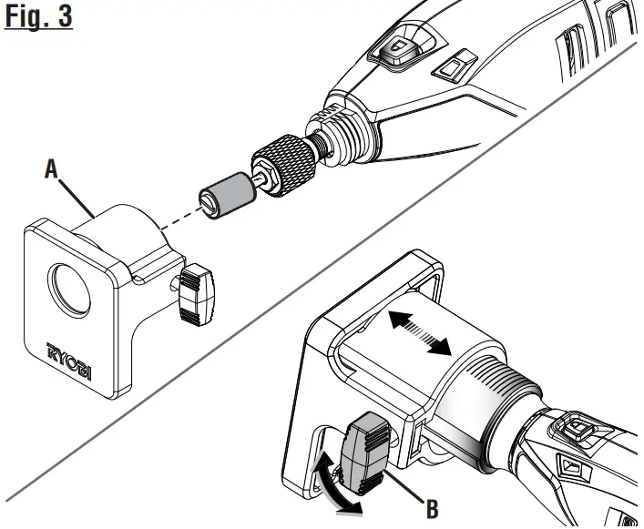
A – Attachment head
B – Depth stop knob
USING THE 90° PLATFORM GUIDE
See Figure 4.
- Verify the rotary tool switch is in the OFF (O) position and plug in the rotary tool or install the battery pack, if applicable.
- Select the appropriate speed according to the rotary tool operator’s manual and start the tool.
- Position the face of the platform guide firmly against the edge of workpiece.The guiding edge of the workpiece must be straight for your cut to be straight.
- Slowly guide the tool along the edge of the workpiece using side to side strokes.
- When finished, turn off the rotary tool.
Support
ONE WORLD TECHNOLOGIES, INC.
P.O. Box 1288, Anderson, SC 29622
Phone 1-800-525-2579
www.ryobitools.com


















