RYOBI P241 18 Volt Right Angle Drill

INSTRUCTION

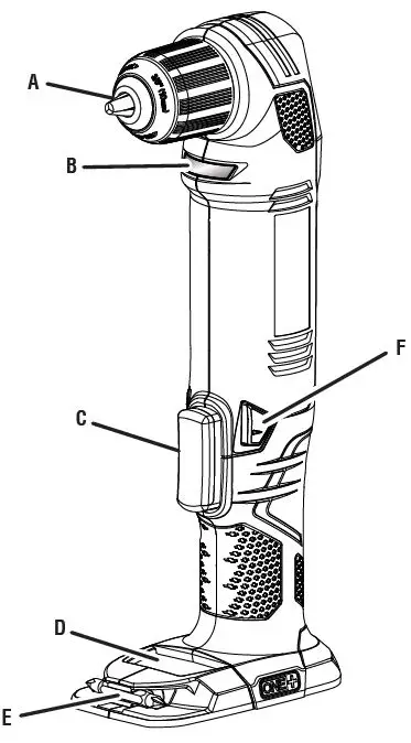
- Keyless chuck
- LED light
- Switch trigger
- Mag Tray™ (screw holder)
- Bit storage
- Direction of rotation selector (forward / reverse / center lock)
GENERAL POWER TOOL SAFETY WARNINGS
WARNING
Read all safety warnings and all instructions. Failure to follow the warnings and instructions may result in electric shock, fire and/or serious injury. Save all warnings and instructions for future reference. The term “power tool” in the warnings refers to your mains-operated (corded) power tool or battery-operated (cordless) power tool.
WORK AREA SAFETY
- Keep work area clean and well lit. Cluttered or dark areas invite accidents.
- Do not operate power tools in explosive atmospheres, such as in the presence of flammable liquids, gases or dust. Power tools create sparks which may ignite the dust or fumes.
- Keep children and bystanders away while operating a power tool. Distractions can cause you to lose control.
ELECTRICAL SAFETY
- Power tool plugs must match the outlet. Never modify the plug in any way. Do not use any adapter plugs with earthed (grounded) power tools. Unmodified plugs and matching outlets will reduce risk of electric shock.
- Avoid body contact with earthed or grounded surfaces such as pipes, radiators, ranges and refrigerators. There is an increased risk of electric shock if your body is earthed or grounded.
- Do not expose power tools to rain or wet conditions. Water entering a power tool will increase the risk of elec-tric shock.
- Do not abuse the cord. Never use the cord for carrying, pulling or unplugging the power tool. Keep cord away from heat, oil, sharp edges or moving parts. Damaged or entangled cords increase the risk of electric shock.
- When operating a power tool outdoors, use an extension cord suitable for outdoor use. Use of a cord suitable for outdoor use reduces the risk of electric shock.
- If operating a power tool in a damp location is unavoidable, use a ground fault circuit interrupter (GFCI) protected supply. Use of a GFCI reduces the risk of electric shock.
- Use this product only with batteries and chargers listed in tool/appliance/battery pack/charger correlation supplement 987000-432.
PERSONAL SAFETY
- Stay alert, watch what you are doing and use common sense when operating a power tool. Do not use a power tool while you are tired or under the influence of drugs, alcohol or medication. A moment of inattention while operating power tools may result in serious personal injury.
- Use personal protective equipment. Always wear eye protection. Protective equipment such as dust mask, non-skid safety shoes, hard hat, or hearing protection used for appropriate conditions will reduce personal injuries.
- Prevent unintentional starting. Ensure the switch is in the off-position before connecting to power source and/or battery pack, picking up or carrying the tool. Carrying power tools with your finger on the switch or energizing power tools that have the switch on invites accidents.
- Remove any adjusting key or wrench before turning the power tool on. A wrench or a key left attached to a rotating part of the power tool may result in personal injury.
- Do not overreach. Keep proper footing and balance at all times. This enables better control of the power tool in unexpected situations.
- Dress properly. Do not wear loose clothing or jewelry. Keep your hair, clothing and gloves away from moving parts. Loose clothes, jewelry or long hair can be caught in moving parts.
- If devices are provided for the connection of dust extraction and collection facilities, ensure these are connected and properly used. Use of dust collection can reduce dust-related hazards.
- Do not wear loose clothing or jewelry. Contain long hair. Loose clothes, jewelry, or long hair can be drawn into air vents.
- Do not use on a ladder or unstable support. Stable footing on a solid surface enables better control of the power tool in unexpected situations.
POWER TOOL USE AND CARE
- Do not force the power tool. Use the correct power tool for your application. The correct power tool will do the job better and safer at the rate for which it was designed.
- Do not use the power tool if the switch does not turn it on and off. Any power tool that cannot be controlled with the switch is dangerous and must be repaired.
- Disconnect the plug from the power source and/or the battery pack from the power tool before making any adjustments, changing accessories, or storing power tools. Such preventive safety measures reduce the risk of starting the power tool accidentally.
- Store idle power tools out of the reach of children and do not allow persons unfamiliar with the power tool or these instructions to operate the power tool. Power tools are dangerous in the hands of untrained users.
- Maintain power tools. Check for misalignment or binding of moving parts, breakage of parts and any other condition that may affect the power tool’s operation. If damaged, have the power tool repaired before use. Many accidents are caused by poorly maintained power tools.
- Keep cutting tools sharp and clean. Properly maintained cutting tools with sharp cutting edges are less likely to bind and are easier to control.
- Use the power tool, accessories and tool bits etc. in accordance with these instructions, taking into account the working conditions and the work to be performed. Use of the power tool for operations different from those intended could result in a hazardous situation.
BATTERY TOOL USE AND CARE
- Recharge only with the charger specified by the manufacturer. A charger that is suitable for one type of battery pack may create a risk of fire when used with another battery pack.
- Use power tools only with specifically designated battery packs. Use of any other battery packs may create a risk of injury and fire.
- When the battery pack is not in use, keep it away from other metal objects, like paper clips, coins, keys, nails, screws or other small metal objects, that can make a connection from one terminal to another. Shorting the battery terminals together may cause burns or a fire.
- Under abusive conditions, liquid may be ejected from the battery; avoid contact. If contact accidentally occurs, flush with water. If liquid contacts eyes, additionally seek medical help. Liquid ejected from the battery may cause irritation or burns.
SERVICE
- Have your power tool serviced by a qualified repair person using only identical replacement parts. This will ensure that the safety of the power tool is maintained.
- When servicing a power tool, use only identical replacement parts. Follow instructions in the Maintenance section of this manual. Use of unauthorized parts or failure to follow Maintenance Instructions may create a risk of shock or injury.
DRILL SAFETY WARNINGS
- Use auxiliary handle(s), if supplied with the tool. Loss of control can cause personal injury.
- Hold power tool by insulated gripping surfaces, when performing an operation where the cutting accessory may contact hidden wiring. Cutting accessory contact-ing a “live” wire may make exposed metal parts of the power tool “live” and could give the operator an electric shock.
- Know your power tool. Read operator’s manual care-fully. Learn its applications and limitations, as well as the specific potential hazards related to this power tool. Following this rule will reduce the risk of electric shock, fire, or serious injury.
- Always wear eye protection with side shields marked to comply with ANSI Z87.1. Following this rule will reduce the risk of serious personal injury.
- Protect your lungs. Wear a face or dust mask if the operation is dusty. Following this rule will reduce the risk of serious personal injury.
- Protect your hearing. Wear hearing protection during extended periods of operation. Following this rule will reduce the risk of serious personal injury.
- Battery tools do not have to be plugged into an elec-trical outlet; therefore, they are always in operating condition. Be aware of possible hazards when not using your battery tool or when changing accessories. Following this rule will reduce the risk of electric shock, fire, or serious personal injury.
- Do not place battery tools or their batteries near fire or heat. This will reduce the risk of explosion and possibly injury.
- Do not crush, drop or damage battery pack. Do not use a battery pack or charger that has been dropped or received a sharp blow. A damaged battery is subject to explosion. Properly dispose of a dropped or damaged battery immediately.
- Batteries can explode in the presence of a source of ignition, such as a pilot light. To reduce the risk of serious personal injury, never use any cordless product in the presence of open flame. An exploded battery can propel debris and chemicals. If exposed, flush with water immediately.
- Do not charge the battery tool in a damp or wet location. Following this rule will reduce the risk of electric shock.
- For best results, your battery tool should be charged in a location where the temperature is more than 50°F but less than 100°F. To reduce the risk of serious personal injury, do not store outside or in vehicles.
- Under extreme usage or temperature conditions, battery leakage may occur. If liquid comes in contact with your skin, wash immediately with soap and water. If liquid gets into your eyes, flush them with clean water for at least 10 minutes, then seek immediate medical attention. Following this rule will reduce the risk of seri-ous personal injury.
- Save these instructions. Refer to them frequently and use them to instruct others who may use this tool. If you loan someone this tool, loan them these instructions also to prevent misuse of the product and possible injury.
SYMBOLS


FEATURES
PRODUCT SPECIFICATIONS
- Chuck …………………………………………………..3/8 in. Keyless
- Switch ………………………………………………….Variable Speed
- No Load Speed ……………………………….0-1,100/min (RPM)
- Torque …………………………………………………………. 130 in.lb.
ASSEMBLY
WARNING:
Do not use this product if it is not completely assembled or if any parts appear to be missing or damaged. Use of a product that is not properly and completely assembled or with damaged or missing parts could result in serious personal injury. Do not attempt to modify this product or create accessories or attachments not recommended for use with this product. Any such alteration or modification is misused and could result in a hazardous condition leading to possible serious personal injury. If any parts are damaged or missing, please call 1-800-525-2579 for assistance.
OPERATION
WARNING:
Do not allow familiarity with this product to make you careless. Remember that a careless fraction of a second is sufficient to inflict serious injury. Always wear eye protection with side shields marked to comply with ANSI Z87.1. Failure to do so could result in objects being thrown into your eyes and other possible serious injuries. Do not use any attachments or accessories not recommended by the manufacturer of this tool. The use of attachments or accessories not recommended can result in serious personal injury.
APPLICATIONS
You may use this tool for the following purposes:
- Drilling in all types of wood products (lumber, plywood, paneling, composition board, and hardboard)
- Drilling in ceramics, plastics, fiberglass, and laminates
- Drilling in metals
CAUTION:
This drill is not intended to be used for mixing concrete, drywall, grout or other similar types of viscous mixtures. Failure to obey this caution could cause poor performance, and possible injury, and will void your warranty.
WARNING:
Battery tools are always in operating condition. Therefore, switch should always be locked when not in use or car-rying at your side.
INSTALLING/REMOVING BATTERY PACK
See Figure 1, page 9.
- Lock the switch trigger.
- Insert the battery pack into the product as shown.
- Make sure the latches on each side of the battery pack snap into place and the battery pack is secured in the product before beginning operation.
- Depress the latches to remove the battery pack.
- Battery (piles,)
- Depress latches
For complete charging instructions, see the operator’s manuals for your battery pack and charger.
SWITCH TRIGGER
See Figure 2, page 9.
- Forward
- Forward/reverse selector with center lock position
- Reverse
- Switch trigger
To turn the drill ON, depress the switch trigger. To turn it OFF, release the switch trigger.
VARIABLE SPEED
This tool has a variable speed switch trigger that delivers a higher speed with increased trigger pressure. Speed is controlled by the amount of switches that trigger depression.
NOTE: You might hear a whistling or ringing noise from the switch during use. Do not be concerned; this is a normal part of the switch function.
DIRECTION OF ROTATION SELECTOR
(FORWARD/REVERSE/CENTER LOCK)
See Figure 2, page 9.
The direction of bit rotation is reversible and is controlled by a selector located above the switch trigger. With the drill held in a normal operating position, the direction of the rotation selector should be positioned to the left of the switch trigger for forward drilling. The drilling direction is reversed when the selector is to the right of the switch trigger. Setting the direction of the rotation selector in the OFF (center lock) position helps reduce the possibility of accidental start-ing when not in use.
CAUTION:
To prevent gear damage, always allow chuck to come to a complete stop before changing the direction of rotation. To stop the drill, release switch trigger and allow the chuck to come to a complete stop.
NOTE: The drill will not run unless the direction of rotation selector is pushed fully to the left or right.
Avoid running the drill at low speeds for extended periods of time. Running at low speeds under constant usage may cause the drill to become overheated. If this occurs, cool the drill by running it without a load and at full speed.
INSTALLING/REMOVING BITS
See Figures 3 – 4, page 9.

The arrows on the keyless chuck indicate which direction to rotate the chuck sleeve to tighten or release the drill bit. Do not use a wrench to tighten or loosen the chuck jaws.
- To install bits, lock the switch trigger.
- Open or close the chuck jaws until the opening is slightly larger than the bit size you intend to use.
- Raise the front of the drill slightly and insert the drill bit.
- Drill bit
- Unlock (release)
- Chuck body
- Lock (tighten) (lock [serrer], lock
- Chuck jaws
WARNING:
Make sure to insert the drill bit straight into the chuck jaws. Do not insert the drill bit into the chuck jaws at an angle, then tighten. This could cause the drill bit to be thrown from the drill, resulting in possible serious per-sonal injury or damage to the chuck.
- Rotate the chuck sleeve to close and tighten the chuck jaws.
WARNING:
Do not hold the chuck sleeve with one hand and use the power of the drill to tighten the chuck jaws on the drill bit. The chuck sleeve could slip in your hand, or your hand could slip and come in contact with the rotating drill bit. This could cause an accident resulting in serious personal injury.
- To remove bits, lock the switch trigger and open the chuck jaws.
- The bit provided with the drill can be placed in the storage area, located on the base of the drill.
DRILLING/DRIVING SCREWS
See Figure 5, page 9.
- Check the direction of rotation selector for the correct.
- Secure the workpiece in a vise or with clamps to keep it rotates.
- Hold the drill firmly and place the bit at the point to be driven.
WARNING:
Do not drive a screw where there is likely to be hidden wiring behind the surface. Contact with a “live” wire will make exposed metal parts of the tool “live” and possibly shock the operator. If you must drive a screw where hidden wire may be present, always hold tool by insulated gripping surfaces (handle) when performing the operation to prevent a shock to the operator.
- Depress the switch trigger to start the drill.
- Move the bit into the workpiece, applying only enough pressure to keep the bit cutting or driving the screw. Do not force the drill or apply side pressure to elongate a hole. Let the tool do the work.
WARNING:
When drilling, be prepared for binding at bit breakthrough. When these situations occur, drill has a tendency to grab and kick opposite to the direction of rotation and could cause loss of control when breaking through material. If not prepared, this loss of control can result in possible serious injury.
- When drilling hard, smooth surfaces, use a center punch to mark the desired hole location. This will prevent the bit from slipping off-center as the hole is started.
- If the bit jams in the workpiece or if the drill stalls, stop the tool immediately. Remove the bit from the workpiece and determine the reason for jamming.
NOTE: This drill has an electric brake. When the switch trig-ger is released, the chuck stops turning. When the brake is functioning properly, sparks will be visible through the vent slots on the housing. This is normal and is the action of the brake.
WOOD AND METAL DRILLIRG
For maximum performance, use high speed steel bits for wood or metal gnillirdSelect drilling mode. Begin drilling at a very low speed to prevent the bit from slipping off the starting point.
Wood Drilling
- Increase the speed as the drill bit bites into the material.
- When drilling through holes, place a block of wood behind the workpiece to prevent ragged or splintered edges on the back side hole.
Metal and Steel Drilling
- Use a light oil on the drill bit to keep it from overheating. The oil will prolong the life of the bit and increase the drilling action.
Maintain a speed and pressure which allows cutting without overheating the bit. Applying too much pressure will:- Overheat the drill;
- Wear the bearings;
- Bend or burn bits; and
- Produce off -centre or irrugular -shaped holes.
- When drilling large holes in metal, start with a small bit, then finish with a larger bit.
MAINTENANCE
WARNING:
When servicing, use only identical replacement parts. Use of any other part could create a hazard or cause product damage.
GENERAL MAINTENANCE
Avoid using solvents when cleaning plastic parts. Most plastics are susceptible to damage from various types of commercial solvents and can be damaged by their use. Use clean cloths to remove dirt, dust, oil, grease, etc.
NOTE: ILLUSTRATIONS START ON PAGE 9 AFTER FRENCH AND SPANISH LANGUAGE SECTIONS.
To request service, purchase replacement parts,
locate an Authorized Service Center or obtain Customer or Technical Support:
Visit www.ryobitools.com or call 1-800-525-2579 If any parts or accessories are damaged or missing, do not return this product to the store. Call 1-800-525-2579 for immediate service. Please obtain your model and serial number from the product data plate. This product is covered under a 3-year limited Warranty. Proof of purchase is required. MODEL NUMBER* _______________ SERIAL NUMBER ____________________________ Model number on product may have additional letters at the end. These letters designate manufacturing information and should be provided when calling for service. RYOBI is a registered trademark of Ryobi Limited and is used pursuant to a license granted by Ryobi Limited.
ONE WORLD TECHNOLOGIES, INC.
P.O. Box 1288, Anderson, SC 29622 • Phone 1-800-525-2579 États-Unis, Téléphone 1-800-525-2579 • USA, Teléfono 1-800-525-2579 www.ryobitools.com



















