Helver 329 DALI External Light Sensor

DALI External Light Sensor (329)

The 329 DALI External Light Sensor, when used in conjunction with a Helvar Lighting Router based controls system, can provide energy savings by adjusting light levels based on the available daylight.
For instance, bright sunlight will raise the overall light level in the rooms of a building. The sensor will detect this, and the system will reduce the energy levels supplied to the lamps. If the day then becomes overcast, the system will respond to the lower levels of ambient light by increasing the energy provided to the lamps. By profiling the building (measuring the daylight contribution per room), the system can be used to maintain an approximate constant light level, and thereby reduce energy use.
The 329 is for mounting outdoors. The unit head assembly is waterproof when correctly installed and mounted vertically, and it can tolerate a wide range of operating temperatures and conditions.
Assembly and Connection
- Mount the base assembly in your chosen outdoor location. For details, see the `Mounting’ section on page 2.
- Fit the (supplied) cable gland to the base assembly (cable diameter 6 mm 12 mm).
The base assembly will accept 20 mm conduit as an alternative to the cable gland.
One of these methods (cable gland or conduit) must be used to meet the product’s IP 65 rating. - Put the sealing gasket in place on the base assembly.
- Thread the DALI cable through the base assembly, up through the sealing gasket.
- Connect the DALI wires to the connectors of the socket assembly:


- Check that the sealing gasket is in position, and then screw the socket assembly into the base assembly (use the two screws supplied).
- Attach the head assembly to the socket assembly:
- Align the connector tabs with the sockets (note that the `N’ tab is larger than the others)
- Push the head assembly down into the socket assembly.
- Twist the head assembly clockwise to lock it into position.
Mounting
WARNING: TO AVOID THE POSSIBLE RISK OF LIGHTNING STRIKES, NEVER INSTALL THE 329 DALI EXTERNAL LIGHT SENSOR AT THE HIGHEST POINT ON A BUILDING.

Mounting position
Mount the 329 DALI External Light Sensor outdoors.
Mount the unit vertically.
Any convenient surface may be used as long as the sensor element has a reasonably unrestricted view of the sky.
Fixing screws
M4 thread or No. 8 wood screw: select according to mounting surface. Use round-head or cheese-head screws. Do not use countersunk screw heads.
Procedure
- Drill and prepare the screw fixing holes as shown in the diagram included in the `Fixing Centre Locations’ section on page 4.
- To access the top mounting screw, remove the 329 head assembly by twisting the head assembly anticlockwise and lifting it.
- Screw in the fixing screws. 4. With the bracket located under the top screws, secure the lower screw.
NOTE Avoid overtightening the screws, as this may weaken or break the bracket material.
Operation
Light Level Output
The external light sensor is calibrated to provide a scaled light level output of 0 to 200, covering the full range of daylight. The sensitivity of the external light sensor is factory set and no adjustment is required.

| Incident Light (lux) | Light Level Reading Output Value | Equivalent To |
| ≤1 | 0 | Darkness |
| 2 | 11 | |
| 5 | 26 | |
| 10 | 38 | Twilight |
| 20 | 49 | |
| 50 | 65 | |
| 100 | 76 | Dark day |
| 200 | 87 | |
| 500 | 102 | |
| 1000 | 114 | Overcast day |
| 2000 | 125 | |
| 5000 | 140 | |
| 10 000 | 152 | Full daylight |
| 20 000 | 163 | |
| 50 000 | 178 | |
| 100 000 | 190 | Bright sunlight |
Cleaning the Sensor Head Cover
A build-up of dust and dirt on the clear cover of the sensor head may reduce the efficiency of the light sensor unit. We recommend that the cover is examined periodically and, if necessary, cleaned with a soft damp cloth. Use a mild detergent for stubborn marks.
Light Sensing Angle
Vertical plane: Unrestricted viewing angle of 170°. Horizontal plane: 360° viewing angle.

Technical Data
Connections
DALI Wire size: 1.0 mm² – 2.5 mm²
2-core solid, flexible or stranded
Max. length: 300 m
@ 2.5 mm² (part of DALI subnet)
Connector type: Screw terminals:
N: DALI+
L0: DALI–
L1: No connection
Cable rating: All cables must be mains rated.
Power supply
DALI power supply: 13 V – 22 V
DALI consumption: 10 mA
Sensor
Sensor element: Photodiode matched to human eye response.
Light sensing angle: When mounted vertically:
- 85° from vertical
- Horizontal plane: 360°
Working light range: 1 lx – 100 000 lx
Light level reading output: 0–200
Mounting
Mounting angle: Vertical (clear sensor head at top)
Mounting points: 2 × M4 (No. 8 woodscrew) For fixing centers, see diagram.
Mechanical data
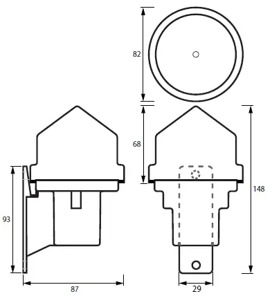
Dimensions: 148 mm × 82 mm × 87 mm
Materials
Base & mounting bracket: Black ABS
Socket & sensor accessory: Black glass-filled nylon
Sensor cover: Toughened acrylic (UV stable)
Weight: 250 g
IP code: IP65
Operating conditions
Ambient temperature: –35 °C to +70 °C
Relative humidity: Max. 90 %, noncondensing
Storage temperature: –35 °C to +70 °C
Conformity and standards
EMC emission: EN 55015
EMC immunity: EN 61547
Safety: EN 61347-2-11
Environment: Complies with WEEE and RoHS directives.
Dimensions (mm)

Fixing Centre Locations (mm)






















