DEMA Pinnacle Warewash Control Series

Overview
The Pinnacle ware wash system controls all chemical delivery functions for dish machines and similar warewash applications. The system has an advanced power supply that will accept 100V–250V 50/60Hz. The Pinnacle responds to detergent and rinse triggers in the range of 20V–500V 50/60Hz. The Pinnacle has been designed for simple installation, set up, and operation. The Pinnacle has an Auto Switchover feature that allows automatic switching from Concentration to Probeless. This Auto Switchover feature reduces emergency service calls. This dispenser is offered in two configurations, the Pinnacle, and the Pinnacle Pro. The Pinnacle use the smaller HTI motors, and the Pinnacle Pro use the larger MK motors.
Warnings
- Installation of DEMA products must meet all applicable electrical codes and regulations established by national, city, county, parish, provincial or other agencies. It is possible that electrical codes and regulations require that a certified electrical contractor or engineer perform the electrical installation. For questions, contact a certified electrician.
- PRIOR TO INSTALLATION OR SERVICE, ALL ELECTRICAL POWER MUST BE TURNED OFF TO THE DISPENSER AND TO THE APPLIED MACHINE.
- ALWAYS WEAR PROTECTIVE CLOTHING AND EYEWEAR WHEN WORKING WITH CHEMICAL PRODUCTS.
Specifications
Operational Requirements
| For Indoor Use Only | ||
| Main Power | 100 VAC – 250 VAC | 50/60 Hz 1.0 A |
| Trigger Signals | 20V – 500V | 50/60 Hz |
| Motors/Solenoid Valves | 24VDC | |
| Case Material | ABS | |
| Weight | 3.8 kg | 8.5 lbs |
| Maximum Altitude | 2000 M | 6500 ft |
| Environmental Temperature | 0-40°C | 32-104°F |
| Installation Category | II | |
| Pollution Category | II | |
Overall Size

Installation
ALL ELECTRICAL POWER MUST BE TURNED OFF TO THE HEATING ELEMENTS AND DISH MACHINE PRIOR TO BEGINNING INSTALLATION.
UNIT MUST BE PROPERLY GROUNDED (EARTHED).
Dish Room Survey
Prior to installation, take a complete survey of the dish room. Determine the desired placement of the Pinnacle and chemicals. Also, determine how the electrical connections will be made. Main power and trigger cords must run through a nonmetallic ½” conduit system (84.148.3) or secure to the dispenser control with a watertight cord grip (84.422.4).
Mounting the Pinnacle

- Remove the Mounting Bracket from the dispenser.
- Mount the bracket in an appropriate place on the wall away from splashing and steam from the machine. Used the integrated bubble level, in the bracket, to properly secure the dispenser.
- Slide the dispenser onto the bracket and attach the secure screw on the inside of the dispenser.
Setting up the Pinnacle and the Dish Machine
- Locate the electrical connection point. The input power may be 100V – 250V 50/60Hz. Check with the manufacturer of the machine to determine if there are dedicated terminals available for this installation.
- Properly ground the dispenser to Earth ground.
- The Pinnacle can operate using both rinse (82.60.05) and detergent (82.60.04) NTC Thermistor probes. The proper placement for the detergent probe (82.60.04) is in the wash tank. This probe must be installed below the water level, normally 1”-2” from the bottom of the tank, 2” from the corners and must be kept away from heating elements, pump intake, drains and incoming water supply. The rinse probe (82.60.05) will be placed in the rinse manifold, using the rinse inlet fitting. Screw the rinse probe inlet fitting to the machine rinse manifold. Slide the probe into the rinse inlet fitting, until it hits the pipe then pull it back about 1/2″. Then tighten the brass nut at the end of the fitting to retain the probe. Screw the rinse inlet fitting into the rinse manifold. Illustrations of both probes are shown below.
- Install the detergent injection bulkhead (80.55) fitting above the probe (if a probe is used) to obtain a rapid reading of all chemicals entering the wash tank.
- Install the rinse line injection fitting (904.8T) into the rinse line tap provided by the manufacturer of the machine. If a tap is not provided, follow the manufacturer’s recommendations for installing this fitting.
Connecting the Chemical Tubing to the Pinnacle
- After mounting the dispenser, measure the length of tubing needed to go from the dispenser to the detergent injection fitting and the rinse injection fitting installed on the dish machine. The detergent tubing (25.68.20) is opaque in color and has a larger inside diameter than the rinse and sanitizer tubing (100.12.SV1) which is clear in color and has a small inside diameter. Cut the tubing to the length required for each.
- The remaining tubing is then used to go from the dispenser to the chemicals. Cut the tubing to the length required to reach each chemical, place the pickup tube stiffener on the tubing before placing in the chemical container.
Wiring the Pinnacle to the Dish Machine
The following diagram is included to help to install the wires in the correct places for proper power for the unit
How to connect the wires to the machine
- CONNECT Main Power = Brown and Blue Wires to the idle power or constant power terminals on the machine. (100VAC to 240VAC only)
- CONNECT Rinse Trigger Wires = Red and Black to the Rinse trigger terminals on the machine
- CONNECT Detergent Trigger Wires = White and Orange to the detergent trigger terminals to the machine
- CONNECT the Green Ground wire to Earth Ground on the machine
WARNING: For safety purposes disconnect main power to the dish machine. Connect power to the Pinnacle per the dish machine manufacturer’s recommendations. UNIT MUST BE GROUNDED (EARTHED). The following steps will help to insure the proper wiring of the unit. The unit should be triggered to power on from the dish machine that it is being used in conjunction with. DEMA Engineering does not recommend powering the unit separately from the dish machine. The following three steps will ensure that the unit only receives power when it is necessary to have power to run the setup that is programmed in the unit. The following page(s) shows an internal wiring diagram for the unit.
Pinnacle Wiring
- Input voltage 100VAC to 265VAC
- Max input current: 1 amp
- Trigger voltage input range 24 to 480 volts
- Power supply output: 24VDC
- Pump Motors 24 VDC
Pinnacle Pro – Large Motors Configuration

Pinnacle – Solenoid Valve Configuration

Pinnacle – Small Motors Configuration

Attaching the Side Pump Module
If the installation allows, it may be more convenient to remove the dispenser from the wall bracket and place it on a flat surface. Loosen the securing screw, if used, before removing the dispenser from the wall. See Mounting the Pinnacle above. Remove the knockout formed in the rear side of the Pinnacle. It may be easier to have the side module attached to the bracket with the wire and grommet pulled through the opening in the bracket. Feed the side module end connectors through the hole and then push the rubber grommet into that hole. Pull the wire through as the side module and bracket slide into the cutout on the side of the enclosure. There are two starter holes inside the Pinnacle that will line up with holes on the attachment bracket. Use the Hi-Lo screws to fasten through the interior wall of the Pinnacle and into the side module attachment bracket.
(Note: the starter holes do not need to be opened. The screws open the holes as they screw into the bracket.) Once you have secured the attachment bracket to the Pinnacle, slide the side module onto the bracket, if required, until it locks in place. Attach wires to control board. Add cable tie(s) as necessary. Return the dispenser to the wall bracket and reattach tubing if required


Pump Priming
To prime the various pumps, press and hold the coresponding buttons, on the Pinnacle. After holding the button for two seconds the pump/valve will begin priming then release the button. The Up arrow, will prime the Rinse pump; the Down Arrow will prime the Detergent pump; and the Right Arrow will prime the optional Sanitizer pump. After holding the button for two seconds the pump/valve will begin priming. Release the button. Pressing the button again will stop the pump/valve. Either pump/valve may be started again if the Priming screen is displayed. When a pump/valve is started, it will stop automatically after 60 seconds. It may be started again, if needed. When done priming, pressing the ENTER button will exit the Priming mode. The Priming mode will be exited automatically after 15 seconds of inactivity.
Accessing Dispenser Menu
The home is where the name of the company and dispenser name will be displayed. Press the Enter button to progress further into the menu. The next screen is the Concentration Mode screen, which will show the Rack Count, as well. Press the Enter button to view the Setup and Pump Control screen. Using the Up or Down button, you can select which ever option you need, and then press the Enter to make the selection. Following these steps, you will advance through the intuitive programming process.
The Home Screen -> Concentration Mode Screen -> Setup & Pump Ctrl Screen -> Select Language ->
Enter Access Code. Pressing ENTER will display a four-digit pass code with the arrow under it. Use the UP and DOWN keys to select the first digit of the pass code. Pressing the Right button moves to the second digit of the pass code. The Up and DOWN buttons are again used to select the digit. Press the Right Button again to move to the third and fourth digits of the pass code, for entry. Pressing ENTER after the fourth digit is set will allow access to the dispenser programming. A new dispenser will have a pass code of 0000. A custom pass code may be entered in the programming screens. In the programming screens, 10 minutes of inactivity causes the dispenser to exit programming.
Dema Smart App
Programming of the Pinnacle dispenser can also be done using the DEMA Smart App. Download the app for Android device, from the Google Play Store or for Apple devices via the App Store. The programming process is intuitive and step by step, using the DEMA Start app.

Programming
Before programming, determine they type of ware wash machine and the trigger configuration needed. The type of machine can be either Conveyor (a continuous flow machine that racks are fed through or a flight machine) or Door (a batch type machine that services one rack at a time).

Trigger Configuration
- Traditional Wash trigger and Rinse trigger.
- Rinse Only trigger where both the Detergent and Rinse functions are activated by the Rinse Trigger input.
- Wash Only trigger (in Door mode only) where both the wash and rinse functions are activated by the Wash Trigger input. When the detergent trigger is lost the rinse will run the time set in rinse length.
- No Trigger option where both the wash and rinse functions are active anytime there is power to the dispenser.
Programing the Pinnacle
- Machine Type – Conveyer or Door
- Control Mode – Concentration, Probe-less, or Auto Switchover (In Auto Switchover both Concentration Settings and Probe-less Settings need to be set).
- Trigger Type – Det/ Rinse, Det only, Rinse only and No triggers.
- Set point – the detergent level in the machine
- Feed Rate – determines the rate the detergent is pumped into the machine. The higher the number entered, the faster the detergent will be bumped into the machine.
- Feed Limit – Set to 30sec, pump will stop running after 30 sec with the out of product alarming.
- Alarm Delay – Set to 30 sec, alarm will wait 30 sec to make sure the product is empty before alarming.
- Recharge Time – Top off Charge, the detergent dispensing time to renew the charge in the wash tank.
- Dwell Time – The time between detergent charges when dispensing detergent (Conveyor only)
- Dead Cycles – The number of wash cycles with no detergent being added to the wash tank.
- Initial Charge – The detergent run time to charge the wash tank when filled with fresh water.
- Charge Clock – The amount of time, with no trigger activity, when time has elapsed Initial Charge is dispensed on next trigger.
- Rinse Speed – The dispensing speed of the rinse motor.
- Rinse Delay – The time from the start of the rinse trigger until the rinse motor starts.
- Rinse Length Conveyer Mode – (The time it takes for the rack to go through the rinse section on a conveyor machine. (This will give us the rack count)
- Rinse Limit Door Mode. – Most door machines fill from the rinse water to prevent the rinse pump from running the whole time it is filling we have this function. This set the length of time from the start of the fill until the rinse pump stops. Comes pre-set to 18 sec. In Probe-less mode this will also give an initial charge on next detergent trigger.
- Sanitizer speed – the speed of the Sanitizer motor.
- Sanitizer mode – Off, with rinse trigger or with Detergent trigger Advanced Settings
- (F°) = Fahrenheit or (C)= Celsius
- Date Format (MM/DD/YYYY) or (DD/MM-YYYY)
- Military or Standard Time
- Alarm volume
- Wash tank temperature alarm (if Wash water temp is below setting it will alarm)
- Final rinse water temperature Alarm (if Rinse water temp is below setting it will alarm)
- Dirty water alarm (Accumulative wash trigger time) Dayparts -For instance, breakfast, lunch and dinner (at different dilutions) if desired Names
- Dispenser name
- Account Name
- Account number
- Display Screen (Idle Screen Text) i.e. Have A Great Day
To connect the Wash tank and Rinse water temperature probes to the Pinnacle control board, remove the red Detergent pump cover. The door locking screw is inset on the right side of the pump housing. Loosen the screw and the dispenser door will open, there are two knockouts at the bottom Right of the unit, use one to feed the wash take temp probe cable and the other to feed the Rinse temp cables through. The control board has two sets of terminal blocks for each of the probe cables: one set designated for the w-temp probe and the other for the R-temp probe. Once the cables have been attached to the control board, you must secure the cover door, by tightening the locking screw. Once that has been completed, return the red Detergent pump cover, by connecting the top of the cover to the holder and pivoting it down until it snaps back in place.
Molex Plugs located on the top right of the board are OPTIONAL OUT OF PRODUCT ALARM plugs. (Det, Rinse, San.) The last 2 on the top right are for OPTIONAL Magnetic Field Sensor plugs. One is for the rinse trigger and the other is for the wash trigger. Right under the magnetic field sensor is the OPTIONAL inductive probe plug.

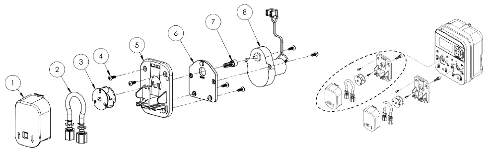
Parts List

| NO. | DEMA NO. | DESCRIPTION |
| 1 | 82.60.01 | CONTROL BOARD W/ MOUNTING SCREWS KIT |
| 2 | 82.60.06 | DETERGENT MOTOR LARGE W/ MOUNTING SCREWS KIT |
| 82.60.10 | DETERGENT MOTOR SMALL W/ MOUNTING SCREWS KIT | |
| 3 | 82.60.07 | RINSE MOTOR LARGE W/ MOUNTING SCREWS KIT |
| 82.60.11 | RINSE MOTOR SMALL W/ MOUNTING SCREWS KIT | |
| 4 | 41395.1 | POWER SUPPLY RETAINER |
| 5 | 82.60.02 | POWER SUPPLY/ TRIGGER BOARD MODULE |
| 6 | 81.163.1 | POWER SWITCH |
| 7 | 82.60.15 | SANITIZER PUMP LARGE MOTOR MODULE W/ SCREWS KIT |
| 82.60.16 | SANITIZER PUMP SMALL MOTOR MODULE W/ SCREWS KIT | |
| 8 | 41387.1 | SIDE PUMP MODULE ATTACHMENT BRACKET |
| 9 | 82.60.19 | WALL MOUNTING BRACKET W/ MOUNTING SCREWS KIT |
Pinnacle Pro Large Motor Detergent Pump Kit (82.60.17)

| NO. | DEMA NO. | DESCRIPTION |
| 1 | 41343.1 | PUMP BORE COVER, LARGE, RED |
| 2 | 81.177.1 | SQZ. TUBE ASSY, EPDM 1/4″X1/4″ FTNG, DETERGENT |
| 3 | 81.172.1 | ROLLER BLOCK ASSEMBLY, LARGE (2 ROLLER) |
| 4 | 44.116.1 | #8-18 X 1/2″ SS. HI-LOW PAN HEAD SCREW |
| 5 | 41.63.1 | #8-32 X 5/16″ SS. RND. HEAD MACHINE SCREW |
| 6 | 41214.1 | PUMP BASE, LARGE |
| 7 | 82.60.06 | GEARMOTOR 24VDC KIT W/ SCREWS – 60RPM NOMINAL |
Pinnacle Pro Large Motor Rinse Pump Assembly

| NO. | DEMA NO. | DESCRIPTION |
| 1 | 41343.2 | PUMP BORE COVER, LARGE, BLUE |
| 2 | 81.177.2 | SQZ. TUBE ASSY. EPDM 1/8″ X 3/8″ FTNG, RINSE/SANITIZER |
| 3 | 81.172.2 | ROLLER BLOCK ASSEMBLY, LARGE (3 ROLLER) |
| 4 | 44.116.1 | #8-18 X 1/2″ SS. HI-LOW PAN HEAD SCREW |
| 5 | 41.63.1 | #8-32 X 5/16″ SS. RND. HEAD MACHINE SCREW |
| 6 | 41214.1 | PUMP BASE, LARGE |
| 7 | 82.60.07 | GEARMOTOR 24VDC KIT WITH SCREWS – 15RPM NOMINAL |
Pinnacle Small Motor Detergent Pump Kit (82.60.18)

| NO. | DEMA NO. | DESCRIPTION |
| 1 | 41325.1 | PUMP BORE COVER, SMALL, RED |
| 2 | 81.231.1 | SQUEEZE TUBE ASSEMBLY, EPDM |
| 3 | 81.219.2 | ROLLER BLOCK ASSEMBLY, SMALL (2 ROLLER) |
| 4 | 44.116.1 | #8-18 X 1/2″ SS. HI-LOW PAN HEAD SCREW |
| 5 | 41326.1 | PUMP BASE, SMALL |
| 6 | 41386.1 | MOTOR MOUNT ADAPTER |
| 7 | 81.220.1 | DRIVE SHAFT ADAPTER |
| 8 | 82.60.10 | MOTOR ASSEMBLY KIT W/ SCREWS, SMALL – 118 RPM |
Pinnacle Small Motor Rinse Pump Assembly

| NO. | DEMA NO. | DESCRIPTION |
| 1 | 41325.2 | PUMP BORE COVER, SMALL, BLUE |
| 2 | 81.231.1 | SQUEEZE TUBE ASSEMBLY, EPDM |
| 3 | 81.219.1 | ROLLER BLOCK ASSEMBLY, SMALL (3 ROLLER) |
| 4 | 44.116.1 | #8-18 X 1/2″ SS. HI-LOW PAN HEAD SCREW |
| 5 | 41326.1 | PUMP BASE, SMALL |
| 6 | 41386.1 | MOTOR MOUNT ADAPTER |
| 7 | 81.220.1 | DRIVE SHAFT ADAPTER |
| 8 | 82.60.11 | MOTOR ASSEMBLY KIT W/ SCREWS, SMALL – 35 RPM |
Warranty
Merchandise Returns
No Merchandise will be Returned for Credit Without DEMA’S Written Permission. Returned Merchandise Authorization Number is Required in Advance of Return.
Product Warranty
DEMA products are warranted against defective material and workmanship under normal use and service for one year from the date of manufacture. This limited warranty does not apply to any products that have a normal life shorter than one year or failure and damage caused by chemicals, corrosion, physical abuse, or misapplication. Rubber and synthetic rubber parts such as “O”-rings, diaphragms, PVC tubing, and gaskets are considered expendable and are not covered under warranty. This warranty is extended only to the original buyer of DEMA products. If products are altered or repaired without prior approval of DEMA, this warranty is void. Defective units or parts should be returned to the factory with transportation prepaid. If inspection shows them to be defective, they will be repaired or replaced without charge, F.O.B. factory. DEMA assumes no liability for damages. Return merchandise authorization number must be granted in advance of returned units for repair or replacement. (See “Merchandise Returns” above).


















