
Operating Instructions
Partridge – 4 Trap Trailer or Hi-Lift ![]()

Partridge 4 Trap Trailer or Hi-Lift
WARNING
Clay target launchers can be dangerous and must be treated with great care at all times to avoid accidents. Never place any bodily part into the path of any mechanical piece whilst the machine is in motion or likely to be so.
You must treat a clay terget launcher with the same caution that you would treat a loaded gun.
Assume at all times that a clay target launcher is armed and loaded and treat it accordingly
This document must be read in full before attempting to operate the machine
Preface:
Every effort has been made to ensure that the information contained within this manual is complete, accurate and up-to-date. Promatic International assumes no responsibility for errors beyond its control.
Please read this manual carefully before you attach the trailer to any vehicle, or attempt to use it on the shooting ground. It is a good idea when reading this manual, to study the actual trailer along with anyone else who may be using it. Properly used your Promatic Game Trailer will give you many years of safe & trouble free operation. Conventions used within this manual:
Trap: The Clay target launchers fitted to the trailer or Hi-lift – commonly known as clay traps and may be referred to in this manual as “The trap” or “The machine”
Warnings & Cautions:
Warning: This section contains instructions which, if ignored or carried out incorrectly, may result in risk of personal injury.
Caution: This section contains instructions which, if ignored or carried out incorrectly, may result in malfunction or damage to the equipment or consumables.
Note: This section contains additional information which the user may find useful, but is not essential to the operation of the product.
This product uses an AC Mains power charging system.
Traps operate from12v DC Power Source. We recommend 85Ah (approx.) leisure batteries.
Promatic part no. E30V/LB85
TRAPS MUST NEVER BE DIRECTLY
CONNECTED TO AC POWER
CAUTION
AC Mains wiring is present in this product
Great care should be taken when undertaking servicing or repair that any AC mains wiring is correctly identified and is properly isolated before any work commences.
Isolating the AC Mains charging system will not prevent the traps from being moved or fired
EYE PROTECTION MUST BE WORN WHEN WORKING ON OR AROUND A CLAY TARGET LAUNCHER AS SMALL SHARP PIECES OF CLAY MAY BE EJECTED.
Legal Considerations (Trailer version)
This trailer is not fitted with a lighting system and is designed for and classified as a vehicle for off-road use only. It should therefore only be towed on private roads and grounds. This trailer should not be towed on the public highway.
Towing Vehicle Suitability
Although this trailer is designed only for off-road use, for safety reasons (and to avoid potential warranty issues) the towing vehicle must still be capable of safely towing this weight of unbraked trailer. Information on recommended and maximum towing capacities can usually be found in the vehicle handbook or stamped on a plate under the bonnet. If this figure is not available, you should obtain confirmation of the maxi- mum allowable unbraked towing weight from the vehicle manufacturer.
Towball: Towball size and design differs in different countries – The towing vehicle must have a properly fitted towball of the correct type and specification to properly engage with the coupling fitted to the trailer.
(UK & Europe) An ISO Standard 50mm ball (flat topped and marked ISO 50) will be required as this type of coupling will have been fitted to the trailer at the factory.
(USA & Canada) Typically a 2” ball will be required, however other types are available, it is advised that those unfamiliar with trailers & towing seek advice from Promatic Inc. as to which type of coupling head (tongue) has been fitted to the particular trailer.
Regularly check the wear indicator on the coupling head, especially if towing with a variety of different vehicles. If you are in any doubt about any aspect of safety or history of a tow-ball or trailer coupling have them both replaced.
A rusty towball will quickly wear components within the coupling head (Tongue) and could lead to a damaged or runaway trailer. Keep the towball in good condition. Keep it well greased and covered when not in use.
Secondary coupling cable – This should be attached to a suitable eye or strong point on the towing bracket designed for such purposes. If this attachment point is unavailable it should be looped over the towball stem. If you do not have the secondary coupling cable fitted to your trailer, or if it or any part of the coupling head or operating assembly are damaged DO NOT TOW!
Always attach the secondary coupling cable
The secondary coupling cable is designed to carry the full weight of a trailer in the event of the main coupling becoming detached.
When coupled, the trailer must sit as close as possible to being horizontally level. Do not tow the trailer if it is severely tilted backwards or forwards.
Specifications (Trailer version):
| Length: | 3300mm | 130″ |
| Width: | 1905mm | 75″ |
| Height (over radio mast): | 2490mm | 98″ |
| Height (over traps): | 1400mm | 55″ |
| Total targets:676 Birds | 4 x 8 stack carousels (169 each) | |

Specifications (Hi-Lift Version):
| Length: | 1855mm 73” |
| Width: | 1880mm 74” |
| Height (over radio mast): | 2315mm 91” |
| Height (over traps): | 1328mm 52 1/4” |
| Total targets: 676 Birds | 4 x 8 stack carousels (169 each) |

Setting up the Oscillation Linkage
The trap drive bars (2 short adjustable linkages to gearbox at front of trailer) will have been placed in the centre hole of the rotation disc for delivery, this is to reduce shock from the movement of the traps which could potentially damage the gearbox in transit. It is recommended that this method is used whenever the trailer is towed any distance.The range of oscillation can be adjusted by placing the drive bolt to the drive bars in one of the alternative holes. 
Disarm the traps and ensure it is safe to proceed, then using a 19mm spanner/wrench undo the bolt holding the drive bars into the rotation disc, move to the desired hole and re-tighten. Using a hole positioned further from the centre will give a wider spread. The centre hole gives a fixed central position. Where the traps will not oscillate even if the rotation is turned on.
The short drive bars can be adjusted individually (use a 17mm & 19mm spanner/ wrench) to change the angle of either the front or rear pair of traps. Take care when adjusting this length since over rotation of the traps can lead to clashes between traps and between the traps and the tie bars. This is particularly likely if high elevations are used.
It is important to note that when adjusting the angle between the traps the long tie bars should not be adjusted to less than 900mm between fixing centres. To do so would allow the possibility that the traps could clash when in use. Ensure that locknuts are re-tightened after adjusting drive or tie bars. Again ensure that the adjustments do not cause clashes. We suggest that you use the nudge feature on the control box to test out the trap settings before turning on the rotation for use.
Secure the Hi-Lift before lifting. A safety device is fitted to the fork lift tubes to allow the Hi-Lift to be secured to the safety stop of the lifting machinery (see below) using suitable chains or lashing straps.
Safety chains or straps (Hi-Lift version)
Due to the many different types of lifting machinery in use, forklifts, tele-handlers etc.. and the variety of different designs of fork, chains or straps are not provided with the product and should be sourced by the user prior to first use. These chains or straps should be regularly checked for condition and security prior to each lift.
The Control Box (trailer & Hi-Lift)
Once the trailer has been properly parked , remove the locking pin from the base of the control box arm and swing the control box out to its operating position.
Insert the locking pin to prevent the control box from swinging back towards the traps during use. 
Control Box Layout
For each of the four traps there is an Arm/Disarm switch and Fire button, these replace the controls normally found on the trap’s electrical box. The rotation control perates on all four traps simultaneously. All controls can be disabled by turning off the control box isolator. 
Control Box Isolator
This is located on the right hand face of the control box. Disarm ALL traps before switching this to OFF as it isolates the individual controls on the front of the box, Before switching back on, ensure ALL arm/disarm switches are in the OFF position.
About the Partridge trailer radio
The radio control handset provided enables you to run pre-programmed flushes, fire either traps 1&4 (these are paired) , individually fire trap 2 or 3 or fire all four traps simultaneously.
Sporting Mode
Pressing the Mode button will toggle between Simulated Game / Sporting mode. In Sporting mode the traps are directly fired from the left hand buttons as stated above.
Simulated Game Mode
The controller has as standard 20, 40 & 60 bird flushes (Buttons 1-3) and 80 & 100 bird flushes (Double push on buttons 1-2). To use these flushes first select simulated game mode using the Mode button and then press the corresponding numbered button to select the flush you wish to shoot.
The screen will display the name of the flush you have selected along with “select sequence” press the OK button to confirm selection.
The screen will then display the last used flush speed and the message “select speed” select the desired speed (see below) and then press the OK/Start button to confirm selection. The screen will then display “ON = Start/Pause”. Upon pressing the OK/ Start button the controller will emit 3 beeps then begin throwing the flush. The first line of the display will give a count down showing the birds remaining, whilst the second line will show which traps are currently throwing i.e. 124 , 2 3 , 1 4 etc.. Pausing / scaping from a flush Push the OK/Start button to pause a flush, and push it again to re-commence. To abort a flush once commenced, pause it using the OK/Start button and then press the Mode button. The controller will return to the flush selection menu.
Speed control
Speed Control Up/Down Can be used to increase or decrease the speed of the a flush whilst it is in progress as well as during its selection.
Solo Delay
In Sporting mode this button toggles the delay on or off, when ON the controller will pause for 3 seconds before throwing the selected target, emitting 3 beeps as it does so, allowing the shooter time to put down the radio and mount his gun.
Switching off
The radio can only be turned off when in Sporting mode. Toggle into Sporting using the mode button then press and hold the OK/Start button for about 2 seconds to turn off the handset. If left unused for approximately 10 minutes the handset will automatically turn off. (when powered up again the controller will have been reset and any paused flush will have been lost)
Batteries
The handset is powered by 4 x AA size batteries (Alkaline batteries recommended), which can be changed by removing the rear cover to allow access.
Understanding the traps:

Positioning the machine:
- The Trailer must be situated on firm level ground in a position that will allow unrestricted access to rear of all the traps
- There must be no obstructions to the path of the throwing arms.
- Ensure that the control box is easily accessible without crossing the firing line of any traps and cables cannot become tangled in any part of the mechanism.
Ensure the machine is stable on firm level ground before use.
The propstand and jockey should be used to level the trailer and all wheels should be chocked before the traps are operated.
Safety fencing & guards should always be erected at an appropriate distance around the machine when it is in use.
GENERAL WARNINGS – BEFORE OPERATING ANY TRAP
ALWAYS disarm the machine before any loading, adjustment or maintenance.
ALWAYS load clays from rear and ONLY if the machine is disarmed and safe.
NEVER approach the machine from the front or sides. ALWAYS from the rear.
NEVER allow children or untrained persons to approach or touch the machine.
NEVER move an armed/loaded machine. ALWAYS disarm and isolate control box.
BE AWARE of the fall zone of both broken and unbroken clays and that a change in wind direction will affect this.
SPECIAL PRECAUTIONS – MULTIPLE TRAPS
ALWAYS disarm ALL machines before carrying out reloading or adjustment.
Reloading with clays should be carried out from the rear of the machines.
Be aware that when reloading any trap on this machine that the neighbouring traps
must also be made safe and properly dis-armed, and that performing this procedure
will cause any clay (or clay pieces) present in the trap to be thrown.
Re-arm/cock machines only when all personnel are either behind or at a safe distance.
Ensure that the machine is sited in a way that will prevent people from being struck by either the clay in flight, or broken pieces of clay being ejected sideways from the machine.
Never allow members of the public or untrained personnel to approach or touch the machine.
Think very carefully about the result that your actions will produce before proceeding.
Connecting / charging the batteries:
When fitting the batteries for the first time, ensure you are be- hind the machine, that the ARM/DISARM switches and control box isolator is in the OFF position and the traps are in a safe condition (either disarmed or in safe mode). For each battery, connect the red cable to the Red (+) terminal and the black cable to the Black ( -) Terminal. Ensure the terminal fasteners are tight, the cables are safely positioned and the straps are secure around each group of batteries.
The charger set is permanently connected to the battery installation, to charge the battery set simply connect the flying lead provided to the inlet socket and plug the other end into a suitable AC Mains outlet. The intelligent chargers monitor the battery conditions and adjust the charge rate to suit, with an automatic cut out when the batteries are fully charged. Chargers will operate on voltages from 100-240V AC. It is strongly recommended that if charging occurs outdoors that the AC outlet is protected by a suitable earth leakage device (Ground fault interrupter) to ensure the safety of all personnel involved.
Battery Troubleshooting :
Trap fails to re-arm – If after a period of prolonged use the trap fails to re-arm itself and is found to be stalled (may also be making a humming sound) then this is an indication that the battery is depleted, and the voltage has fallen too low to operate the trap. Disconnect the battery immediately and re-charge (or fit a fully-charged replacement ). A depleted battery may appear to have recovered if left unused. The trap should not be used any further than necessary to make it safe as continued operation of a depleted battery at low voltage may cause damage to the motor, battery, or other electrical components.
Circuit breaker has operated – The battery may have been incorrectly fitted (terminals reversed) or an excessive amount of current was drawn either due to a fault or obstruction within the trap. Check for obvious faults or obstructions and reset the circuit breaker. If the fault persists, seek advice from Promatic.
If the circuit breaker has tripped due to an obstruction DO NOT ASSUME THE TRAP IS SAFE it may still be armed with the obstruction holding back the energy from the spring. If this is the case it will be safest to remove the spring. Carefully clear the obstruction whilst remaining in the safe area behind the trap BE AWARE of the path of the throwing arm AND the debris that may be ejected.
ALWAYS disarm the machine before carrying out loading, adjustment or maintenance.
Adjustment: Spring Tension
Spring adjustment is always easier if the spring roller on the main shaft is at its rearmost position, this relieves the spring of a large proportion of it’s tension making adjustment much easier as well as reducing wear on the spring adjustment mechanism. To achieve this, first perform the transit Mode Procedure (see page 15) to put the machine into transit mode and then nudge forward until the throwing arm pro- jects forward from the front of the machine. At this point stop nudging and isolate the control box. Loosen the spring adjustment nut.
To increase the spring tension, move the Lock nut towards the coil spring and then tighten the Adjustment nut behind it.
To reduce the spring tension, move the Adjustment nut away from the spring coil and tighten the lock nut behind it.

Important: leave 30mm (1 3/16”) thread length between inside nut and spring coil. Increasing spring tension up to full length of thread will seriously detriment the erformance of the machine and will cause spring damage or failure.
Adjustment: Setting up knife edges
Place a clay target on the top plate and slide it half way under the two knife edges.
Using a 10mm spanner/wrench, adjust the height of the inner and outer leading edge of each blade (Position A in bottom diagram). It is desirable to have no less than 0.5mm clearance between the underside of the knife blades and the horizontal shoulder of the clay.
It is also important that the knife edges have the correct clearance around the diameter of the clay and that they support the skirt of the clay resting on the knife edges for its entire travel along the knife edge. To set this, hold the clay against the inner two carousel bars and gently tap the inner knife edge until there is approximately 1mm clearance between the dome of the clay and the knife edge. Tighten fixing bolts. Now hold the clay against the two outer carousel bars. Again gently tap the outer knife edge until there is approx. 1mm clearance between the dome of the clay and the knife edge. Tighten fixing bolts.
Transit Mode Procedure – This is recommended for machine transportation.
Warning: Stand at rear of machine only
- Disarm the machine by flicking the ARM/DISARM switch momentarily towards the DISARM position and immediately releasing (long enough for the trap to fire, but not giving the machine a chance to rearm). The throwing arm should be visible towards the front or side of the machine. The Gearbox block (A rectangular block attached to the gearbox shaft) should be in a position pointing towards the front of the machine. Push the ARM/DISARM switch momentarily in direction of DISARM/NUDGE just enough to allow the block to move slightly past the straight ahead position as seen in the diagram below. If the block has gone too far, follow this procedure again until the desired position is achieved.
- Isolate the control box to remove power from the machine.
- Adjust the spring to reduce the tension.
- The throwing arm can be pushed slowly, USING THE PALM OF THE HAND ONLY, around Anti-clockwise (Into the machine).

- As the throwing arm gets to the firing position (pointing directly to the back of the machine) the spring will take over, moving the arm onto the drive bolt on the Gearbox block. This will stop the arm and prevent it from firing. Further jogging should now see the throwing arm follow the drive bolt. If not, repeat the procedure but jog the gearbox block slightly further round before pushing the arm around (4). Once the arm is locked onto the drive pin disconnect the battery.
- This is TRANSIT MODE. The arm is now locked between the drive bolt and the one-way bearing within the trap, it cannot move or release again until power is applied and the ARM/DISARM switch operated.
Disarming the machine (Safe mode).
- To disarm the machine push the ARM/DISARM switch momentarily to the DISARM position and immediately release (long enough for the trap to fire, but not giving the machine a chance to rearm). The throwing arm should be visible towards the front or side of the machine.
- Turn the ON/OFF or
switch (if fitted) to the OFF or
position and disconnect the battery.
Firing the machine (Ensure the range is clear at the front of the trap.)
- Turn the ON/OFF or
switch (if fitted) to the ON or
position and set the ARM/DISARM switch to the ARM/LOAD position. The machine will move automatically and arm itself ready to launch a loaded clay. - Press the FIRE button on the command cable to throw a clay.
- The machine will fire every time the FIRE button is pressed and will automatical- ly rearm itself, until disarmed and switched off. When switched off, disconnect the power source.
Fault Finding
It is Promatic’s policy to upgrade or modify any of its products if they are ever proven suspect. Problems, which do occur, usually revolve around the clay pigeons themselves or the variation in their sizes between the different manufacturers. Poor maintenance and cleaning or physical damage caused during transportation of the machine are the other normal causes. Items that should be treated with great care are the throwing arm, casting plate and electrical box. The following pages offer some diagnostic procedures to help you pinpoint any problems and get your traps back up and running as quickly as possible.
ALWAYS disarm the machine before carrying out loading, adjustment or maintenance.
- Machine does not arm (i.e. come to the loaded position).
(a) Check the battery is charged and that connections are tight.
(b) Check the toggle switch is in the down (ON) position.
(c) Check that the Control box isolator is turned on.
(d) Check the Throwing arm is clear of the Roller switch under the Casting plate. If not, then press toggle up to nudge the Arm around until it is clear, then switch it back down to the ON position. - Machine still does not arm.
(a) Check all connections are tight including those inside the electrical box.
Check for broken wires and damaged connections.
(b) If there are no broken connections (battery connected, all switches on) press toggle up to “NUDGE”, listen and watch for the 12v relay operation in the control box.
(c) If the relay operates but the motor does not turn – momentarily short across the 2 large contacts on the relay with a screw driver or piece of wire. (These are the two terminals with red wires connected to them). If the motor does not turn – then the motor is suspect. If the motor does turn – then the relay is faulty. Contacts may be dirty or worn out.
(d) If the relay does not operate – check the fuse has not blown. Replace fuse if it has blown and try again.
(e) If the motor does not turn – then short the brown wire to the yellow/green wire on the back of the toggle switch with the switch in the “NUDGE” position. If the relay operates and the motor turns then the toggle switch is faulty. If the relay still does not operate, then it’s the relay that is faulty. - Machine runs in “NUDGE” position, but not in “ON” position.
If the arm is clear of the Roller Switch then the Roller Switch may be faulty. Check that the roller arm is not seized. If so, strip, clean and re-assemble. Otherwise replace the Roller Switch. - Trap fires by itself!
(a) If the trap fires by itself – first check the arm to crank timing relationship as described on page 20 of this manual. If this relationship is correct then, after having put the trap into the disarmed/safe position, move the roller limit switch out along the slotted bracket to its maximum. If the machine now re-arms normally then move the limit switch back to within 5mm of its original position. If the trap now fires by itself again then move the switch to 10mm of its original position and so on until the trap arms normally under all conditions.
(b) If the machine still fires by itself – check if the relay contacts have stuck together, and if so replace. If the relay operates correctly, but the trap still fires by itself, then the roller limit switch is faulty and should be replaced.
ALWAYS disarm the machine before any loading, adjustment or maintenance.
ALWAYS load clays from rear and ONLY if the machine is disarmed and safe.
NEVER approach the machine from the front or sides. ALWAYS from the rear.
NEVER allow children or untrained persons to approach or touch the machine.
NEVER move an armed/loaded machine.
ALWAYS disarm and isolate the control box.
BE AWARE of the fall zone of both broken and unbroken clays and that a change in wind direction will affect this.
Never approach the machine from the front or sides, Do not assume the trap is safe even without electrical power it may still be armed and can fire without power being applied.
ALWAYS disarm the machine before carrying out loading, adjustment or maintenance.
Adjustment: Elevation
Loosen the locking nut as shown, adjust to desired angle, then retighten the nut. Trajectory of clays are from flat to approximately 50 degrees.

Be aware that if machine is already tilted upwards, when the locking nut is subsequently undone the machine will jolt forward. Support the weight of the machine from the top of the carousel (or have an assistant do this) when adjusting the elevation angle.
Adjustment: Throwing arm timing
- Perform the Transit mode operation. Press the nudge button and ensure that the throwing arm follows the gearbox block. If not, perform the transit mode operation again but take the gearbox block a little further round. Nudge the throwing arm until it points directly forward. This relieves the spring tension.
- Note the position of the inside nut before removing the spring (as this determines the amount of spring tension set) then undo the rear nut and remove the spring from the trap.
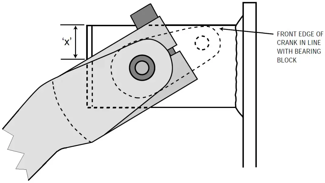
- With the spring removed, rotate the throwing arm until the main shaft crank is pointing towards the mainframe with the leading curve aligned with the front edge of the square bearing tube. Refer to the diagram below.
- Loosen the throwing arm clamp block bolt until the throwing arm will move around the main shaft. Rotate the throwing arm clockwise (this is so the main shaft is held by the one-way bearing and doesn’t move) until the throwing arm is positioned as in the diagram below, where X=15mm.
- Making sure both the main shaft crank and the throwing arm are in the positions described, firmly tighten the throwing arm clamp block bolt. The arm timing is now complete.
- Replace the spring paying attention to the orientation of the hook (Open side inwards towards the frame).

Spare Parts
For parts not listed please call Promatic or you local dealer / service agent or visit www.promatic.co.uk

Spare Parts
For parts not listed please call Promatic or you local dealer / service agent or visit www.promatic.co.uk 
Barclay-Phelps
CE Marking Consultants
Barclay Phelps CE Marking Consultants, 2918 City Mill Lane, Gibraltar 646, Europe
CERTIFICATE & DECLARATION OF CONFORMITY FOR CE MARKING
Company contact details:
Promatic International Ltd.
Station Works, Hooton Road, Hooton, S Wirral, CH66 7NF, United Kingdom
Tel: +44(0)151 327 2220 Fax: +44(0)151 327 7075 e mail: [email protected]
Promatic International Ltd. declares that their:
Clay Target Launchers listed as the following models
Elite, Hawk,Superhawk,Harrier,Harrier, ABT/Wobble, Eagle, Eagle Battue, Falcon, Hobby / Merlin,
Ranger 8, Osprey/All American Ranger, Ranger Battue, Ranger ABT/Wobble,
Sporter 400TT, Sporter 400TT ABT/Wobble, Super Spoiler Battue,
Super Sporter, Super Sporter Downhill Thrower, Super Spoiler ABT/Wobble, Rabbit, Squirrel,
Ranger Chondell, Chondell, Hunter Wobble, Huntsman, Huntsman XP,
Fieldsman, Club Skeet, Pro Skeet, Int Skeet, Olympic Trap, Club 275 DTUATA
International DTUATA, Pro ABT/Wobble, Auto Trap DTUATA/ABT/Wobble,
International Doubles DTUATA/Wobble and Sporter Doubles DTUATA/Wobble
are classified within the following EU Directives:
Machinery Directive 2006/42/EC
Electromagnetic Compatibility Directive 2004/108/EC
and further conform with the following EU Harmonized Standards:
EN 12100-1:2003+A1:2009 EN 12100-2:2003+A1:2009 EN 61000-6-3:2007 EN 61000-6-1:2007
Dated: 19 April 2011
Position of signatory: Group Technical Director
Name of Signatory: Graham Stephen Fair
Sign7below:
p.p. Promati liernational Ltd. 

Promatic International Ltd.
Hooton Road
Hooton
South Wirral
CH66 7PA
United Kingdom
Tel: +44 (0) 151 327 2220 (General)
Fax: +44 (0) 151 3277075
E-mail [email protected]
Website: www.promatic.co.uk
Promatic Inc.
801, Mid America Drive,
Plattsburg.
MO 64477
USA
Toll Free: 888.767.2529
Fax: 816.539.0257
E-mail: [email protected]
Website: www.promatic.biz
Partridge Trailer Version 1.3 — February 2022



















