PROMATIC Montero Auto Trailer Instruction Manual

Preface: Every effort has been made to ensure that the information contained within this manual is complete, accurate and up-to-date. Promatic International assumes no responsibility for errors beyond its control.
Please read this manual carefully before you attach the trailer to any vehicle, or attempt to use it on the shooting ground. It is a good idea when reading this manual, to study the trap & trailer along with anyone else who may be using it. Properly used your Promatic trap & Trailer will give you many years of safe & trouble free operation.
Conventions used within this manual: Trap: The Clay target launcher fitted to the trailer – commonly known as clay traps and may be referred to in this manual as “The trap” or “The machine”
Warnings & Cautions:
Grouse Trailer Specifications:
Length (over towball): 2030mm 80”
Length (throwing arm extent): 2070mm 81 1/2”
Width: 1120mm 44”
Height (over radio mast): 1930mm 76”
Targets: 250 (8 stack carousel)

Off-road Trailer
This trailer is not fitted with a lighting system and is designed specifically for off-road use only. It should therefore only be towed on private roads and grounds. This trailer should not be towed on the public highway.
⚠ Towball: Towball size and design differs in different countries – The towing vehicle must have a properly fitted towball of the correct type and specification to properly engage with the coupling fitted to the trailer.
Trailer coupling
(UK & Europe) An ISO Standard 50mm ball (flat topped and marked ISO 50) will be required. This type of coupling head has been fitted to the trailer at the factory.
(USA & Canada) Typically a 2″ ball will be required, it is advised that if unsure you should seek advice from Promatic Inc. as to which type of coupling head (tongue) has been fitted to any particular trailer.
Regularly check the condition of the coupling head and rear towing ball, any damage to these could also cause damage to the towing vehicle’s coupling or the coupling head of any other trailers you use.
⚠ A rusty or damaged towball will quickly wear parts within the coupling head (Tongue) of the trailer and could lead to a damaged coupling head or runaway trailer. Keep all tow-balls (including the rear one of the trailer) in good condition, well greased and covered when not in use.
Secondary coupling cable
This should be attached to a suitable eye or strong point on the towing bracket. If this attachment point is not fitted the cable should be looped over the towball stem. If you do not have the secondary coupling cable fitted to your trailer DO NOT TOW!
⚠ Always attach the secondary coupling cable It is designed to carry the full weight of a trailer should the coupling fail.
Connecting the battery:
Ensure you are behind the machine, that the ARM/DISARM switch is in the OFF position and the trap in a safe condition (either disarmed or in safe mode). Connect the red cable to the Red (+) terminal and the black cable to the Black (-) Terminal. Ensure the terminal fasteners are tight, the battery is safely positioned and that any charger(s) are removed.
⚠ Never approach the machine from the front or sides, Do not assume the trap is safe, even without electrical power it may still be armed and can fire without power being applied.
Battery Troubleshooting :
Trap fails to re-arm – If after a period of prolonged use the trap fails to re-arm itself and is found to be stalled (may also be making a humming sound) then this is an indication that the battery is depleted, and the voltage has fallen too low to operate the trap. Disconnect the battery immediately and re-charge (or fit a replacement fullycharged battery).
A depleted battery may appear to have recovered if left unused. The trap should not be used any further than necessary to make it safe as continued operation of a depleted battery at low voltage may cause damage to the motor, battery, or other electrical components.
Circuit breaker has operated – The battery may have been incorrectly fitted (terminals reversed) or an excessive amount of current was drawn either due to a fault or obstruction within the trap. Check for obvious faults or obstructions and reset the circuit breaker. If the fault persists, seek advice from Promatic.
⚠ If the circuit breaker has tripped due to an obstruction DO NOT ASSUME THE TRAP IS SAFE it may still be armed with the obstruction holding back the energy from the spring. If this is the case it will be safest to remove the spring. Carefully clear the obstruction whilst remaining in the safe area behind the trap BE AWARE of the path of the throwing arm AND the debris that may be ejected.
Transit Mode Procedure – This is recommended for machine transportation. Warning: Stand at rear of machine only
- Disarm the machine by flicking the ARM/DISARM switch momentarily to-wards the DISARM position and immediately releasing (long enough for the trap to fire, but not giving the machine a chance to rearm). The throwing arm should be visible towards the front or side of the machine. The Gearbox block (A rectangular block attached to the gearbox shaft) should be in a position pointing towards the front of the machine. Push the ARM/DISARM switch momentarily in direction of DISARM/NUDGE just enough to allow the block to move slightly past the straight ahead position. If the block has gone too far, follow this procedure again until the desired position is achieved.
- Disconnect the power source from the machine.
- Adjust the spring to reduce the tension.
- The throwing arm can be pushed slowly, USING THE PALM OF THE HAND ONLY, around Anti-clockwise (Into the machine).
- As the throwing arm gets to the firing position (pointing directly to the back of the machine) the spring will take over, moving the arm onto the drive bolt on the Gearbox block. This will stop the arm and prevent it from firing. Further jogging should now see the throwing arm follow the drive bolt. If not, repeat the procedure but jog the gearbox block slightly further round before pushing the arm around (4). Once the arm is locked onto the drive pin disconnect the battery.

- This is TRANSIT MODE. The arm is now locked between the drive bolt and the one-way bearing within the trap, it cannot move or release again until power is applied and the ARM/DISARM switch operated.
Disarming the machine (Safe mode).
- To disarm the machine push the ARM/DISARM switch momentarily to the DIS-ARM position and immediately release (long enough for the trap to fire, but not giving the machine a chance to rearm). The throwing arm should be visible towards the front or side of the machine.
- Turn the ON/OFF or switch (if fitted) to the OFF or position and disconnect the battery.

⚠ Never approach the machine from the front or sides, Do not assume the trap is safe even without electrical power it may still be armed and can fire without power being applied.
Firing the machine (Ensure the range is clear at the front of the trap.)
- Turn the ON/OFF or switch (if fitted) to the ON or position and set the ARM/DISARM switch to the ARM/LOAD position. The machine will move automatically and arm itself ready to launch a loaded clay.
- Press the FIRE button on the command cable to throw a clay.
- The machine will fire every time the FIRE button is pressed and will automatically rearm itself, until disarmed and switched off. When switched off, disconnect the power source.
Adjustment: Setting up knife edges


⚠ Never approach the machine from the front or sides, Do not assume the trap is safe even without electrical power it may still be armed and can fire without power being applied.
⚠ ALWAYS disarm the machine before carrying out loading, adjustment or maintenance.
Adjustment: Elevation (DTL Model only)
Loosen the locking nut as shown, tilt the trap to the desired angle, then re-tighten the nut.
⚠ Be aware that when the locking nut is undone the machine could tilt forward or backwards. Support the weight of the machine from the top of the carousel (or have an assistant do this) when adjusting the elevation angle.
⚠ ALWAYS disarm the machine before carrying out loading, adjustment or maintenance.
Adjustment: Spring Tension
Spring adjustment is always easier if the spring roller on the main shaft is at its rearmost position, this relieves the spring of a large proportion of it’s tension making adjustment much easier as well as reducing wear on the spring adjustment mechanism. To achieve this, first perform the transit Mode Procedure (see page 6) to put the machine into transit mode and then nudge forward until the throwing arm projects forward from the front of the machine. At this point stop nudging and disconnect the battery. Loosen the spring adjustment lock nuts To increase the spring tension, move the Lock nut towards the coil spring and then tighten the Adjustment nut behind it. To reduce the spring tension, move the Adjustment nut away from the spring coil and tighten the lock nut behind it.
Adjustment: Throwing arm timing
- Perform the Transit mode operation. Press the nudge button and ensure that the throwing arm follows the gearbox block. If not, perform the transit mode operation again but take the gearbox block a little further round. Nudge the throwing arm until it points directly forward. This relieves the spring tension.
- Note the position of the inside nut before removing the spring (as this determines the amount of spring tension set) then undo the rear nut and remove the spring from the trap.
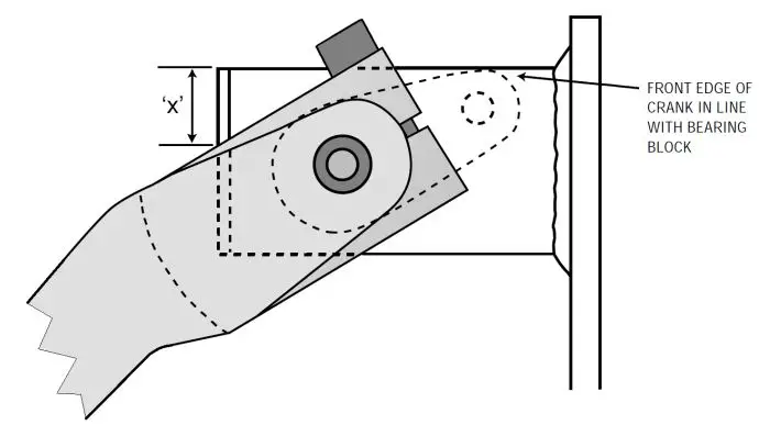
- With the spring removed, rotate the throwing arm until the mainshaft crank is pointing towards the mainframe with the leading curve aligned with the front edge of the square bearing tube. Refer to the diagram below.
- Loosen the throwing arm clamp block bolt until the throwing arm will move around the mainshaft. Rotate the throwing arm clockwise (this is so the mainshaft is held by the one-way bearing and doesn’t move) until the throwing arm is positioned as in the diagram below, where X=15mm.
- Making sure both the mainshaft crank and the throwing arm are in the positions described, firmly tighten the throwing arm clamp block bolt. The arm timing is now complete.
- Replace the spring paying attention to the orientation of the hook (Open side inwards towards the frame).

Fault Finding
It is Promatic’s policy to upgrade or modify any of its products if they are ever proven suspect. Problems, which do occur, usually revolve around the clay pigeons themselves or the variation in their sizes between the different manufacturers. Poor maintenance and cleaning or physical damage caused during transportation of the machine are the other normal causes. Items that should be treated with great care are the throwing arm, casting plate and electrical box.
The following pages offer some diagnostic procedures to help you pinpoint any problems and get your traps back up and running as quickly as possible.
⚠ ALWAYS disarm the machine before carrying out loading, adjustment or maintenance.
- Machine does not arm (i.e. come to the loaded position).
(a) Check the battery is charged and that connections are tight.
(b) Check the toggle switch is in the down (ON) position.
(c) Check that the Control box isolator is turned on.
(d) Check the Throwing arm is clear of the Roller switch under the Casting plate. If not, then press toggle up to nudge the Arm around until it is clear, then switch it back down to the ON position. - Machine still does not arm.
(a) Check all connections are tight including those inside the electrical box. Check for broken wires and damaged connections.
(b) If there are no broken connections (battery connected, all switches on) press toggle up to “NUDGE”, listen and watch for the 12v relay operation in the control box.
(c) If the relay operates but the motor does not turn – momentarily short across the 2 large contacts on the relay with a screw driver or piece of wire. (These are the two terminals with red wires connected to them). If the motor does not turn – then the motor is suspect. If the motor does turn – then the relay is faulty. Contacts may be dirty or worn out.
(d) If the relay does not operate check the fuse has not blown. Replace fuse if it has blown and try again.
(e) If the motor does not turn – then short the brown wire to the yellow/green wire on the back of the toggle switch with the switch in the “NUDGE” position. If the relay operates and the motor turns then the toggle switch is faulty. If the relay still does not operate, then it’s the relay that is faulty. - Machine runs in “NUDGE” position, but not in “ON” position. If the arm is clear of the Roller Switch then the Roller Switch may be faulty. Check that the roller arm is not seized. If so, strip, clean and re-assemble. Otherwise replace the Roller Switch.
- Machine arms, but will not fire on command cable button.
(a) Either the connections, cable or command push button are faulty. Disconnect the Hirschmann connector from the control box socket and using a short piece of wire connect pins 2 & 3 in the socket (do not put anything into the other pin holes as one of these carries continuous +12v for radio use.)
If the trap does not fire then there is a broken wire in the cable or a bad connection within the Hirschmann connector or control box.
(b) If the trap does fire then reconnect the command cable, remove the cover on the push button box and short across the two spade connectors. If the trap fires – then the push button is faulty. If the trap does not fire – then there is a broken wire in the command cable or a bad connection in the connector. - Trap fires by itself!
(a) If the trap fires by itself – first check the arm to crank timing relationship as described on page 11 of this manual. If this relationship is correct then, after having put the trap into the disarmed/safe position, move the roller limit switch out along the slotted bracket to its maximum. If the machine now re-arms normally then move the limit switch back to within 5mm of its original position. If the trap now fires by itself again then move the switch to 10mm of its original position and so on until the trap arms normally under all conditions.
(b) If the machine still fires by itself – check if the relay contacts have stuck together, and if so replace. If the relay operates correctly, but the trap still fires by itself, then the roller limit switch is faulty and should be replaced.
ALWAYS disarm the machine before any loading, adjustment or maintenance.
ALWAYS load clays from rear and ONLY if the machine is disarmed and safe.
NEVER approach the machine from the front or sides. ALWAYS from the rear.
NEVER allow children or untrained persons to approach or touch the machine.
NEVER move an armed/loaded machine.
ALWAYS disarm and isolate using the circuit breakers on the control box.
BE AWARE of the fall zone of both broken and unbroken clays and that a change in wind direction will affect this.
Spare Parts
For parts not listed please call Promatic or your local dealer / service agent or visit www.promatic.co.uk





CERTIFICATE & DECLARATION OF CONFORMITY FOR CE MARKING
Con-.,any contact details:
Promatic International Ltd .
Station Works , Hooton Road, Hooton , S Wirral , CH66 7NF , United Kingdom
Tel: +44(0)151 327 2220 Fax: +44(0)151 327 7075 e mail: [email protected]
Promatic International Ltd. declares that their:
Cla y Target Launchers listed as the following models
Elite, Hawk, Superhawk,Harrier, Harrier ABT/Wobble, Eagle, Eagle Battue, Falcon , Hobby/ Merlin ,
Ranger 8 , Osprey/Al l American Ranger, Ranger Battue , Ranger ABT/Wobble,
Sporter 400TT, Sporter 400TT ABT/Wobble , Super Sporter Battue, Super Sporter,
Super Sporter Downhill Thrower, Super Sporter ABT/Wobb le, Rabbit, Squirrel,
Ranger Chondell , Chondell , Hunter Wobble , Huntsman, Huntsman XP,
Fieldsman, Club Skeet, Pro Skeet , Int Skeet , Olympic Trap , Club 275 DTUAT A
International DTUATA Pro ABT/Wobble , Auto Trap DTUATA/ABT/Wobble ,
International Doubles DTUATA/Wobble and Sporter Doubles DTUATA/Wobble
are classified within the following EU Directives:
Machinery Directive 2006/42/EC
Electromagnetic Compatibility Directive 2004/108/E C
and further conform with the following EU Harmonized Standards:
EN 12100-1 :2003+A1 :2009 EN 12100-2:2003+A1 :2009
EN 61000-6-3:2007 EN 61000-6-1 :2007

Promatic International Ltd. Hooton Road Hooton South Wirral CH66 7PA
United Kingdom
Tel: +44 (0) 151 327 2220
E-mail [email protected]
Website: www.promatic.co.uk
Promatic Inc. 801, Mid America Drive,
Plattsburg. MO 64477 USA
Toll Free: 888.767.2529 Fax: 816.539.0257
E-mail: [email protected]
Website: www.promatic.biz
Montero Auto Version 1.0– September 2022

(a) Either the connections, cable or command push button are faulty. Disconnect the Hirschmann connector from the control box socket and using a short piece of wire connect pins 2 & 3 in the socket (do not put anything into the other pin holes as one of these carries continuous +12v for radio use.)

















