MEEC TOOLS 707-054 Trailer

Product Information
The product being referred to in this user manual is a trailer that comes with operating instructions in multiple languages. The trailer has a dimension of 965 x 715 x 300 mm and 1480 x 790 x 680 mm when fully assembled. It is equipped with pneumatic sprint wheels that measure 100/90-6 (4,00-6”). The U-shaped frame of the trailer is made of steel and has a weight of 28 kg. The trailer can carry a maximum load of 180 kg.
Product Usage Instructions
- Ensure that all components are present before assembling the trailer.
- Follow the eleven steps outlined in the manual to assemble the trailer.
- Once assembled, ensure that the trailer is not overloaded beyond the maximum carrying capacity of 180 kg.
- To use the trailer, attach it to a towing vehicle using the coupling plate and coupling sprint provided.
- Ensure that the coupling sprint is securely fastened and locked in place.
- Use the pedal lock to prevent the trailer from tilting when not in use.
- When loading items onto the trailer, remove the rear board to make it easier to load and unload items.
- When transporting items, ensure that they are properly secured to prevent them from falling off the trailer during transit.
- After use, store the trailer and its components in a dry and secure location.
- Regularly inspect the trailer and its components for signs of wear and tear, and replace any damaged parts before using the trailer again.
SAFETY INSTRUCTIONS
Read the user instructions carefully before use! Save them for future reference.
IMPORTANT: The warnings and instructions in these user instructions do not cover all potential situations that can develop. The user must employ common sense and due caution.
- Do not use the product to transport persons, either sitting or standing.
- Children must not play, stand or climb on the product.
- Check the product with regard to wear and damage each time before it is used.
- Immediately repair or replace damaged parts.
- Check and if necessary re-tighten or secure assembled parts before each use.
- Do not exceed the maximum permitted load.
- Avoid driving over ditches and over large holes in the road or terrain when transporting loads.
- Exercise care when driving and manoeuvring on steep slopes – risk of tipping!
- Always maintain a low speed when driving on steep slopes, terrain or on other difficult surfaces.
- Do not drive or manoeuvre close to public roads, ditches, stream channels, etc.
- Never exceed 15 km/h – risk of personal injury and/or material damage
- Exercise care when loading and unloading.
- Only use recommended towing vehicles (garden tractors and four wheel drive vehicles).
- Always check before use that the trailer is coupled correctly to and locked in the tow hitch.
TECHNICAL DATA
- Load capacity 180 kg
- Frame material and platform box Steel
- Internal dimensions of the platform box 965 x 715 x 300 mm
- External dimensions 1480 x 790 x 680 mm
- Wheel axle dimensions 15 x 775 mm
- Tyre dimensions 100/90-6 (4.00-6’’)
- Tyre type Pneumatic
- Coupling type Cotter pin
- Tyre pressure (bar) 1.7
- Weight 28 kg
DESCRIPTION
The trailer features a sturdy steel structure and is designed to transport a variety of materials, such as tools, wood, animal feed, recycling goods, rubbish, soil and filling masses, cement etcetera. The rear tailboard is removable to facilitate loading and unloading.
IMPORTANT: Do not exceed the maximum load of 180 kg.

COMPONENTS LIST



ASSEMBLY
Unpack all parts and check that no parts are missing. If no parts are missing, assemble the trailer according to steps 1 to 11 below.
Tools needed:
- Pliers
- Screwdriver
- Spanners 10 mm and 14 mm
- Assembling the drawbar support
Assemble the drawbar support (27) on the underside of the bottom plate (1) using 4 screws M6 x 12 (3), 4 lock washers Ø 6 (4) and 4 hex nuts M6 (5). NOTE: The hole in the drawbar support (27) must be on the right-hand side
- Assembling the wheel axle holder
Assemble both wheel axle holders (10) and mount on the underside of the bottom plate (1) using 8 screws M8 x 16 (11), 8 lock washers Ø 8 (12) and 8 hex nuts M8 (13).
- Fitting the wheels
Position the drawbar (19) in the wheel axle support (10). Slide in the wheel axle (17) through the wheel axle support (10) and the drawbar (19). Fit a flat washer Ø 16 (14) on each end of the wheel axle (17), and then thread on the wheels (15), lock the wheels on the axle with a second flat washer Ø 16 (14) and R-clips Ø 3 (16).
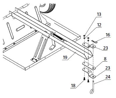
- Assembling the tip lock pedal
Position the tip lock pedal (21) in the drawbar (19), together with a spacer (20) on each side of the pedal (21). Thread a hex screw M6 x 90 (25) through the pedal and the spacers and tighten with a hex lock nut M6 (26). Hook the tip lock spring (21) in the tip lock pedal’s (21) bottom hole and hook the other end of the spring in the drawbar (19).
- Assembling of the coupling cotter
Assemble the coupling cotter holder (23) on the drawbar (19) using 2 hex screws M8 x 20 (18), 2 lock washers Ø 8 (12) and 2 hex nuts M8 (13). Insert the coupling cotter (24) through the holder and the drawbar hole and secure using an R-clip Ø 3 (16).
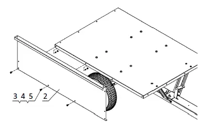
- Assembling the dropsides
Assemble the dropsides (2) on the bottom plate using 6 screws M6 x 12 (3), 6 lock washers Ø 6 (4) and 6 hex nuts M6 (5).
- Assembling the headboard
Assemble the headboard (28) on the underside of the bottom plate using 4 screws M6 x 12 (3), 4 lock washers Ø 6 (4) and 4 hex nuts M6 (5). Secure the headboard (28) in the dropsides using 6 screws M6 x 12 (3), 6 lock washers Ø 6 (4) and 6 hex nuts M6 (5).
- Assembling the corner plates
Secure both corner plates (29) in the dropsides and headboard using 4 hex screws M6 x 12 (3), 4 lock washers Ø 6 (4) and 4 hex nuts M6 (5).
- Assembling the U-frame
Secure the U-frame (7) in the bottom plate and the dropsides using 6 screws M6 x 12 (3), 6 lock washers Ø 6 (4) and 6 hex nuts M6 (5). Secure both tailboard guides (6) in the U-frame (7) and the dropsides using 4 screws M6 x 12 (3), 4 lock washers Ø 6 (4) and 4 hex nuts M6 (5).
- Assembling the tailboard
Slide the tailboard (9) in position in tailboard guides.
- Assembling the tip lock’s safety cotter
- Insert the R-clip Ø 3 (16) in the drawbar’s safety cotter.
- Pull out the R-clip Ø 3 (16) when the platform needs to be unloaded and step on the tip lock pedal.

USE
- Do not exceed the maximum permitted load of 180 kg.
- Always check before use that the trailer is coupled correctly to and locked in the tow hitch.
- Use only an approved towing vehicle to tow the trailer (garden tractors and four wheel drive vehicles).
- Never drive with the platform in tipped up.
- Do not overfill the platform box. Material that falls out over the dropsides/board can cause the trailer or towing vehicle wheels to lose traction and skid.
- Fill the platform box moderately if the load is to be tipped. Large and heavy loads may be difficult to handle and tip.
- Only use the trailer for its intended purpose.
- Make sure that the towing vehicle and the driver’s combined weight is always greater than the combined weight of the trailer and load, for good driving characteristics.
- Do not use the trailer on public roads.
- Do not exceed 15 km/h with the trailer.
- Exercise care on tight corners – the towing vehicle’s tyres can rub against the trailer.
- Always reduce speed before cornering.
- Exercise care and be attentive when reversing. As far as possible reverse straight – if you need to turn when reversing, there is a risk that the trailer “fastens” on the towing vehicle
Tips and restrictions
- Removable tailboard – Press upwards to remove the tailboard to facilitate loading and unloading.
- Platform box – Do not exceed the maximum load of 180 kg.
- Tyres/rims – Do not exceed the max. tyre pressure 1.7 bar.
- Coupling device – Cotter coupling, only couple to an approved towing vehicle.
- Tip lock pedal – The pedal releases the platform box’s tipping mechanism.
MAINTENANCE
Cleaning
- Clean load residue from the platform box after each use.
- Rinse clean and dry the trailer inside and out after each use.
- Always check before use that the tyres are inflated to the recommended pressure, 1.7 bar.
- Check the wheel axle and wheel bearings regularly and lubricate if necessary.
- Check all bolted joints regularly, and retighten if necessary.
- Clean and lubricate sparingly all moving parts annually.
- Repair damaged paintwork with bright top coating.
Storage
- Do not allow the load or masses remain in the platform box over long periods.
- Make sure that the trailer is clean and dry before storing, this increases its service life and reliability.
- Store indoors or in some other way protected from the weather during the winter and in bad weather.
- For outdoor storage, raise the drawbar end slightly higher than the rear edge of the platform to ensure good run-off.
IMPORTANT: Incorrect maintenance and/or incorrect storage will invalidate the warranty. Only use spare parts recommended by the manufacturer. The use of other spare parts can cause malfunctioning, damage to property and/or personal injury.
EU DECLARATION OF CONFORMITY






























