MEEC TOOLS 011851 Compact Garage Jack

SAFETY INSTRUCTIONS
- Read the user instructions carefully before use and save them for future reference.
- It’s forbidden to use the jack to lift people.
- Never overload the product (max load 2 tonnes).
- The jack is only intended for lifting. Block up the load immediately after lifting, for example, with jack stands.
- Check before lifting that the parking brake is applied and that the wheels are wedged so that the vehicle cannot roll.
- Always place the jack on a level, hard surface otherwise there is a risk of the load falling over and causing personal injury and/or material damage.
- Always putthe middle of the saddle directly under the part to be lifted.
- The product has a default overload valve. Do not attempt to modify the overload valve.
SYMBOLS
TECHNICAL DATA
- Lift ca pa city: 7500 kg
- Max load: 2000 kg
- Lifting: height: 130 – 300 mm
- Size:L 42 x W 19 x H 13 cm
- Weight: 6.8 kg
DESCRIPTION
- Pump fixture
- Relief valve
- Close
- Open
FIG 1
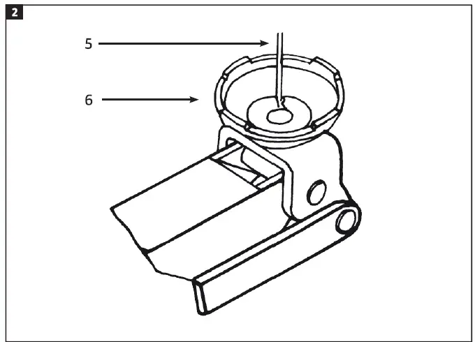
- Load
- Saddle FIG 2

USE
- Before using, open the relief valve, but do not unscrew completely Put the handle in the socket and pump six full strokes to distribute the hydraulic oil in the system.
IMPORTANT: Check that the saddle is correctly positioned under the part to be jacked up. Ask your dealer if in doubt. - Close the relief valve by turning it clockwise. Check that the load comes under the middle of the saddle. Put the handle in the socket and pump up the jack to the required height.
- To lower the load, open the relief valve slowly by turning it clockwise.
MAINTENANCE
- Store the jack in the retracted position when not in use, to prevent corrosion to the machined surfaces on the piston rod and piston.
- Always use SAE70 hydraulic oil, intended for jacks.
- Clean the product at regular intervals, and lubricate all moving parts, including spindles, cotters, piston bolts, and wheels.
Troubleshooting
JACK DOES NOT LOWER DOWN PROPERLY AFTER LIFTING
- Valves not closing properly. Lower the lifting arm and close the relief valve. Place one foot on one of the front wheels and lift the lifting arm by hand as far as it will go. Open the relief valve so that the lifting arm drops down. The jack should now work properly.
- Open the filler plug to release any air from the hydraulic system.
JACK FEELS UNSTABLE
- Low hydraulic oil level. Remove filler plug and fill up with clean hydraulic oil for jack.
- Air has got into the jack. Open relief valve by turning it one full turn. Lift up back wheels until jack is straight up. Pump the handle. Close the valve and test the jack.
JACK DOES NOT LIFT TO FULL RANGE
- Low hydraulic oil level. Remove filler plug and fill up with clean hydraulic oil for jack. Open filler plug to release any air from the hydraulic system.
- Air has got into the jack. Open relief valve by turning it one full turn. Lift up back wheels until jack is straight up. Pump the handle. Close the valve and test the jack.
JACK DOES NOT HOLD
Valves not closing properly. Lower the lifting arm and close the relief valve. Place one foot on one of the front wheels and lift the lifting arm by hand as far as it will go. Open the relief valve so that the lifting arm drops down. The jack should now work properly.
JACK DOES NOT LIFT
- Low hydraulic oil level. Remove the filler plug and fill it up with clean hydraulic oil for the jack.
- Open the filler plug to release any air from the hydraulic system.
- Air has got into the jack. Open the relief valve by turning it one full turn. Lift up the back wheels until the jack is straight up. Pump the handle. Close the valve and test the jack.
- Valves not closing properly. Lower the lifting arm and close the relief valve. Place one foot on one of the front wheels and lift the lifting arm by hand as far as it will go. Open the relief valve so that the lifting arm drops down. The jack should now work properly.
HANDLE MOVES DOWN
- Low hydraulic oil level. Remove filler plug and fill up with clean hydraulic oil for jack.
- Valves not closing properly. Lower the lifting arm and close the relief valve. Place one foot on one of the front wheels and lift the lifting arm by hand as far as it will go. Open the relief valve so that the lifting arm drops down. The jack should now work properly.
HANDLE MOVES UP
Valves not closing properly. Lower the lifting arm and close the relief valve. Place one foot on one of the front wheels and lift the lifting arm by hand as far as it will go. Open the relief valve so that the lifting arm drops down. The jack should now work properly.























