Clarke CTJ3000GB 3-Tonne Garage Jack

INTRODUCTION
Thank you for purchasing this CLARKE Garage Jack. Before attempting to use this product, please read this manual thoroughly and follow the instructions carefully. In doing so you will ensure the safety of yourself and that of others around you, and you can look forward to your purchase giving you long and satisfactory service.
GUARANTEE
This product is guaranteed against faulty manufacture for a period of 12 months from the date of purchase. Please keep your receipt which will be required as proof of purchase. This guarantee is invalid if the product is found to have been abused or tampered with in any way, or not used for the purpose for which it was intended. Faulty goods should be returned to their place of purchase, no product can be returned to us without prior permission. This guarantee does not effect your statutory rights.
SPECIFICATIONS
| Model number | CTJ3000GB |
| Length (not including handle): | 572 mm |
| Width | 328 mm |
| Height | 175 mm |
| Height of saddle from floor (minimum) | 130 mm |
| Height of saddle from floor (maximum) | 465 mm |
| Lift range under rated load | 315 – 465 mm |
| Weight | 27.4 kg |
| Rated Load | 3 tonne |
SAFETY PRECAUTIONS
WARNING: THE OPERATOR MUST FOLLOW ALL INSTRUCTIONS WITHIN THIS INSTRUCTION BOOKLET
- This jack is for lifting only, do not move a load using the jack as a dolly.
- Do not use to lift people.
- Always inspect the jack before use. Make sure that all parts are in good condition and operating smoothly, and that no cracks or distortion is apparent. If in doubt do not use. Have the damaged parts replaced or consult your C1LARKE dealer.
- Make sure that the jack is on a firm, solid, level base, and that there is no possibility of it slipping when under load.
- Make sure the load is taken by the full saddle and that the point of lift on the load, is strong enough to support the load adequately.
- Do not work under the raised vehicle until it is supported by suitable means e. g. axle stands, NEVER rely on the jack to support the vehicle by itself.
- Never push a load off the jack.
- Ensure that all personnel are well clear of a load being raised or lowered.
- Do not try to lift more than the rated load for the jack, (See “Specifications” on page 2.)
- Do not use the jack if an oil leak is apparent. Consult your Clarke dealer.
- Consult the vehicle handbook to determine the correct lifting points.
- It is necessary that the operator watch the jack and the load during operation.
- Check the condition of the labels regularly and replace as required.
- The jack must be maintained and repaired in accordance with the these instructions and such work be carried out by qualified persons.
- Do not make any adjustments to any valves on the jack.
UNPACKING AND ASSEMBLY
- Remove the retaining clip by pressing the handle yoke down- wards and pulling the clip away.
- Loosen the thumb screw in the yoke until the lower handle can be inserted fully into the handle socket.
- The lower handle has a groove which should engage with the thumb screw once it is re- tightened.
- The socket in the handle will engage with the jack control valve at the base of the yoke.
- Tighten the thumb screw to secure the lower handle to the jack.
- Add the upper handle by sliding it onto the lower handle until the spring loaded plunger clips into place.
- Place the protective rubber pad onto the saddle.



PURGING AIR FROM THE SYSTEM
If air bubbles become trapped inside the hydraulic system during shipping or transport, the efficiency of the jack will be reduced and the jack will feel spongy.

- Turn the control handle counter- clockwise, relieving the pressure inside the jack.
- Pump the handle several times to purge air from the system, while pressing down on the filler plug when the air is expelled.
- Turn the control handle clockwise and test the jack. If efficiency is still poor, check the oil level as described under Maintenance.
OPERATION
Before use, inspect the jack for oil leaks or any other sign of damage. Should any be apparent, have the jack repaired by a qualified technician.
WARNING: NEVER WORK ON THE VEHICLE WHEN SUPPORTED ONLY BY A JACK. THIS IS HIGHLY DANGEROUS. THE VEHICLE MUST BE SUPPORTED ON AXLE STANDS OR SUITABLE SUPPORTS, BENEATH THE CORRECT JACKING/SUPPORT POINTS.
- Ensure the vehicle to be raised is stable and on firm level ground with the wheels chocked.
- Position the jack so that the saddle is directly beneath the lifting point.
- Consult the vehicle handbook to determine suitable lifting points
- Twist the handle clockwise to close the control valve.
- Pump the handle to raise the saddle until it reaches the jacking point.
Make sure that the saddle is in full contact with the lifting point and that there is nothing that will prevent a clean lift. Keep all personnel at a safe distance before lifting the vehicle. - Position axle stands directly beneath suitable supporting points on the vehicle and very gently twist the handle anti-clockwise.
- This will open the control valve to lower the load onto the stands.
- Make sure that the axle stands are in good condition and that they can hold the load.
- Ensure that the axle stands cannot move when supporting the load and are on firm, level ground. Use suitable wheel chocks to stop the vehicle from moving.
- To stop it lowering at any point, turn the handle clockwise again. Always avoid a rapid descent by turning the handle slowly.
- Carefully lower the vehicle onto the axle stand, checking constantly, preferably with an assistant, that the vehicles jacking point rests snugly and cleanly on the axle stand, and that the stand is stable before the weight is taken.
NOTE: Ensure this operation is carried out under complete control. DO NOT allow the load to drop suddenly as this could damage internal parts.
MAINTENANCE
GENERAL CARE
- When the jack is not in use, keep the ram fully lowered and the release valve closed.
- Keep the jack clean and occasionally apply lubricating oil to all pivot points, front wheels & rear castors.
- Periodically check the oil level as follows.
- Check the pump piston and piston rod periodically for signs of corrosion. Clean exposed areas with a clean oiled cloth.
- In the event of damage or broken components, replacements are available from Clarke Parts & Service.
CHECKING /MAINTAINING THE OIL LEVEL
If the jack has been stored for long periods, check for oil leaks before use. If necessary, check the oil level as follows:

- Ensure the jack is fully lowered by turning the control valve fully anti-clockwise.
- Remove the filler plug.
- The oil should be almost level with the bottom of the oil filler hole.
- Oil can be topped up using Clarke Hydraulic Oil (p/n 3050830 1 litre).
- Purge any air from the system and replace the filler plug.
- Dispose of old/spilled oil appropriately and wipe up any spillage.
STORAGE
Store in a dry place with the ram fully lowered. If stored for long periods,inspect at least once a year, clean and re-oil. For servicing, contact your CLARKE dealer, or CLARKE International Service Department.
ENVIRONMENTAL PROTECTION
One of the most damaging sources of environmental pollution is oil products. Never throw away used hydraulic oil with domestic refuse or flush it down a sink or drain. Collect any hydraulic oil in a leak proof container and take it to your local waste disposal site. If disposing of this product or any damaged components, do not dispose of with general waste. This product contains valuable raw materials and should be taken to your local civic amenity site for recycling of metal products.
TROUBLESHOOTING
| PROBLEM | CAUSE | SOLUTION |
| Jack will not lift the rated load | Low oil level | See ‘Checking the Oil Level‘on page 7 |
| Release valve not closed | Turn the release knob fully clockwise | |
| Air in the hydraulic system | Purge the system as on page 6 | |
| Jack lower when under load | Release valve not fully closed | Turn the release knob fully clockwise |
| Air in the hydraulic system | Purge the system as on page 6 | |
| Pump feels Spongy | Low oil level | See ‘Checking the Oil Level‘on page 7 |
| Air in the hydraulic system | Purge the system as on page 6 | |
| Handle raises or flies back under load | Air in the hydraulic system | Purge the system as on page 6 |
| Jack will not lift full height | Low oil level | See ‘Checking the Oil Level‘on page 7 |
| Air in the hydraulic system | Purge the system as on page 6 | |
| Jack will not lower completely | Return spring may be faulty | Return to your Clarke dealer for repair |
If any of these remedies fail to restore your jack, consult your Clarke dealer.
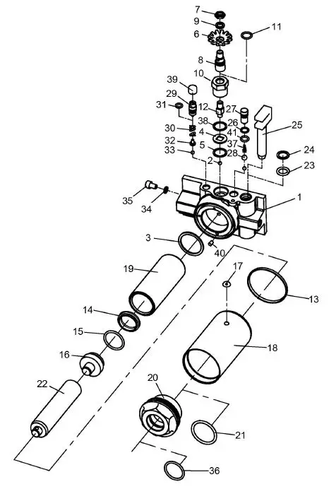
COMPONENT PARTS – RAM ASSEMBLY

| No | Description |
| 1 | Base Casting |
| 2 | Steel Ball |
| 3 | O-Ring |
| 4 | Actuating Washer |
| 5 | Aluminium Washer |
| 6 | Gear |
| 7 | Locknut |
| 8 | Valve connect |
| 9 | Washer |
| 10 | Valve Capping Nut |
| 11 | O-Ring |
| 12 | Valve Release Spindle |
| 13 | End Ring |
| 14 | O-Ring |
| 15 | Bowl Washer |
| 16 | Piston |
| 17 | Oil Filler Plug |
| 18 | Reservoir |
| 19 | Cylinder |
| 20 | Top cap |
| 21 | O-Ring |
| No | Description |
| 22 | Piston Rod |
| 23 | O-Ring |
| 24 | Circlip |
| 25 | Plunger |
| 26 | Circlip |
| 27 | Oil Filler Plug |
| 28 | Circlip |
| 29 | Release Valve Nut |
| 30 | Safety Valve Spring |
| 31 | O-Ring |
| 32 | Spring Base |
| 33 | Steel Ball |
| 34 | O- Ring |
| 35 | Nut |
| 36 | Circlip |
| 37 | Taper Spring |
| 38 | Steel Washer |
| 39 | Safety Valve Cap |
| 40 | Oil Filter Screen |
| 41 | O-Ring |
COMPONENT PARTS – GENERAL ASSEMBLY

| No | Description |
| 1 | Saddle Pin |
| 2 | Saddle |
| 3 | Lifting Arm Assembly |
| 4 | C-Clip 16mm |
| 5 | Connecting Rod Pintle |
| 6 | Frame Assembly |
| 7 | Front Wheel |
| 8 | C-Clip 18mm |
| 9 | Washer M14 |
| 10 | Spring Washer M14 |
| 11 | Nut M14 |
| 12 | C-Clip 25mm |
| 13 | Nut M12 |
| 14 | Spring Washer M12 |
| 15 | Rear Castor Assembly |
| 16 | Socket Head Screw M12 x 25 |
| 17 | Washer M18 |
| 18 | Spring Washer M18 |
| 19 | Shoulder Bolt M18x31mm |
| 20 | Handle Socket |
| 21 | Handle Socket Screw |
| 22 | Handle Socket Pin |
| No | Description |
| 23 | Shaft for Spur Gear |
| 24 | Cotter Pin 2 x 16mm |
| 25 | Spur Gear |
| 26 | Spring Washer |
| 27 | Nut M10 |
| 28 | Washer M8 |
| 29 | Handle Assembly |
| 30 | Handle Lock Pin |
| 31 | Handle Cover |
| 32 | Ram Assembly |
| 33 | Helical Gear |
| 34 | Oil Plug |
| 35 | Coupling Connector |
| 36 | Cotter Pin 4x45mm |
| 37 | Return Spring |
| 38 | Supporting Shaft |
| 39 | C-Clip 25mm |
| 40 | Shoulder Bolt M18x58.5mm |
| 41 | Tortion Spring |
| 42 | Rear Shaft |
| 43 | Seal Kit TZ830025-GS.MF |
DECLARATION OF CONFORMITY – UKCA

NOTES
A SELECTION FROM THE VAST RANGE OF
QUALITY PRODUCTS AIR COMPRESSORS
From DIV to industrial, Plus air tools, spray guns and accessories.
GENERATORS
Prime duty or emergency standby for business, home and leisure.
POWER WASHERS
Hot and cold, electric and engine driven – we have what you need
WELDERS
Mig, Arc, Tig and Spot. From DIV to auto/industrial.
METALWORKING
Drills, grinders and saws for DIV and professional use.
WOODWORKING
Saws, sanders, lathes, mortisers and dust extraction.
HYDRAULICS
Cranes, body repair kits, transmission jacks for all types of workshop use.
WATER PUMPS
Submersible, electric and engine driven for DIV, agriculture and industry.
POWER TOOLS
Angle grinders, cordless drill sets, saws and sanders.
STARTERS/CHARGERS
All sizes for car and commercial use



















