Clarke CTJ2500QLGB TONNE 2.5 TROLLEY JACK 
INTRODUCTION
Thank you for purchasing this CLARKE Trolley Jack. Before attempting to use this product, please read this manual thoroughly and follow the instructions carefully. In doing so you will ensure the safety of yourself and that of others around you, and you can look forward to your purchase giving you long and satisfactory service. Users must read these instructions before using this product. Keep this document in a safe place for future reference.
SPECIFICATIONS
| Model number | CTJ2500QLGB |
| Part number | 7621803 |
| Rated Load | 2.5 tonne (2500kg) |
| Length (not including handle): | 660 mm |
| Width | 290 mm |
| Height | 220 mm |
| Height of saddle from floor (minimum) | 80 mm |
| Height of saddle from floor (maximum) | 510 mm |
| Lifting height with rated load | 285 to 465 mm |
| Saddle cup diameter | 108 mm |
| Distance raised per stroke | 70 mm |
| Quick lift | Yes |
| Weight | 30.5 kg |
| Pump oil capacity | 210 ml |
SAFETY PRECAUTIONS
WARNING: THE OPERATOR MUST FOLLOW ALL INSTRUCTIONS WITHIN THIS INSTRUCTION BOOKLET.
- Only trained persons should operate this lifting equipment.
- ALWAYS ensure that sufficient light is provided and that the work area is kept clear of unrelated items.
- ALWAYS inspect the jack before use. Make sure that all parts are in good condition and operating smoothly and that no cracks or distortion are apparent. If in doubt do not use. Have the damaged parts replaced or consult your CLARKE dealer.
- The jack must be maintained and repaired by suitably qualified persons.
- DO NOT make any modifications to this jack or adjust any valves.
- DO NOT use the jack if an oil leak is apparent. Consult your CLARKE dealer.
- DO NOT try to lift more then the rated load for the jack.
- This jack is for lifting only; do not move a load using the jack as a dolly.
- DO NOT use to lift people and ensure that no-one is in the vehicle during lifting.
- Make sure that the jack is on a firm level base and there is no possibility of it slipping when under load.
- Only use the jack on solid ground, preferably concrete. Avoid tarmac as the jack could sink in.
- Make sure the load is taken by the full saddle and that the point of lift on the load is strong enough to support the load adequately.
- DO NOT work under the raised vehicle until it is supported by suitable means e.g. axle stands. NEVER rely on the jack to support the vehicle by itself.
- NEVER push a load off the jack.
- Ensure that all personnel are well clear of a load being raised or lowered..
- Consult the vehicle handbook to determine the correct lifting points.
- It is necessary that the operator watch both the jack and the load during operation.
- Check the condition of the labels regularly and replace if required.
UNPACKING AND ASSEMBLY
- Loosen the thumbscrew in the yoke until the lower handle can be inserted fully into the handle socket.
- The handle has a groove that should engage with the thumb screw once it is re-tightened.
- The socket in the handle will engage with the jack control valve at the base of the yoke.

- Remove the travel block by pressing the handle yoke downwards and pulling the block away.

- Tighten the thumb screw to secure the lower handle to the jack.
- Add the upper handle by sliding it onto the lower handle until the spring-loaded pin clips in place.

PURGING AIR FROM THE SYSTEM
If air bubbles become trapped inside the hydraulic system during shipping or transport, the efficiency of the jack will be reduced and the jack will feel spongy.
- Use the handle to turn the control valve anti-clockwise, relieving the pressure inside the jack.

- Pump the handle several times to purge air from the system.
- Turn the control valve clockwise and test the jack. If efficiency is still low, check the oil level as described under Maintenance on page 6.
- The jack is now ready to use.
OPERATION
This jack incorporates a twin-piston pump with a ‘quick lift’ facility. This provides the user with a rapid raising operation for the unloaded jack. When the jack reaches the vehicle to be raised, its lift per stroke reduces, to provide a gradual and controllable lifting operation. Before use, inspect the jack for oil leaks or any other defect. Should any be apparent, have the jack repaired by a qualified technician.
WARNING: NEVER WORK ON THE VEHICLE WHEN SUPPORTED ONLY BY A JACK. THIS IS HIGHLY DANGEROUS. THE VEHICLE MUST BE SUPPORTED ON AXLE STANDS OR SUITABLE SUPPORTS, BENEATH THE CORRECT JACKING/ SUPPORT POINTS.
- Ensure the vehicle to be raised is stable and on firm level ground with the wheels chocked. Ensure the vehicle’s handbrake is on, the engine is switched off and the transmission is in gear or park if automatic.
- Ensure the vehicle will not come into contact with adjacent objects when tilted by the jacking operation.
- Position the jack so that the saddle is directly beneath the lifting point.
- Consult the vehicle handbook to determine suitable lifting points.
- Ensure the jack wheels are free to move and there are no obstructions.
- Twist the handle clockwise to close the control valve.
- Pump the handle to raise the saddle until it reaches the jacking point, or alternatively, pump the pedal to raise the saddle.
IMPORTANT: The foot pedal is used to quickly bring the saddle to the lifting point, NOT to raise a load.
- Make sure that the saddle is in full contact with the lifting point and that there is nothing that will prevent a clean lift. Keep all personnel at a safe distance before lifting the vehicle.
- Position suitably rated axle stands directly beneath suitable supporting points on the vehicle and very gently twist the handle anti-clockwise to lower the vehicle.
- Make sure that the axle stands are in good condition and that they can support the weight of the vehicle.
- Ensure that the axle stands cannot move when supporting the load and are on firm, level ground. Use suitable wheel chocks to stop the vehicle from moving.
- The jack may move slightly during operation. It is important, therefore, that the floor is clean and completely free from debris.
- Do not lift the vehicle if there is any chance of spillage of fuel, battery acid or other liquids.
- Carefully lower the vehicle onto the axle stand(s), checking constantly that the vehicle rests snugly and cleanly on the axle stand and that the stand is stable before the weight is taken.
NOTE: Ensure this is carried out under complete control. DO NOT allow the load to drop suddenly as this impose undue strain on the jack internal parts and damage the vehicle.
- Always avoid a rapid descent by turning the handle slowly.
- Completely remove the jack from the vehicle.
SUITABLE AXLE STANDS FOR USE WITH THIS JACK
- CAX2TF 2 Tonne Folding Axle Stand (part no 7600015)
- CAX2TA 2 Tonne Aluminium Axle Stand (part no 7600010)
- CAX3TP 3 Tonne Axle Stand (part no 7600065)
- CAX3TBC 3 Tonne Axle Stand (part no 7600060)
- CAX3TA 1.5 Tonne Aluminium Axle Stand (part no 7600030)
- CAX6TP 6 Tonne Axle Stand (part no 7600076)
- CAX6TBC 6 Tonne Axle Stand (part no 7600070)
- CAX10TP 10 Tonne Axle Stand (part no 7600090) – sold singly
MAINTENANCE
CHECKING/TOPPING UP THE OIL LEVEL
If the jack has been stored for long periods, check for oil leaks before use. If necessary, check the oil level as follows:
- Ensure the jack is fully lowered by turning the control valve fully anti-clockwise.
- Remove the four retaining screws and lift off the cover plate.
- Remove the filler plug.
- The oil should be almost level with the bottom of the oil filler hole.
- Oil can be topped up using CLARKE Hydraulic Oil (p/n 3050830 1 liter). Never use brake fluid or instead of hydraulic oil.
- Take care not to move the handle while filling with oil.

- Replace the filler plug and cover plate and purge any air from the system (see page 4).
- Dispose of old/spilled oil appropriately and wipe up any spillage.
GENERAL CARE
- Periodically lubricate the hinges, front wheels & rear castors with light oil.
- Store in a dry location.
- In the event of damage or broken components, replacements are available from CLARKE Parts & Service.
ENVIRONMENTAL PROTECTION
One of the most damaging sources of environmental pollution is oil products. Never throw away used hydraulic oil with domestic refuse or flush it down a sink or drain. Collect any hydraulic oil in a leak-proof container and take it to your local waste disposal site. If disposing of this product or any damaged components, do not dispose of it with general waste. This product contains valuable raw materials and should be taken to your local civic amenity site for the recycling of metal products.
GUARANTEE
This product is guaranteed against faulty manufacture for a period of 12 months from the date of purchase. Please keep your receipt which will be required as proof of purchase. This guarantee is invalid if the product is found to have been abused or tampered with in any way, or not used for the purpose for which it was intended. Faulty goods should be returned to their place of purchase, no product can be returned to us without prior permission. This guarantee does not affect your statutory rights.
TROUBLESHOOTING
| PROBLEM | CAUSE | SOLUTION |
| Jack will not lift the 2500 KG rated load | Low oil level.
Release valve is not closed. Air in the hydraulic system. Damage to moving parts. | Check for leakage and top up if required as on page 7. Turn the release knob fully clockwise Purge the system as on page 4. Replace or return to your dealer for repair. |
| Jack lifts but lowers when under load | The release valve is not fully closed. Air in hydraulic system Dirt on valve seats or faulty seals. | Turn the release valve fully clockwise. Purge the system as on page 4. Replace or return to your dealer for repair. |
| Pump feels Spongy | Low oil level.
Air in the hydraulic system. | Check for leakage and top up if required as on page 7. Purge the system as on page 4. |
| Handle raises or flies back under load | Air in the hydraulic system. | Purge the system as on page 4. |
| Jack will not lift full height | Low oil level.
Air in the hydraulic system | Check for leakage and top up if required as on page 7. Purge the system as on page 4. |
| Jack will not lower completely | Return spring damaged Piston or frame bent. Release valve partly open. Air in system. | Replace or return to your Clarke dealer for repair Check and fully open the release valve. Open release valve and pump handle a few times. Close valve and re-try. |
| Jack will not lower at all. | The release valve is still closed. | Check and fully open the release valve. |
DECLARATION OF CONFORMITY

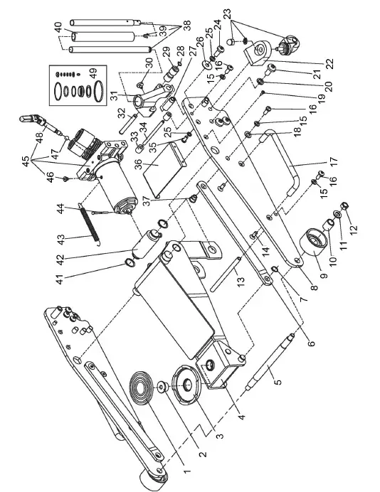
COMPONENT PARTS – GENERAL ASSEMBLY
| No | Description |
| 1 | Saddle pad |
| 2 | Saddle pin |
| 3 | Saddle |
| 4 | Lifting arm assembly |
| 5 | Front wheel axle |
| 6 | Connecting bar |
| 7 | Circlip 16mm |
| 8 | Side frame |
| 9 | Front wheel |
| 10 | Sleeve for front wheel |
| 11 | Washer M12 |
| 12 | Nut M12 |
| 13 | Position rod |
| 14 | Flat head socket screw M8x20 |
| 15 | Spring washer M8 |
| 16 | Pan head socket screw M8x20 |
| 17 | Carrying handle |
| 18 | Washer M8 |
| 19 | Self tapping screw M4x16 |
| 20 | Spring washer M12 |
| 21 | Cap head socket screw M12 x 25 |
| 22 | Castor base |
| 23 | Rear castor assembly |
| 24 | Cap head socket screw M10 x 25 |
| 25 | Spring washer M10 |
| No | Description |
| 26 | Washer M10 |
| 27 | Handle socket shaft |
| 28 | Circlip 12mm |
| 29 | Roller |
| 30 | Socket screw M10x19 |
| 31 | Handle socket |
| 32 | Pin for roller |
| 33 | Nylon sleeve |
| 34 | Limited rod |
| 35 | Cap head socket screw M10x20 |
| 36 | Cover plate |
| 37 | Connecting rod bush |
| 38 | Handle assembly |
| 39 | Handle lock pin |
| 40 | Foam protective pad |
| 41 | Circlip 25mm |
| 42 | Coupling connector |
| 43 | Return spring |
| 44 | Cotter pin 4dia x 4.5 |
| 45 | Ram assembly |
| 46 | Oil plug |
| 47 | Steel ball 6mm |
| 48 | Universal joint assembly |
| 49 | Seal kit |

PARTS & SERVICE:
- 0208 988 7400
Parts Enquiries
Servicing & Technical Enquiries
- [email protected]
- SALES: UK 01992 565333
- Export: 00 44 (0)1992 565335
Clarke NTERNATIONAL omnal
























