MEEC TOOLS 024393 Garage Jack for Low Body

Jula AB reserves the right to make changes to the product. Jula AB claims copyright on this documentation. It is not allowed to modify or alter this documentation in any way and the manual shall be printed and used as it is in relation to the product. For the latest version of operating instructions, refer to the Jula website.
SAFETY INSTRUCTIONS
- Read these instructions carefully before use. Failure to follow all instructions and safety instructions can result in risk of bodily injury and/or property damage.
- Only use the jacking points specified by the vehicle manufacturer. Position the jack as instructed.
- Place axle stands or other safety stands beneath the load and carefully lower the load until it is resting fully on the stands. Never let the load rest only on the jack.
- Never overload the jack – risk of bodily injury and/or property damage.
- The jack is intended to be used on hard, level surfaces that can support the weight being lifted. If the jack is used on any other surface, it may become unstable and the load may fall.
- The load must be properly centred on the jack saddle before raising the load. Never attempt to raise the load if it is not properly centred or if the jack is not standing horizontally – risk of bodily injury and/or property damage if the load slips or the jack tips over.
- Keep hands and feet away from the linkage and moving parts of the jack, and from the ground contact area when lowering the vehicle!
- The jack is designed and intended only for stationary, partial raising of vehicles. Never attempt to move the vehicle when it is resting on the jack.
SYMBOLS
![]() | Read the instructions. |
![]()
| Approved in accordance with the relevant directives. |
TECHNICAL DATA
- Maximum load weight 1.5 tonnes
- Lifting range 90-358 mm
- Product weight 14.3 kg
- Operating temperature 4 to 41°C
DESCRIPTION
Lightweight jack specially designed to lift cars with a low body. Double pistons for quicker lifting and wheels to move around. Made of aluminium and steel. The product is fitted with an overload valve to prevent overloading.
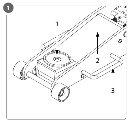
Parts
- Jack saddle
- Lift arm
- Handle
FIG. 1
- Handle
- Screw
- Lifting pump (piston pump)
- Back wheel
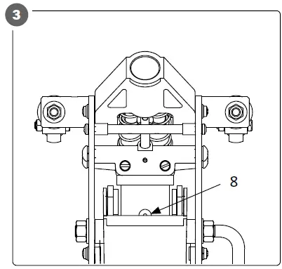
FIG. 2
- Oil fill plug
FIG. 3
ASSEMBLY
HANDLE ASSEMBLY
- Before assembly, remove the transit lock from the handle socket. The transit lock holds the handle socket securely during transportation and is not a part of the jack.
FIG. 4
- Press down the spring lock on handle piece (a) and push handle piece (a) into handle piece (b). Be careful when doing this – risk of trapping/crushing fingers.
FIG. 5
- Fully unscrew the screw in the handle socket and insert the assembled handle into the handle socket.
FIG. 6
- Line up the square hole on the bottom end of the handle with the square spigot inside the handle socket.
- Secure the handle in place inside the handle socket by tightening the screw in the handle socket.
OPERATION
RAISING A LOAD
- Close the release valve by turning the handle clockwise as far as it will go.
- Before lifting, make sure the handbrake is fully applied, the vehicle is in gear and the wheels are chocked to prevent any movement.
- Place the jack at a suitable lifting point under the vehicle (see vehicle manual). Ensure the jack saddle is located directly under the chosen jacking point so that the jacking point sits securely in the centre of the saddle.
- Pump up the jack until the saddle is touching the lifting point. Before raising the load, double check that the saddle is centred, correctly positioned and has full contact with the jacking point.
- Continue to raise the load to the required height by pumping the handle. Place axle stands or other safety stands beneath the load and carefully lower the load until it is resting fully on the stands. Never let the load rest only on the jack.
LOWERING A LOAD
- Do not allow any persons, especially children, or pets under or near the load. Open the release valve cautiously by slowly turning the handle anticlockwise.
HOW IT WORKS
With release valve closed - When the handle is lifted up, the piston draws oil from the reservoir tank into the pump cylinder. Hydraulic pressure holds the valve closed, which keeps the oil in the pump cylinder.
- When the handle is pressed down, oil is released into the lift cylinder, which forces the piston out.
This raises the saddle - When the piston reaches maximum extension, the overflow valve passes the oil back into the reservoir to prevent an over-extended piston stroke and possible damage to the jack.
- When the release valve is opened, the oil flows back into the reservoir. This releases the hydraulic pressure on the piston, so that the saddle is lowered.
MAINTENANCE
FILLING UP WITH OIL
- Stand the jack on a horizontal surface and lower it fully. Remove the oil fill plug.
- Fill with oil until it is just under the lower edge of the oil fill hole. Replace the oil fill plug.
- Bleed the hydraulic system according to the instructions below.
CHANGING THE OIL
- Open the release valve all the way by turning the handle anticlockwise as far as it will go.
- Turn the jack upside down on a tray and allow the oil to drain out of the oil fill hole.
- Fill with new oil through the oil fill hole. Cleanliness is important – do not allow any dirt or foreign matter to get into the oil through the oil fill hole. Fill with oil until it is just under the lower edge of the oil fill hole. Replace the oil fill plug.
- Bleed the hydraulic system according to the instructions below.
LUBRICATION
- Lubricate all moving parts with thin oil or a suitable spray lubricant when necessary.
- For light duty and infrequent use, lubricate every 6 months.
- For heavy duty and frequent/daily use, lubricate every month.
CORROSION PREVENTION
- Check the lift and pump pistons on the cylinder unit every two months (more frequently if used in demanding conditions) for signs of rust or corrosion. Raise the saddle as high as it goes and inspect under and behind the lift arm. Remove any rust and spray with WD-40 (or equivalent) or apply a light coat of oil to prevent rusting.
- When putting the jack into storage, ensure the saddle and pump piston are in their lowest position.
Only use high grade hydraulic oil. Do not use brake fluid, alcohol, glycerin, detergent, motor oil or dirty oil. Use of a non-recommended hydraulic fluid can cause damage to the jack.
BLEEDING
Air in the hydraulic system can impair performance.
If air has entered the hydraulic system, it must be removed as instructed below.
- Open the release valve all the way by turning the handle anticlockwise as far as it will go.
- Pump the handle rapidly several times.
- Close the release valve by turning the handle clockwise.
- Pump the handle until the lift arm reaches maximum height. Pump a few more times to drive out any air.
- Open the release valve all the way by turning the handle anticlockwise as far as it will go, to lower the saddle to its lowest position. Press the saddle down if necessary.
- Turn the relief valve clockwise to closed position and function test the jack.
Repeat the above steps if necessary to bleed it more.
TROUBLESHOOTING
| Does not lift | Does not hold load (load sinks) | Does not lower | Poor lift performance | Action |
| X | The release valve is not fully closed. Turn the handle clockwise. | |||
| X | X | Air in the hydraulic system. Bleed the hydraulic system. | ||
| X | X | X | Oil level low. Fill up with oil. | |
| X | Too much oil in the oil reservoir. Drain excess oil. Lubricate moving parts. | |||
| X | X | X | Faulty cylinder unit. Replace cylinder unit. |
EU DECLARATION OF CONFORMITY
Item number 024393
This declaration of conformity is issued under the sole responsibility of the manufacturer.
GARAGE JACK 1.5 T, 90-360 mm
Conforms to the following directives, regulations and standards:
| Directive/Regulation | Harmonised standard |
| MD 2006/42/EC | EN 1494:2000+A1 |
This product was CE marked in year:
attias Lif BUSINESS AREA MANAGER (Signatory for Jula and authorised to compile the technical documentation.



























