
Item no. 326036
Bike Trailer

BICYCLE TRAILER
OPERATING INSTRUCTIONS
Important! Read the user instructions carefully before use. Save them for future reference, (Translation of the original instructions).
Jula reserves the right to make changes.
For the latest version of operating instructions, see www.julacom
SAFETY INSTRUCTIONS
Read the operating instructions carefully before use.
Save them for future reference.
- Children must not be allowed to ride in the trailer.
- Make sure the trailer is properly connected to the bicycle before riding away.
- Make sure the tires are always properly pumped up.
- When cycling in poor light or in the dark, use lights on the trailer.
- The bicycle trailer must not be modified.
- It is important to be aware that cycling with a trailer is different to cycling without one.
TECHNICAL DATA
| Max load | 80 kg |
| Trailer dimensions | 1405 x 673 x 713 mm |
| Plastic tub dimensions | 785 x 485 x 713 mm |
| Weight | 12 kg |
DESCRIPTION

- Handle
- Drawbar
- Plastic tub
- Wheel
- Tow coupling
ASSEMBLY


Fit the wheels on the frame (fig. A and B). Make sure the wheels are securely tightened.- Fit the reflectors on the trailer (fig. C). The orange reflectors must be put on the sides of the trailer and the red ones on the back.
- Fit the reflectors on the wheels.
- Fit the drawbar to the frame (fig. D). Secure it in place with the bolts, washers, and nuts. Make sure the bolts are securely tightened.
- Put the plastic tub in the trailer (fig. E).

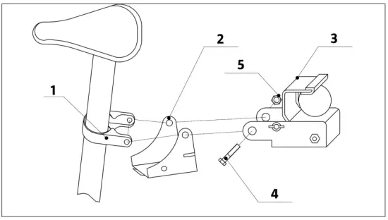
- Fit the fastener (1) on the saddle post (see above).
- Align the holes in the support (2) and coupling (3) to the holes in the fastener (1). Fasten the parts with the bolt (4) and nut (5)
- Pull the coupling release lever backward and fasten the drawbar in the coupling.
- Make sure the drawbar is correctly positioned in the coupling.
JULA AB, BOX 363, SE-532 24 SKARA
2021-12-13
© Julia AB
Fit the wheels on the frame (fig. A and B). Make sure the wheels are securely tightened.

















