Yale SYGAW2DP Guardian Aluminium Arctic White Instruction

Guardian Securistay
- Safer window ventilation
- Suitable for aluminium
- 2 x Guardian Securistay
- 1 x Release tool
- 1 x Marking template
- 2 x Screw pack
- 4 x Packers and adaptors
Tools required
- Drill
- 3.2mm drill bit
- Phillips screwdriver
- Tape measure
- Marker pen
- Centre punch
- Safety goggles
SPECIFICATION
- Suitable for awning
- Provides child safety
- Deters unlawful entry
- Easy install
- Instructions included
Features
- Fully releasable and self re-engaging
- Does not protrude into blinds or curtains
- Safer window control in windy conditions
Guardian Securistay
For Safer Window Ventilation
Application: Allows safer ventilation when house is occupied.
Operation: Restricts window opening. Arm can be disengaged (only when window is closed) to allow wider window opening. When installed correctly, arm re-engages automatically when window is closed.
Components

Fixing Instructions
Determine window offset. (Distance between frame and sash) Refer to packer and screw selection chart overleaf to determine a flush fix, standard or side fix installation. Select appropriate screws and packers.
Determine Guardian install height. Measure window height and find appropriate install height using chart below. Mark height on window.

For side fix applications only Attach side fix adapter to sash
- Align the top edge of the adaptor with the install height on the window
- Mark and centre punch holes Hole pitch 25mm, 4mm centres from front sash edge
- Drill 2 x 3.2mm holes
- Attach adaptor using 2 x 21mm screws.

Left hand installation shown for all steps
Drilling Guardian hole positions
- Align top of template with install height mark
- Mark and centre punch holes in frame and sash (or side fix adaptor in side fix applications)
- Drill 2 x 3.2mm frame holes
- Drill 2 x 3.2mm sash holes

Template can be used for both left and right sides of windows.
Attach hook to sash.
- See packer and screw selection chart
- Attach hook to sash using appropriate screws and packers

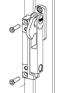
Attach base to frame.
- See packer and screw selection chart
- Hang arm over hook as shown
- Attach base to frame using appropriate screws

Clip cover on to base.
- Cycle the window open and shut to check operation
- Open the window to maximum restricted position
- Line up the cover and base as shown and clip on the cover assembly. Push cover firmly to clip in place.

In situations where the back of the restrictor is visible, press the side cover on to the cover assembly.
Releasing Restriction

With the window fully closed, insert the release tool into the slot at the bottom of the Guardian Securistay and push firmly until the arm clips up in place.
- The window can now be opened un-restricted. Closing the window automatically
- re-engages the Guardian Securistay.
Removing Cover
VIEW FROM OUTSIDE
Care must be taken when removing the cover
- Release the restriction as above and fully open window to allow access to back of Guardian.
- Use a small flathead screwdriver or similar tool to release the top plastic cover clip (see image) Gently remove the cover.
Packer and Screw Selection Chart
- The optimum window off-set for Guardian Securistay is 6mm.
- Use the enclosed packers to achieve the optimum 6mm window off-set.

ASSA ABLOY New Zealand 6 Armstrong Road, Albany, Auckland 0632, New Zealand Quality, ISO 9001 Environmental, ISO 14001 For customer feedback: [email protected] yalehome.com/nz
























