Uolfin 5069548 Finn 8-Light Matte Black and Brass Gold

Item Number: 5069548
WARNING (To reduce the risk of fire, electric shock, or personal injury):
- We suggest installation by a licensed electrician.
- Please read the instruction carefully and save it as you may need it at a later time.
- Before you start, NEVER attempt any work without shutting off the electricity until the work is done.
A) Go to the main fuse, or circuit breaker, box in your home.
Place the main power switch in the off position.
B) Place the wall switch in the off position. - Mounting surface should be clean, dry, flat, strong enough and 1/4larger than the canopy on all sides. Any gaps between the mounting surface and canopy exceeding 3/16 should be corrected as required.
- Make sure that the ceiling or wall can stand the weight of the lamp before installation.
- Make sure the voltage you are using is 120V. The maximum wattage is 40W per bulb.
- Keep the lamp away from acidic and alkaline substances in case of damaging the surface of the lamp.
- When replacing bulbs, you should turn off or unplug the lamp and you must wait until it is cool as bulbs get hot quickly.
- The safety instructions appearing in this manual are not meant to cover all possible conditions that may occur. It must be understood that common sense, caution and care must be used with any electrical products.
TOOLS REQUIRED (NOT INCLUDED)
Before starting assembly and installation please prepare the needed tools as below picture

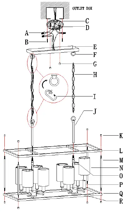
PARTS TYPE & QTY INCLUDING

- (C) Round mounting plate (1)
- (D) Green ground screw (1)
- (E) Canopy (1)
- (F) Loop (4)
- (G) Knob nut (2)
- (H) Chain (2)
- (I) Quick link (4)
- (J) Tube (2)
- (K) Nut (8)
- (L) Upper frame (1)
- (M) Threaded pipe (4)
- (N) Cloth lampshade (8)
- (O) Stem (2)
- (P) Socket (8)
- (Q) Lower frame (1)
- (R) Sockets assembly (2)
ACCESSORIES & QTY ENCLOSED:
- (A) Plastic wire connector (3)
- (B) Mounting screw (2)
ASSEMBLY & INSTALLATION INSTRUCTIONS
- Carefully remove the fixture from the carton and check that all parts and accessories are included as shown in the above illustration.
- Make pre-installation

- Step A1: Pass fixture wires through upper frame (L) and tubes (J), then screw tubes (J) onto stems (O) to secure them.
- Step A2: Thread threaded pipes (M) through upper frame (L) and lower frame (Q), then secure them with nuts (K).

- Step B1: By measuring, determine the correct number of links needed for proper hanging height. Usin the chain pliers, disconnect and discard the unwanted part.
- Step B2: Attach quick links (I) to chains (H) and loops (F) on canopy (E) and the top of tubes (J).
- Step B3: Carefully weave the fixture wires through chain (H) in and out of every other link, and then through canopy (E). Gently pull the wires to ensure the wires are not stressed.
- Turn off power
Before you start the installation, NEVER attempt any work without shutting off the electricity until the work is done.- Go to the main fuse, or circuit breaker, box in your home. Place the main power switch in the “OFF” position.
- Place the wall switch in the “OFF” position.
- Make installation

- Step C1: Unscrew knob nuts (G) from mounting plate (C).
- Step C2: Attach mounting plate (C) to the outlet box with mounting screws (B).
- Step C3: If needed, shorten the fixture wires length. At this point, the remaining wire length measured above mounting plate (C) is at least 6″.
- Step C4: Make wire connections
Connect wires as below wires connection shown.
PLEASE NOTE THAT GROUND WIRE IS BARE COPPER WIRE, NEVER CONNECT OTHER WIRES TO GROUND WIRES.
- Step C5: Raise canopy (E) to the ceiling and secure canopy (E) in place by tightening knob nuts (G) onto preassembled screws on mounting plate (C).
NOTE: canopy (E) should be snug against the ceiling with knob nuts (G). If not, remove canopy (E), adjust the threaded length of pre-assembled mounting screws on mounting plate assembly (C) by unscrewing the pre-assembled hex nuts and then screwing the pre-assembled mounting screws in or out of mounting plate (C) until the secure length is achieved. - Step C6:
- Install bulbs (not included) (Please do not exceed the maximum wattage recommended on the socket.)
- Carefully slide two iron wires of cloth lampshades (N) along bulbs, so lampshades (N) hold bulbs properly by iron wires.
- Check everything is already installed properly, then you could turn on the light. Enjoy
ORDERING PARTS
Keep this sheet for future reference in case you need to order replacement parts. All parts for this fixture can be ordered from the place of purchase. Be sure to use exact wording from illustration when ordering parts.
CLEANING
To clean, wipe the fixture with a soft cloth. Do not use abrasive materials such as scouring pads or powders, steel wool or abrasive paper.




















