Uolfin 5069678 5-Light Matte Black and Bell Glass Shape

WARNING (To reduce the risk of fire, electric shock, or injury to persons):
- We suggest installation by a licensed electrician.
- Please read the instruction carefully and save it as you may need it at later time.
- Before you start, NEVER attempt any work without shutting off the electricity until the work is done. A). Go to the main fuse, or circuit breaker, box in your home. Place the main power switch in the “OFF” position. B). Place the wall switch in the “OFF” position.
- Mounting surface should be clean, dry, flat, strong enough and 1/4” larger than the canopy on all side. Any gaps between the mounting surface and canopy exceeding 3/16” should be corrected as required.
- Make sure that the ceiling or wall can stand the weight of the lamp before fixture.
- Make sure the voltage you are using is 120V. The maximum wattage is 40W per bulb.
- Keep the lamp away from acidic and basic objects in case of damaging the surface of the lamp.
- When replacing bulb, you should turn off or unplug the lamp and you must wait until it is cool as bulbs get hot quickly.
- The safety instructions appearing in this manual are not meant to cover all possible conditions that may occur. It must be understood that common sense, caution and care must be used with any electrical products.
IMAGE FOR FINISHED PRODUCT

TOOLS REQUIRED (NOT INCLUDED)

Before doing assembly and installation please prepare the needed tools as below picture
PARTS TYPE & QTY INCLUDING

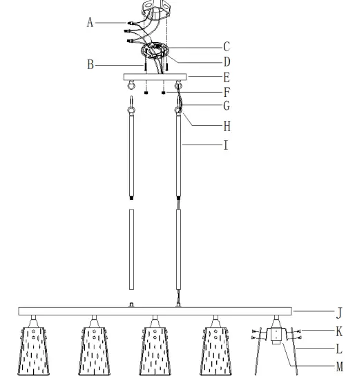
- (C) Mounting plate assembly (1)
- (D) Green ground screw (1)
- (E) Canopy (1)
- (F) Knob nut (2)
- (G) Quick link (2)
- (H) Loop (4)
- (I) Stem
- (J) Iron tube (1)
- (K) Screw (40)
- (L) Glass plate (20)
- (M) Iron lining (5)
ACCESSORIES & QTY ENCLOSED:
- (A) Wire connector (3)
- (B) Mounting screw (2)
- (K) Screw (1) spare parts
ASSEMBLY & INSTALLATION INSTRUCTIONS
- Carefully remove the fixture from the carton and check that all parts and accessories are included as shown in the above illustration.
- Make pre-installation
Step A1: According your desired hanging heigh to choose and use the stems (I),then pass the wires and the ground wire through the stem(I). Twist the stem (I) on the iron tube (J).- Step A2: Attach the quick link (G) to connect the stem (I) and the loop (H) on the the top of stem (I).
- Step A3: Fix the glass plate (L) to the iron lining (M) with screw (K).
- Turn off power
Before you start to make installation, NEVER attempt any work without shutting offthe electricity until the work is done.- Go to the main fuse, or circuit breaker, box in your home. Place the main power switch in the “OFF” position.
- Place the wall switch in the“OFF” position.
- Make installation

- Step B1: Unscrew the knob nut (F) from the mounting plate assembly (C) .
- Step B2: Attach the mounting plate assembly (C) to ceiling with the mounting screws (B) .
- Step B3: If needed, cut off the wires length of the fixture.At this point, the remaining wire length measured from the top mounting plate assembly (C) is at least 6″.
- StepB4: Make wire connections
Connect wires as below wires connecting shown. TAKE NOTE OF THE WIRE COLOR OF THE FIXTURE ,NEVER CONNECT WIRE TO GROUND WIRE
Connect ground wire according to the below chart
Connect wires according to the below chart
- Twist the plastic wire connector until wires are tightly joined together, and wrap each connector with approved electrical tape.Be sure that no wire strands are exposed and then carefully tuck all wires into the outlet box.
- Step B5: Raise canopy (E) to ceil and secure canopy (E) in place by knob nut (F) onto the threaded nipple on mounting plate assembly (C).
- Step B6: Install bulbs (not included) (Please do not exceed the maximum capacity recommended on the socket.)
- . Check anything is already installed properly, then you could turn on the light. Enjoy!
CLEANING.
To clean, wipe fixture with a soft cloth. Do not use abrasive materials such as scouring pads or powders, steel wool or abrasive paper.
ORDERING PARTS.
Keep this sheet for future reference, and in case you need to order replacement parts. All parts for this fixture can be ordered from place of purchase. Be sure to use exact wording from illustration when ordering parts.
+1 850 296 2377 Working hours : Mon – Fri 9:00 a.m. – 16:00 p.m. EST [email protected]

Step A1: According your desired hanging heigh to choose and use the stems (I),then pass the wires and the ground wire through the stem(I). Twist the stem (I) on the iron tube (J).




















