
P4305-084 GK Lightrail 5-Light Monorail Kit
Instruction Manual
P4305-084 GK Lightrail 5-Light Monorail Kit
WARNING! SHUT POWER OFF AT FUSE OR CIRCUIT BREAKER. AVERTISSEMENT! COUPER LE COURANT AU NIVEAU DES FUSIBLES OU DU DISJONCTEUR.
RAIL SYSTEM
Installing your Rail System
READ THESE INSTALLATION INSTRUCTIONS BEFORE YOU BEGIN INSTALLING THIS NEW RAIL SYSTEM. THIS SYSTEM MAY BE DIMMED WITH THE APPROPRIATE C-L (CPL & LED) TYPE WALL DIMMER SWITCH.
- Use a 60W Magnetic Transformer with this system Models: P4305-084/P4305-467 (supplied).
- Make sure all connections are tight and secure.
- Do not install any components of this system to any metal surface.
- For use with models P4305 rail systems only.
Tools needed for Installation: Phillips Screwdriver, Flat Head Screwdriver, Hammer, Wire Cutters, Allen wrench.
Rail System: Use only with electrical fittings identified for use with the P4305 rail systems.
TRACK SYSTEM(to be only used with the electrical fitting identified for use with the P4305 track system)
This track system is to be supplied by a single branch circuit of 120 volts,single phase. Not intended for use with a powersupply cord or convenience receptacle adapter.
This track is only to be used with other electrical fittings identified for use with the track system.
CAUTION: Before you begin inslallini your new rail system; disconnect the power by removing the fuses or turning off the circuit breakers.

A. Package Contents
Unpack your new rail system; you should have the following;
A- Rail track,
B- Transformer,
C- Ceiling standoffs.
D- Fixtures E& PE bag of mounting hardware including spare parts.
Model: P4305

Installing the Transformer
NOTE : The transformer can be installed at any location within 22′ length of the track. For example you can Install the transformer at one end or In the middle of the Choose a location that is most suitable for electrical connections and appearance for the installation of the transformer.
Step 1. Locate transformer (a) and transformer mounting hardware package in box(A) which contains 2pcs screws and 3pcs wire nuts. (Fig.1)
Step 2.Remove and set aside the 3 screws from the transformer to release the back plate.(Fig.2)
Step 3. Line up the back plate with the junction box holes and secure with the two junction box screws provided. (Fig.3)
Step 4.Connect the bare (ground) wire for the transformer to the bare or green ground wire from the junction box and use a wire nut to secure the connection (Fig.4) 
Step 5-1. Connect the white (neutral) wire from the transformer to the white wire from the junction box . use a wire nut to secure the connection.(Fig,5)
Step 5-2. Connect the black (hot) wire from the transformer to the black wire from the junction box use a wire nut to secure the connection. (Fig.5) Secure wire connections with the 3 plastic wire nuts provided (Flg.5A)
Step 6.Tuck the wire nut connections into the electrical junction box. Slide the transformer housing up until the holes line up to the back plate,make sure all wires are tucked Insecure It In place with the 3 screws previously removed.
Note: 1. MAKE SURE THATTHE STAND OFF IS IN ALIGNMENT WITH THE RAIL.
2. Transformer is equipped with a circuit breaker. It Is located on the side of the upper setcion of the transformer. This will “trip” (turn off power) If too many fixtures are put on the track or there is a short circuit. To reset circuit breaker push button in. If it continues to trip make sure that the total wattage of all fixture does not exceed 60 watts. Also make sure there Is no conducting material shorting out the track.
C. Preparing the Rail Sections for Installation
Step 1. Locate the three sections of rail and joiners packet (A), which contains the one alien wrench and several extra set screws.
Step 2. If you would like to customise the length of the rails. use a hacksaw to cut to the desired length. Use a file or equivalent to remove any burs from the rails. Remove and replacethe end caps to the ends of the rails. (A).End cap
Step 3. To bendor curve the rail, follow step 4, If the rail will be mounted as a straight run, skip to step 5.
Step 4. Use a round kitchen tabletop or similar household item as a template to bend the rail. Carefully hold the rail with one hand starting from the center and working towards the ends. Table Top (A), Waste Paper Basket (B), Counter Top (C)Plywood Template (D)
Step 5. Secure the pieces of rail together by inserting the aids of the rail firmly into the rail joiners. Tighten the alien set screws with the alien wrench provided.
CAUTION: DO NOT OVER TIGHTEN ALLEN SET SCREWS.
D. Installing the Rails to the Ceiling
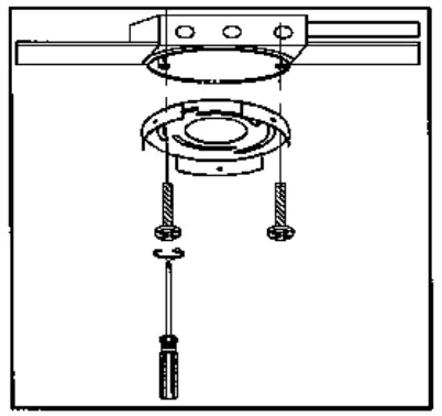
Step 1. Locate the four standoffs and mounting hardware packet (B) which contains 4 screws, one allen wrench, 4pcs drywall anchors and 4prs threaded washers
Step 2. Lay the assembled rail on the floor directly under the transformer.
Step 3. The transformer and the standoffs will he used to support the rail from the ceiling providing a total of five supports. Use a pencil and tape measure to mark two of the support locations on the rail fin from each end of the rail.

Step 4. Mark the remaining support locations on the rail no more than 38″ apart. It is acceptable for a support location to fall directly over a rail joiner.
Step 5. Lift the rail to the ceiling. Lining the rail up with the Transformer, Use a pencil to transfer the standoff locations to the ceiling.
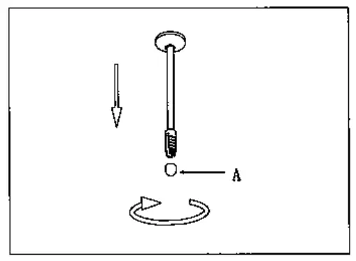
Step 6. Line up the drywall anchors with the marks on the ceiling and use a hammer to tap the anchor approximatelly 1/2″ into the ceiling. Stop just before the threaded portion of threaded portion of the anchor enters the ceiling.
Step 7. Finish the installation using a screw driver to screw the anchor until is flush to the ceiling.
Step 8. Secure a threaded washer to the flushed anchor by driving a screw into the anchor. Threaded Washer (A).
Step 9. Secure the standoff assembly to the threaded washer.Standoff Assembly(A)
Step 10. Repeat step 6 to 9 for the remaining standoffs.
E. Securing the Rail to the Ceiling
Step 1. Remove the transformer power feed cap from the base of the power feed. (A) Power Feed Cap
Step 2. Remove the standoff caps. (B) Standoff Cap
Step 3. Slide the rail into the standoffs and the transformer power feed.
Step 4. While supporting the rail, screw the transformer power feed cap back onto the transformer. The connection must be tight.
Step 5. Carefully screw the siandoff caps back onto each of the standoffs.
F. Installation the fixtures
Step 1. Locate the six fixtures with adjustable arm.
Step 2. Remove the fixture cap from each of the fixtures. (A) Fixture Cap
Step 3. Slide the fixture onto the rail and secure with a fixture cap.The connection must be tight and secure. Repeat this step for the remaining fixtures.
G. Restoring the Electrical Power
Install LED fixture, led 3W MAX (Included)
Step 1. Restore the electrical power and proceed to test your new rail system.
Step 2. Turn on the light system and let it run for 5 minutes. Turn the system off, carefully check that all connection points are not hot to the touch (warm Is acceptable), if a connection is hot, check the connection and make sure the wire nut is tightly secured. Power Ftvd Connection (A) Fixture Connections (13)
NOTICE : Fixture should be installed by a qualified electrician to ensure proper wiring and installation. Dimmer with C-L (CFL & LED) type Brand : Lutron
| Ordering Inlormation | |||
| Model number | Product name | Control Type | Maximum Capacity |
| Diva C L | Sing1″°18/34.18Y dimmer | 150w CFL/LED or 600w Incandescent/ Halogen 120v | |
| Diva GL Satin Colors | |||
| Skylark Controur C-L | |||
| Ariadn1C-L | |||
| Credenza C-L | dimmer P6 lamp | 100W CFL/ LED or 250W Incandescent/ Halogen 120v | |
H. Important safety Instructions
CAUTION : Do not touch hot lens, housing or enclosure when lit.
When installing or using the LED track accent light, basic safety precautions should always be followed including the following :
- The LED track accent light is suitable for indoor use only.
- Always switch off the mains supply before servicing, fitting or changing the spot lights.
- Use only with apprepriate 12V AC/DC constant voltage spotlights.
- The maximum 12 fixtures only per kit.
- Each spot must be separate from another spot by at least 3″ distance
“CAUTION —”To reduce the risk of fire, electric shock, or injury to persons:
a) Use only insulated staples or plastic ties to secure cords;
b) Route and secure cords so that they will not be pinched or damaged when the cabinet is pushed to the wall;
c) Position the portable cabinet light with respect to the cabinet so the lamp replacement markings are able to be read during relamping; and
d) Not intended for recessed installation in ceilings, or soffits.”
IMPORTANT SAFETY INSTRUCTIONS
- This portable lamp has a polarized plug (one blade is wider than the other) as a safety feature to reduce the risk of electric shock. This plug will fit in a polarized outlet only one way. If the plug does not fit fully in the outlet, reverse the plug. If it still does not fit, contact a qualified electrician. Never use with an extension cord unless plug can be fully inserted. Do not alter the plug.
SAVE THESE INSTRUCTIONS

















