Kuzco Lighting 493620-WH Guildford 1 Light 20 inch White

START FROM HERE
- Make sure power is completely off at the fuse box.
- Have your fixture installed by a qualified licensed electrician
- Prepare everything in a clear area.
- Wear gloves at all times during this installation.
- Read instructions carefully before you start assembly.
- Keep this instruction sheet for future reference.
INSTRUCTION
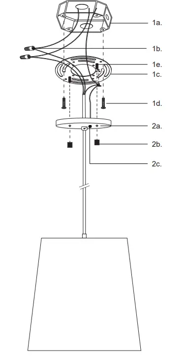
- Remove the fixture from its original packaging. Next, remove the mounting plate (1c) from the canopy (2a) by removing the decorative nuts (2b). Attach the mounting plate (1c) to the electrical junction box (1a) using the two screws (1d) provided in the hardware package.
- To change fixture height, shorten or lengthen wire by removing set screw (2c) from canopy (2a) and push or pull wire to your desired length. Secure set screw (2c) in canopy (2a) to lock wire in place.
- You are now ready to mount the canopy (2a) to the mounting plate (1c). First connect all wires (1b) correctly black to black “L”, white to white “N” and the ground wire with provided marrettes from the hardware package. Align the threaded studs (1e) with the holes on the surface of the canopy (2a). Next, push the canopy (2a) up towards the mounting plate (1c) and thread on the decorative nuts (2b) on the threaded studs (1e). This will secure the canopy to the mounting plate.
- Install the bulb (bulb not included) to the fixture. You have now completed the installation of your fixture, enjoy
19054 28th Avenue Surrey, BC Canada V3Z 6M3
T: 604 538 7162 TF: 1-855 85 KUZCO F: 604 538 7196 kuzcolighting.com




















