KUZCO AT6510-GD LED Lamp Wall Sconce

START FROM HERE
- Make sure power is completely off at the fuse box.
- Have your fixture installed by a qualified licensed electrician
- Prepare everything in a clear area.
- Wear gloves at all times during this installation.
- Read instructions carefully before you start assembly.
- Keep this instruction sheet for future reference.
Please Note:
- This Kuzco LED fixture comes with pre-wired LED module(s)
- Unless instructed to do so, please do not touch any part of the LED module(s) as any unnecessary contact with the module could cause permanent damage.
- For dimming, an ELV (Electronic Low Voltage) type of dimmer is required.
- Dry Location Only
- 120V input
Assembly
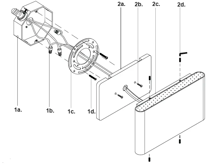
- Remove the fixture from its original packaging. Remove the mounting plate (1c) from within the canopy backplate (2a) by loosening the four set screws (2d) and two screws (2b). Secure the mounting plate (1c) to the junction box (1a) with screws (1d) provided in the hardware package.
- Attach the canopy backplate (2a) to the mounting plate (1c), which is attached to the electrical junction box (1a) on the wall. First attach all wiring with the provided marottes (1b) (white to white “N”, black to black “L”, ground to ground “G”). Now direct the canopy backplate (2a) onto the mounting plate (1c) be sure to line up the mounting threaded holes with the screws (2b). Next, place the canopy (2c) onto the canopy backplate (2a) and secure with all four set screws (2d) turning clockwise.
You have now completed the installation of your fixture, enjoy.
19054 28th Avenue Surrey, BC Canada V3Z 6M3
T: 604 538 7162
TF: 1-855 85 KUZCO
F: 604 538 7196
W: kuzcolighting.com




















