robern MPUSHKIT Push-to-Open Kit

TOOLS NEEDED
INSTRUCTIONS
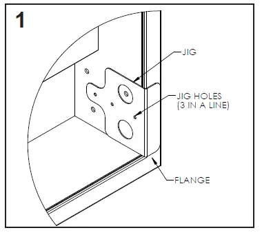
- Position the supplied Jig opposite the hinges in a corner of the cabinet. Be sure the flange of the Jig is pressed against the flange of the cabinet as shown in Figure 1.

NOTE: On 30″ and 40″ cabinets, the Push-to-Open mechanism may be placed at either the upper or lower corner, however on 70″ Full Length cabinets, the Push-to-Open mechanism must be installed in the upper corner of the lower cabinet.- Using the supplied #31 (0.120″) Drill Bit, drill three holes into the side of the cabinet using the Jig holes shown in Figure 1.
- Remove the Jig and position the Push-to-Open Base Plate so all three screw holes on the plate line up with the drilled holes as shown in Figure 2. Use the supplied screws and a #2 Phillips Bit to install the three screws.

- Clip the Push-to-Open mechanism onto the baseplate starting with the back, then pressing in the front till an audible click is heard or unit is secured, as shown in Figure 3.

- Adjust the bumper on the Cylinder so the door closes properly by turning the bumper clockwise or counterclockwise.

LIMITED WARRANTY ONE YEAR TERM
Robern warrants to the original purchaser that, it will, at its election repair, replace or make appropriate adjustment to products made by this company shown to have significant defects in material or workmanship which are reported to Robern in writing within one (1) year from the date of delivery. Robern is not responsible for installation costs. The warranty is void in the event the product is damaged in transit, or if damage or failure is caused by abuse, misuse, abnormal usage, faulty installation, damage in an accident, improper maintenance, or any repairs other than those authorized by Robern. At the expiration of the one year warranty period, Robern shall be under no further obligation under any warranty, expressed or implied, including the implied warranty of merchantability. Robern shall not be liable for any consequential damages arising out of or in connection with the use or performance of its products. Some states do not allow limitations on how long an implied warranty lasts or do not allow the exclusion or limitation of incidental or consequential damages, so the above limitation or exclusion may not apply to you. Any liability against Robern under any implied warranty, including the warranty of merchantability, is expressly limited to the terms of this warranty. Permission to return any merchandise under this warranty must be authorized by Robern and returned prepaid by the purchaser. Claims under this warranty should be sent directly to your dealer.
©2021 by Robern, Inc. All rights reserved.
© 2020 Robern, Inc. 701 N. Wilson Ave. Bristol, PA 19007 U.S.A. 800.877.2376 www.robern.com
Part no. 209-1411 rev. 5/11/21 Push-To-Open Kit
























