EDGE MOUNT PULL HANDLE
Installation Instructions 
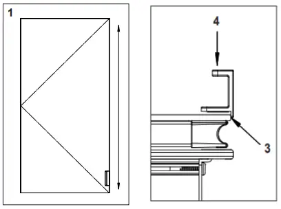
INSTRUCTIONS
- The handle can be positioned at any height along the door edge opposite the hinge side.
- Clean mounting location on the door using isopropyl alcohol.
- Peel the backing film from the handle, align the lip on the handle with the edge of glass and push the handle firmly into place.
- Press on hande for at least 30 seconds. Please allow 24-48 hours for tape adhesion prior to using the handle.

LIMITED WARRANTY ONE YEAR TERM
Robert warrants to the original purchaser that, it will, at its election repair, replace, or make the appropriate adjustments to products made by this company shown to have significant defects in material or workmanship which are reported to Robern in writing within one (1) year from the date of delivery. Robern is not responsible for installation costs. The warranty is void in the event the product is damaged in transit, or if damage or failure is caused by abuse, misuse, abnormal usage, faulty installation, damage in an accident, improper maintenance, or any repairs other than those authorized by Robern. At the expiration of the one-year warranty period, Robern shall be under no further obligation under any warranty, expressed or implied, including the implied warranty of merchantability. Robert shall not be liable for any consequential damages arising out of or in connection with the use or performance of its products. Some states do not allow limitations on how long an implied warranty lasts or do not allow the exclusion or limitation of incidental or consequential damages, so the above limitation or exclusion may not apply to you. Any liability against Robern under any implied warranty, including the warranty of merchantability, is expressly limited to the terms of this warranty. Permission to return any merchandise under this warranty must be authorized by Robern and returned prepaid by the purchaser. Claims under this warranty should be sent directly to your dealer.
©2022 by Robern, Inc.
All rights reserved.
Save these instructions
© 2022 Robern, Inc.
701 N. Wilson Ave. Bristol, PA 19007 U.S.A.
800.877.2376
www.robern.com
Part no. 209-1438 | 06-JUN-2022
Edge Mount Pull Handle


















