Hanwha SBP-300CMW1 Ceiling Mount

Product Information
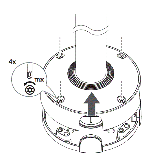
Ceiling Mount
The Ceiling Mount is available in two models: SBP-300CMW1 and SBP-900CMW. The SBP-300CMW1 has a length of 300mm while the SBP-900CMW has a length of 900mm. The package includes 1 L-shaped mount, 2 anchor bolts (M10), 1 TR30, and 2EA x HE4X S3 pipe extension guide. Please note that the anchor bolts are not included in the package. The pipe coupler and extension pipe are optional and can be purchased separately.
Product Installation Precautions
Before installing the Ceiling Mount, please ensure that it is installed by a qualified professional. The installation must be done in accordance with the instructions provided in the user manual. Please ensure that the Ceiling Mount is securely fastened to the ceiling to prevent any accidents.
Product Usage Instructions
- Locate a suitable location on the ceiling to install the Ceiling Mount.
- Ensure that the ceiling is strong enough to support the weight of the mount and the device that will be attached to it.
- Attach the anchor bolts (not included in the package) to the ceiling at the desired location.
- Attach the L-shaped mount to the anchor bolts using the TR30 screws provided in the package.
- If required, attach the pipe coupler and extension pipe to the mount using the HE4X S3 screws provided in the package.
- Attach the device to the mount using the appropriate screws and brackets.
Installation Precautions
- Make sure that the installation place can endure at least 4 times of the total weight of the Ceiling Mount, Hanging Adaptor and Camera.
- Each anchor bolt to use must be capable of withstanding an extraction force of 700 kg.
- When installing the product outdoors, use interlocking devices made of stainless steel.
Package

- SBP-300CMW1 (L:300mm)
- SBP-900CMW (L:900mm)
Installation
























