hager WH36250805C Flush Mounted Motion Detector
Safety instructions
Electrical devices may only be installed and assembled by a qualified electrician in accordance with the relevant installation standards, guidelines, regulations, directives, and safety and accident prevention regulations of the country. Failure to comply with these installation instructions may result in damage to the device, fire or other hazards. These instructions are an integral component of the product and must be retained by the end user.
Design and layout of the device

- Surface-mounted housing
- Flush-mounted mounting plate with foam seal
- Flat seal
- Motion detector module
- Fixing plate
- Cover panel (optional)
- Wet upper part
Function
Correct use
- Automatic switching of lighting depending on heat motion, ambient brightness and ambient noise
- For use in protected outdoor areas
Product characteristics
- Extension connection for optional operation via installation push-button
- Integrated microphone for optional re-triggering of the duty cycle by noises
- Potentiometer for setting response brightness, delay time and noise sensitivity
- Pulse encoder mode possible for pulse/ stair light circuits, pulse pause times can be adjusted.
Automatic mode
The motion detector detects heat motion caused by people, animals, or objects. The integrated microphone also detects noises.
- The light will be switched on for the delay time, if movements are detected in the detection area and the set brightness threshold is undershot.
- Once the motion detector has switched on the lighting, noises are detected (if activated) and the brightness sensor in the device is deactivated. Any movement or noise in the detection area restarts the delay time. The lighting remains switched on as long as motion or noise are detected in the detection area.
- The light is switched off when no further motion or noise is detected in the detection area and the set delay time has elapsed.
Extended evaluation of noises
Immediately after switching off, for approx. 8 seconds the unit can be switched on again by noise. After this time has elapsed, only a detected motion will trigger a new switching operation.
Information
- When the pulse mode is activated, the microphone is deactivated.
Operation
LED display

There are three status LEDs behind the lens of the motion detector.
- The green LED briefly lights up for each detected noise (only if the microphone is on and pulse mode is not activated).
- The white LED lights up until the current brightness is reached (see “Determining current brightness in test mode”).
- The red briefly lights up for each detected motion.
Switching light via push-button as extension
The light can be switched on or off at any time via a connected push-button.
- Briefly press the button:
- A switching operation is triggered depending on the switching state of the lighting (Table 1).
| Lighting switching state | Function when push-button is pressed |
| Off | Light is switched on immediately. The light remains switched on as long as motion/noise is detected. If there is no motion/noise, the light is switched off after the delay time has elapsed. |
| On | Light is switched off immediately. The light remains switched off as long as motion/noise is detected and the set delay time has not yet elapsed. |
Information for electricians
Installation and electrical connection
Selecting installation location

- Install the device in protected areas
- Observe the installation direction:
- The lens must be at the bottom.
- Observe the recommended installation height of 1.1–2.2 m.
- Never install the motion detector above the lighting.
- Minimum distance to switched lighting from the front or side of the device: 1 m.
- Observe the motion orientation: A distinction is made between “direct approach” and “transverse motion”. Motions transverse to the motion detector can be detected better than motions towards the motion detector (Figure 04/05).
- Select an installation location that is free of vibration. Vibrations can cause undesired switching.
- Avoid sources of interference in the detection area (Figure 05). Sources of interference, e.g. heat sources, ventilation and air conditioning systems, heat pumps and cooling lights can lead to unwanted switching.
Information
- In order to avoid interference, the detection area can be restricted by a cover panel (see “Restricting detection area with cover panel”).
Danger: Electric shock when live parts are touched.
An electric shock can lead to death.
- Before working on the device, disconnect connecting cables and cover all live parts in the area!
Assembling the device
- Wet flush-mounted installation: Place the flush-mounted mounting plate 2 on a wall box and screw to the box.
- Wet surface-mounted installation:
- Install the surface-mounted housing 1.
- Connect the motion detector module 4 (see “Connecting the device”), lead it through the flat seal 3 and fixing plate 5 from behind and screw it together.
- Screw this unit to the flush-mounted mounting plate 2 or the surface mounted housing 1 using four screws.
Information
- If necessary, first perform the settings for commissioning orinstall the cover panel 6 before putting on the upper part.
- Position the upper part 7 and screw to the flush-mounted mounting plate or the surface-mounted housing using four screws.
Connect device
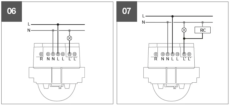
- Automatic mode
- Automatic mode with RC element

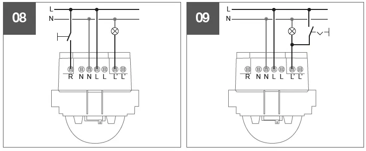
- Automatic mode with push-button extension unit
- Automatic mode with continuous on via the installation push-button

- Parallel operation (Expansion of detection area)
- Pulse mode with automatic stair light system

- Manual operation with rotary switch – 0 – Auto (WH..1810..)
- A version: Interruption of the bulb wire
- B version: Interruption of the supply voltage

- Connect the motion detectors according to the application (Figure 06 to 12).
Commissioning
Overview of the control elements (Figure 13)
The operating elements for commissioning are located under the upper part 7.
- Loosen the fastening screws and remove the upper part.
The operating elements are accessible.

- Cover panel (optional)
- Mic potentiometer
- Noise sensitivity
- Pulse pause time
- R1 delay time potentiometer
- Lux response brightness potentiometer
Switching on motion detector/self-test cycle
After switching on the supply voltage, the device runs a self-test cycle lasting 60 seconds (red LED 10 flashes). Afterwards the device is ready for operation and further settings can be made.
Setting the detection performance
Test mode must be used to test the detection performance. In test mode, the motion detector works independently of brightness. Each detection switches the lighting on briefly. The motion detector is connected and ready for operation.
- Set the R1 delay time potentiometer 12 to the test position.
- Leave the detection area and observe the switching behaviour.
- If the motion detector switches on without any movement in the detection area, interference is present (see Selecting installation location).
- Hide the sources of interference using a cover panel or remove the sources of interference.
Information: The test mode ends when the setting on the R1 potentiometer is changed.
Restricting detection area with cover panel
The cover panel hides sources of interference (e.g. small animals, etc) in the vertical detection area below the device.
- Unscrew and remove the wet upper part 7.
- Place the cover panel 6 on the lens of the motion detector module.
- Position and screw on the wet upper part 7.
Setting the response brightness
The response brightness is the brightness threshold set in the motion detector, below which the motion detector sends switch-on pulses when motion is detected. The response brightness can be set in the following areas:
- Night operation
- 40… 2000 Lux, infinitely variable adjustment of response brightness
- Day operation (brightness-independent, switches with every motion)
- Turn the response brightness potentiometer 13 to the desired position.
Information
- The current brightness can be determined in the test mode to support configuration.
Determining current brightness in test mode
- Turn the R1 delay time potentiometer to the test position. The white LED 9 lights up continuously.
- Slowly turn the Lux response brightness potentiometer from the
position (night operation) towards the
position (daytime operation) until the white LED 9 switches off. The Lux potentiometer displays the current brightness value.
Setting the delay time or pulse encoder mode
The delay time is the period of time saved in the motion detector which is the shortest time that the lighting is switched on for when the response brightness is undershot and motion is detected.
The R1 delay time potentiometer 12 can have the following settings:
Test
- Setting for checking the detection behaviour or for determining the current brightness (see “Determining current brightness in test mode”)
15 s… 16 min
- Infinitely variable adjustment of the delay time.
Pulse mode![]()
Switching a switch-on pulse for automatic stair light systems (minute makers). The pulse pause time can be set (see Setting pulse pause time).
- Turn the R1 delay time potentiometer 12 to the desired position.
Information
- Noise is not detected in pulse mode!
- Note that lights can be worn down due to frequent switching with very short delay times.
Setting noise detection
Noise detection is deactivated in the factory setting. Noise detection can be activated and adjusted using the Mic 11 (a) noise sensitivity potentiometer.
- Turn the Mic noise sensitivity potentiometer clockwise as far as it will go. Noise detection is inactive.
- Turn the Mic noise sensitivity potentiometer anti-clockwise to set the noise sensitivity. Noise is detected at the set sensitivity level.
Setting pulse pause time
- The pulse pause time is set via the Mic 11 potentiometer, if the pulse mode has been set (R1 delay time potentiometer in position
). - Turn the Mic potentiometer to the desired position, according to the setting ranges in 11 (b).
Information
- The pulse pause time should be matched to the delay time set for the automatic stair light system.
- Select a pulse pause time that is shorter than the delay time.
Appendix
Troubleshooting
Light does not switch on
- The bulb is defective.
- Replace the bulb.
- No mains voltage is present.
- Check the fuse under the distribution box.
- Response brightness is not adapted to the given situation.
- Change the response brightness with the adjusting screw.
Light constantly on or unintentionally switched on in darkness
Constant or temporary heat motion in the detection area.
- Check for the presence of animals, radiators or fans. Check the correct functioning of the motion detector by covering the Fresnel lens and deactivating the noise detector.
- After the delay time has elapsed, the motion detector switches off the light.
- Noise detector permanently detects noises.
- Adjust noise sensitivity to ambient conditions or, if necessary, switch off.
- The motion detector is located parallel to a switch that allows the light to be switched on manually.
- If necessary, adjust circuit.
Light always on, even during the day
- Response brightness is not adapted to the given situation.
- Change the response brightness with the adjusting screw.
- Noise detector permanently detects noises.
- Adjust noise sensitivity to ambient conditions or, if necessary, switch off.
Connected luminaire switches on too late or the range is too small
- The motion detector is mounted too high/too low or is directly touching the device.
- If necessary, correct the mounting height/ location for installation. The recommended mounting height is 1.1 to max. 2.2 m.
Technical data
- Nominal voltage …………………………………………………………230 V~, +/- 10%
- Mains frequency ………………………………………………………… 50/60 Hz
- Switching capacity …………………………………………………………2300 VA (cos φ=1) max. 30 EB
- Type of contact …………………………………………………………Relay, μ-contact, NO contact
- Response brightness …………………………………………………………approx. 5… 2000 Lux (∞)
- Delay time …………………………………………………………15 s to 16 min
- Detection angle …………………………………………………………180°
- Detection area:
- Side (tangential)…………………………………….10 m
- Direct (radial)……………….4 m (for seated people)
- Nominal mounting height …………………………………………………………1.1 to 2.2 m
- Operating temperature …………………………………………………………-25°C to +55°C
- Degree of protection …………………………………………………………IP55
- Protection class …………………………………………………………II
- Plug-in terminals conductor cross-sections:
- Rigid …………………………………………………………1 x 1.5 to 2.5 mm²
- Flexible with conductor sleeve …………………………………………………………1 x 1.5 to 2.5 mm²
CONTACTS
- T: +41 41 269 90 00
- [email protected]
- hager.com
6LE007255B





















