ETHAN ALLEN 09-6087 Turnbull Table Lamp
Product Information
- Product Name: Turnbull Table Lamp
- Model Numbers: 09-6087 (Black), 09-6088 (White)
- Usage: Indoor use only
- Plug Type: Polarized plug with one wider blade
- Bulb Wattage: Follow recommended bulb wattage, do not exceed
- Bulb Type: Use only the specified type of bulb
- Safety Precautions:
- Keep flammable materials away from the bulb
- Do not open the product or alter the wiring
- Follow the precautions provided with the power cord extension
IMPORTANT SAFETY INSTRUCTIONS
TO REDUCE THE RISK OF FIRE, ELECTRICAL SHOCK, AND PERSONAL INJURY:
- This lighting fixture is for indoor use only.
- This lamp is equipped with a polarized plug.
- One plug blade is wider than the other.
- DO NOT MODIFY the plug or power cord in any way.
- DO NOT EXCEED the recommended bulb wattage.
- Use only the type of bulb specified. Keep flammable materials away from the bulb.
- DO NOT OPEN the product or alter the wiring in any manner.
- Extension cord: Follow the precautions provided with the power cord.
Product Usage Instructions
Unpacking
- Handle packaging materials with care
- Locate and ensure all parts are included before disposing of packaging materials
Assembly
Tools Required For Assembly: None
Light bulb is not included.
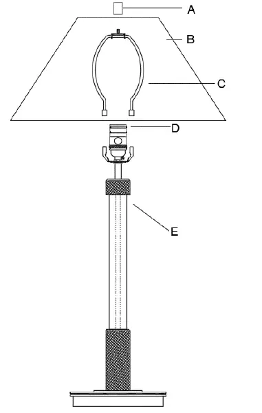
Parts Included

- A. Shade Finial
- B. Shade
- C. Harp (Harp styles may vary)
- D. Lamp Socket (attached, no assembly required)
- E. Lamp Base
Assembly Procedure
- Install Harp Part (C) onto Lamp Base Part (E)
- Install Shade Part (B) onto Harp Part (C)
- Install Shade Finial Part (A) onto Harp Part (C)
- Install Bulb into Lamp Socket Part (D)
- Remove Plug Cap from Plug
Caring for and Cleaning your lamp
- To clean, wipe with a soft dry cloth
- Do not use cleaners, scouring pads, etc.
- Unplug lamp and allow the bulb to cool before changing it
Troubleshooting
- Problem: Bulb does not light
- Possible cause: Bulb is burnt out or damaged, Power to lamp is off
- Correct by: Replace bulb, Confirm power is on
- Problem: Lamp is not plugged in
- Correct by: Confirm lamp is plugged in In the event that the lighting fixture does not work after troubleshooting, contact your local Ethan Allen Design Center.















