ETHAN ALLEN 096091 Aubrey Glass Table Lamp
Product Information
The Aubrey Glass Table Lamp Base (product code: 096091) is a lighting fixture designed for indoor use. It is equipped with a polarized plug, with one plug blade wider than the other. The lamp base is made of glass and iron, and it requires additional parts such as a shade and a light bulb, which are not included in the package.
It is important to follow the safety instructions provided to reduce the risk of fire, electrical shock, and personal injury. The recommended bulb wattage should not be exceeded, and only the specified type of bulb should be used. Flammable materials should be kept away from the bulb, and the product should not be opened or altered in any way. If an extension cord is used, precautions provided with the power cord should be followed.
Parts Included
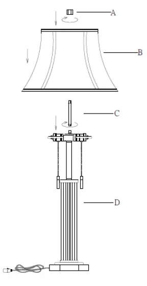
Refer to Figure 1.
- A. Shade Finial
- B. Shade (Purchase Separately)
- C. Iron Pipe
- D. Lamp Base
Assembly Instructions
- Unpack all parts from the carton carefully.
- Pull excess cord through the lamp body (D).
- Twist Iron Pipe (C) onto the glass lamp body (D).
- Place Shade (B) onto Iron Pipe (C). Secure with Finial (A).
Caring for and Cleaning your lamp
- To clean, wipe with a soft dry cloth.
- DO NOT USE cleaners, scouring pads, etc.
- Unplug the lamp and allow the bulb to cool before changing the bulb.
Troubleshooting
- Problem: Bulb does not light
- Possible cause: Bulb is burnt out or damaged
- Correct by: Replace the bulb
- Possible cause: Power to lamp is off
- Correct by: Confirm that power is on
- Possible cause: Lamp is not plugged in
- Correct by: Confirm that the lamp is plugged in
If the lighting fixture does not work after troubleshooting, please contact your local Ethan Allen Design Center for assistance.

















