
SUNNY SF-RW522073 Hydro Water Rowing Machine User Manual

IMPORTANT! Please retain owner’s manual for maintenance and adjustment instructions. Your satisfaction is very important to us, PLEASE DO NOT RETURN UNTIL YOU HAVE CONTACTED
US: [email protected] or 1-877-90SUNNY (877-907-8669).

IMPORTANT SAFETY INFORMATION
We thank you for choosing our product. To ensure your safety and health, please use this equipment correctly. It is important to read this entire manual before assembling and using the equipment. Safe and effective use can only be achieved if the equipment is assembled, maintained and used properly. It is your responsibility to ensure that all users of the equipment are informed of all warnings and precautions.
- Before starting any exercise program, you should consult your physician to determine if you have any medical or physical conditions that could put your health and safety at risk, or prevent you from using the equipment properly. Your physician’s advice is essential if you are taking medication that affects your heart rate, blood pressure or cholesterol level.
- Be aware of your body’s signals. Incorrect or excessive exercise can damage your health. Stop exercising if you experience any of the following symptoms: pain, tightness in your chest, irregular heartbeat, shortness of breath, lightheadedness, dizziness or feelings of nausea. If you do experience any of these conditions, you should consult your physician before continuing with your exercise program.
- Keep children and pets away from the equipment. The equipment is designed for adult use only.
- Use the equipment on a solid, flat level surface with a protective cover for your floor or carpet. To ensure safety, the equipment should have at least 2 feet (60 cm) of free space all around it.
- Ensure that all nuts and bolts are securely tightened before using the equipment. The safety of the equipment can only be maintained if it is regularly examined for damage and/or wear and tear.
- Always use the equipment as indicated. If you find any defective components while assembling or checking the equipment, or if you hear any unusual noises coming from the equipment during exercise, discontinue use of the equipment immediately and do not use until the problem has been rectified.
- Wear suitable clothing while using the equipment. Avoid wearing loose clothing that may become entangled in the equipment.
- Do not place fingers or objects into the moving parts of the equipment.
- The maximum weight capacity of this unit is 300 pounds (135 kgs).
- The equipment is not suitable for therapeutic use.
- To avoid bodily injury and/or damage to the product or property, proper lifting and moving is required.
- Your product is intended for use in cool, dry conditions. You should avoid storage in extreme cold, hot or damp areas as this may lead to corrosion and other related problems.
- This equipment is designed for indoor and home use only. It is not intended for commercial use.
PRE-ASSEMBLY CHECK LIST



HARDWARE PACKAGE

Ordering Replacement Parts (U.S. and Canadian Customers only)
Please provide the following information in order for us to accurately identify the part(s) needed:
- The model number (found on cover of manual)
- The product name (found on cover of manual)
- The part number found on the “EXPLODED DIAGRAM” and “PARTS LIST” (found near the end
of the manual)
Please contact us at [email protected] or 1-877-90SUNNY (877-907-8669).
ASSEMBLY INSTRUCTIONS
We value your experience using Sunny Health and Fitness products. For assistance with parts or troubleshooting, please contact us at [email protected] or 1-877-90SUNNY (877-907-8669).
STEP 1:
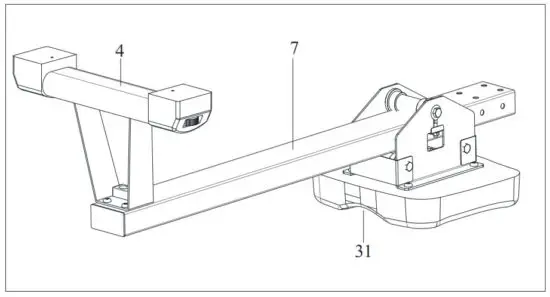
Attach the Rear Stabilizer (No. 4) to the Slide Rail (No. 7) by using 4 Screws (No. 51) to pass through the Stopper (No. 35) and the Rear Stabilizer (No. 4). Tighten with Allen Wrench (No. 68).

STEP 2:
Turn over the Slide Rail (No. 7) and Seat (No. 31). Slide the Seat (No. 31) onto the Slide Rail (No. 7).

STEP 3:
Keep the Main Frame (No. 1) invert. Attach Front Stabilizer (No. 3) to Main Frame (No. 1) using 4 Screws (No. 51), and then tighten with Allen Wrench (No. 68).

We value your experience using Sunny Health and Fitness products. For assistance with parts or troubleshooting, please contact us at [email protected] or 1-877-90SUNNY (877-907-8669).
STEP 4:
Attach the Slide Rail (No. 7) to the Main Frame (No. 1) using 8 Screws (No. 51). Insert all 8 Screws (No. 51) partially into the holes first, and then tighten with Allen Wrench (No. 68).
NOTE: The two holes must be threaded with the Stopper (No. 35) before pinning into the Slide Rail (No. 7).
The assembly is complete!

HOW TO FILL AND EMPTY THE TANK
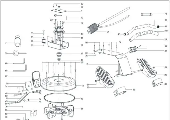
- Remove the Fill Plug (No. 18) from the Upper Tank Cover (No. 13).
- To fill the tank with water, refer to Fig. A. Insert the Pumping Siphon (No. 24) into the tank, then use the Pumping Siphon (No. 24) and a bucket to fill the tank. Use the water level gauge on the side of the tank to measure desired water level in the tank.
- To empty the tank, refer to Fig. B. Place a bucket next to the rower, and use the Pumping Siphon (No. 24) to pump out the water from the tank into the bucket.
- Insert the Fill Plug (No. 18) into the Upper Tank Cover (No. 13). Wipe excess water off the frame.
NOTE:
- Fill the tank only with tap water. Add 1 water purification tablet (1 packet is included). Never use pool chlorine or chlorine bleach. This will damage the tank and void the warranty.
- Add a water purification tablet every 6 months or as needed. If water remains cloudy, replace the water in the tank.
- Do not consume the tank water. Dispose of the water after pumping it out from the tank.
WATER LEVEL
- See Fig. A. The water level gauge is on the side of the tank. The maximum fill level is 6. Never fill over this limit. Filling the tank over this limit will void the warranty.
- The resistance depends on the water level in the tank. Water level 1 is the lowest resistance. Level 6 is the highest resistance.

BATTERY INSTALLATION & REPLACEMENT

BATTERY INSTALLATION:
- Take out 2 AAA batteries from the PE bag.
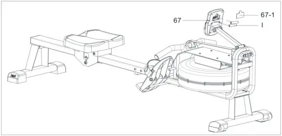
- Press down on the buckle of battery cover on the back of the Meter (No. 67), then remove battery cover.
- Install 2 AAA batteries into the battery case on the back of the Meter (No.67). Pay attention to the battery + and – poles before installing.
- Press down on the buckle of battery cover, then put the battery cover back to the back of the
Meter (No. 67).
The installation is complete!
BATTERY REPLACEMENT:
- Press down on the buckle of battery cover on the back of the Meter (No. 67), then remove battery cover.
- Remove the 2 old AAA batteries in the battery case and install 2 new AAA batteries into the battery case on the back of the Meter (No. 67). Pay attention to the battery + and – poles before installing.
- Press down on the buckle of battery cover, then put the battery cover back to the back of the Meter (No. 67).
The replacement is complete!
NOTE: Always change both batteries at the same time. Do not mix battery types and do not mix old and new batteries. Dispose batteries according to your state and regional guidelines.
ADJUSTMENTS GUIDE
MOVING THE BALANCE
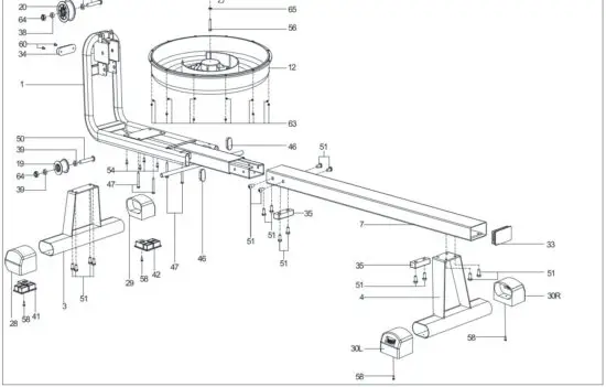
Rotate the Adjustable End Caps (No. 30L/R) on the Rear Stabilizer (No. 4) of the rower if the rower is unbalanced during use.
CAUTION!
Moving parts, such as the seat, can crush and cut the hands. Keep hands clear of the Slide Rail (No. 7) during use or when moving the rower.

MOVING THE ROWER
To move the rower, lift up the Rear Stabilizer (No. 4) until the transportation wheels on the Front Stabilizer (No. 3) touch the ground. With the transportation wheels on the ground, you can transport the rower to the desired location with ease.

PEDAL ADJUSTMENT
The Pedal Straps (No. 32) is adjustable and can be personalized to fit the user’s foot size. Secure your feet firmly to the pedals before using the rower.

EXERCISE METER

KEY FUNCTIONS:
- Pressing the MODE key to select and lock on a function for following sequence:
SCAN➜TIME➜ COUNT➜ DISTANCE (DIST)➜ CALORIES (CAL)➜ TOTAL COUNT (TOT) ➜ SPM➜T/500M ➜SCAN - Pressing and hold the MODE key with 3 seconds to reset the value to zero (without TOT).
SLEEP MODE:
- The system turns on when the MODE key is pressed or system sensed a signal input from the sensor.
- The system turns off automatically when the sensor has no signal input or no key are pressed for approximately 4 minutes.
FUNCTIONS:
- SCAN: Display changes according to the next diagram every 6 seconds.
- COUNT: The current count with starting exercise.
- DISTANCE (DIST): The current distance with starting exercise.
- TIME: The total working times with starting exercise.
- TOTAL COUNT (TOT): The total count which this function is refers to from battery capacity period runs.
- CALORIES: The calorie burned with starting exercise.
- CALORIES (CAL): The calorie burned with starting exercise.
- SPM: Number of strokes per minute, indicating the stroke speed during exercise.
- T/500M: The time for 500 meters during exercise
BATTERY INSTALLATION & REPLACEMENT

APP CONNECTION:
- Scan the QR code below to download the SunnyFit app onto your mobile device.

2. If this is your first time using the SunnyFit app, follow the in-app instructions to register for your free SunnyFit account and log in.
3. Ensure that the Bluetooth function
is turned on from your mobile device.
4. To connect the equipment to the SunnyFit app:
a. From the “Workout” tab, press on the “Search” button to search for your equipment.
b. Once your equipment appears on the list, tap the “Select” button to confirm.
c. NOTE: If your equipment does not appear on the “Searching for Equipment” list, check the EXERCISE METER on your equipment to ensure that it is not in sleep mode and your phone’s Bluetooth function is on, then tap “Retry” to search again.
d. Once your equipment shows up on the “Workout” tab as “Currently Selected”, your equipment is now ready to display, track, and record your equipment’s workout stats on the app!
5. If you are unable to replicate these steps, or have any other issues with the SunnyFit app, please contact SunnyFit support at [email protected], or use the in-app “Contact Us” form to request support (“Me” tab -> “Contact Us”).
EXPLODED DIAGRAM 1


EXPLODED DIAGRAM 2


PARTS LIST



Read More About This Manual & Download PDF:



















