ROWING MACHINE
SF-RW1205
USER MANUAL

IMPORTANT! Please retain the owner’s manual for maintenance and adjustment instructions. Your satisfaction is very important to us, PLEASE DO NOT RETURN UNTIL YOU HAVE
CONTACTED US: [email protected] or 1- 877 – 90SUNNY (877-907- 8669).
IMPORTANT SAFETY INFORMATION
We thank you for choosing our product. To ensure your safety and health, please use this equipment correctly. It is important to read this entire manual before assembling and using the equipment. Safe and effective use can only be achieved if the equipment is assembled, maintained, and used properly. It is your responsibility to ensure that all users of the equipment are informed of all warnings and precautions.
- Before starting any exercise program, you should consult your physician to determine if you have any medical or physical conditions that could put your health and safety at risk or prevent you from using the equipment properly. Your physician’s advice is essential if you are taking medication that affects your heart rate, blood pressure, or cholesterol level.
- Be aware of your body’s signals. Incorrect or excessive exercise can damage your health. Stop exercising if you experience any of the following symptoms: pain, tightness in your chest, irregular heartbeat, shortness of breath, lightheadedness, dizziness, or nauseous feeling. If you do experience any of these conditions, you should consult your physician before continuing with your exercise program.
- Keep children and pets away from the equipment. The equipment is designed for adult use only.
- Use the equipment on a solid, flat-level surface with a protective cover for your floor or carpet. To ensure safety, the equipment should have at least 2 feet (60 cm) of free space all around it.
- Ensure that all nuts and bolts are securely tightened before using the equipment. The safety of the equipment can only be maintained if it is regularly examined for damage and/or wear and tear.
- Always use the equipment as indicated. If you find any defective components while assembling or checking the equipment, or if you hear any unusual noises coming from the equipment during exercise, discontinue use of the equipment immediately and do not use it until the problem has been rectified.
- Wear suitable clothing while using the equipment. Avoid wearing loose clothing that may become entangled in the equipment.
- Do not place fingers or objects into the moving parts of the equipment.
- The maximum weight capacity of this unit is 220 pounds (100 KG).
- The equipment is not suitable for therapeutic use.
- To avoid bodily injury and/ or damage to the product or property, proper lifting and moving are required.
- Your product is intended for use in cool and dry conditions. You should avoid storage in extreme cold, hot or damp areas as this may lead to corrosion and other related problems.
- This equipment is designed for indoor and home use only; it is not intended for commercial use.
EXPLODED DIAGRAM

HARDWARE PACKAGE

PARTS LIST
| No. | Description | Spec. | Qty. | No. | Description | Qty. | |
| 1 | Cap | 2 | 24 | Bearing | 6 | ||
| 2 | Sponge | 2 | 25 | Roller | 3 | ||
| 3 | Handlebar | 1 | 26 | Round Casing | 3 | ||
| 4 | Meter | 1 | 27 | Nut | M8 | 4 | |
| 5 | Bolt | M8 | 2 | 28 | Seat | 1 | |
| 6 | Washer | 2 | 29 | Seat Iron Sheet | 1 | ||
| 7 | Front Support Tube | 1 | 30 | Bolt | M6 | 4 | |
| 8 | Clip | 3 | 31 | Magnet | 1 | ||
| 9 | Hydraulic Cylinder | 1 | 32 | Bolt | M3.4 | 3 | |
| 10 | Bolt | M8 | 2 | 33 | Main Frame | 1 | |
| 11 | Washer | 2 | 34 | Sensor | 1 | ||
| 12 | Pedal | 2 | 35 | Cushion | 1 | ||
| 13 | Pedal Limit Casing | 2 | 36 | Adjustment Knob | 1 | ||
| 14 | Bolt | M6 | 1 | 37 | Bolt | M10 | 1 |
| 15 | Inner Cap | 1 | 38 | Rear Stabilizer | 1 | ||
| 16 | Nut | M6 | 1 | 39 | Bolt | M6 | 1 |
| 17 | Front Cap | 2 | 40 | Pedal Strap | 2 | ||
| 18 | Rear Cap | 2 | 41 | Bolt | M8 | 1 | |
| 19 | Bolt | M10 | 1 | 42 | Inner Cap | 1 | |
| 20 | Bearing Sleeve | 4 | 43 | Sensor Wire | 1 | ||
| 21 | Cushion | 1 | A | Allen Wrench | 1 | ||
| 22 | Nut | M10 | 2 | B | Spanner | 1 | |
| 23 | Bolt | M8 | 3 | 1 |
Please provide the following information in order for us to accurately identify the part(s) needed:
Please contact us at [email protected] or 1- 877 – 90SUNNY (877-907-8669).
ASSEMBLY INSTRUCTIONS
We value your experience using Sunny Health and Fitness products. For assistance with parts or troubleshooting, please contact us at [email protected] or 1-877-90SUNNY (877-9078669).
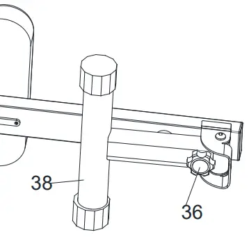
STEP 1:
Loosen and remove the Adjustment Knob (No. 36) and unfold the Rear Stabilizer (No. 38). Reinsert and tighten the Adjustment Knob (No. 36) to secure the Rear Stabilizer (No. 38) in place.
![]() | ![]() | ![]() |
STEP 2:
Attach the Hydraulic Cylinder (No. 9) to the bracket on the Front Support Tube (No. 7) using Bolt (No. 41) and Nut (No. 27). Secure and tighten with Allen Wrench No.
A) and Spanner (No. B).
![]() | ![]() | ![]() |
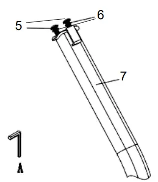
STEP 3:
Remove 2 Bolts (No. 5) and 2 Washers (No. 6) from Front Support Tube (No. 7) using Allen Wrench (No. A).
Place the Handlebar (No. 3) onto the Front Support Tube (No. 7) and secure using 2 Bolts (No. 5) and 2 Washers (No. 6) that were removed. Tighten and secure with Allen Wrench (No. A). Slide the Meter (No. 4) onto the bracket on the Front Support Tube (No. 7). Connect the link wire of Meter (No. 4) with the Sensor Wire (No. 43).
The assembly is complete!
ADJUSTMENTS & USAGE GUIDE
ADJUSTING THE TENSION
To adjust the tension level, turn the adjustment knob on the Hydraulic Cylinder (No. 9) to the desired level.
The tension levels range is from Level 1 to Level 12, with Level 1 being the lowest resistance.

ADJUSTING THE BALANCE
Before using your product, check the balance of the product to ensure that it is safe for use. Put the product on a flat, even surface. If you find that the product is slightly uneven, you can adjust the product to compensate for uneven ground. To do so, rotate the
Rear Caps (No. 18) on the Rear Stabilizer (No. 38) until they are even with the ground.

PEDAL STRAP ADJUSTMENT
The pedal strap is adjustable and can be personalized to fit the user’s foot size.

USAGE

EXERCISE COMPUTER
Our exercise computer on the Sunny Rowing Machine allows the user to tailor a personalized workout by monitoring their progress. During a workout, the exercise computer will alternately and repeatedly display your Time, Count, Calories, Total Count, and Scan (alternates all of the above). With our easy-to-use computer, the user can efficiently track their fitness improvements from one workout to the next.
FUNCTION KEY:
- MODE: To select your specification mode and/or turn on the exercise computer.

FUNCTIONS:
- SCAN: Repeatedly displays all functions alternately (in the following order).
- TIME: Counts the total time elapsed (counts up to 99:59 MIN).
- COUNT: Displays the total count from the start of the current workout (0-9999).
- CALORIES: The rate of calories burned per hour (0-9999 KCAL).
- TOTAL COUNT (T-CNT): Accumulates the total count from all your workouts.
BATTERIES
This meter uses 2 AA batteries, which are included. If the display appears incorrectly or becomes difficult to read, please install new batteries. Always change all batteries at the same time.
Do not mix battery types and do not mix old and new batteries. Dispose of old batteries according to your regional guidelines.
BATTERY INSTALLATION & REPLACEMENT

BATTERY INSTALLATION:
- Take out 2 AA batteries from the meter box.
- Press the buckle of the battery cover on the Meter (No. 4), then remove the battery cover.
- Install 2 AA batteries into the battery case on the back of the Meter (No. 4). Pay attention to the battery + and – poles before installing.
- Press the buckle of the battery cover, then put the battery cover back to the back of the Meter (No. 4).
The installation is complete!
Version: 2.3
CONNECT WITH US
FOR FITNESS ARTICLES, VIDEOS & WORKOUTS
https://sunnyhealthfitness.com/pages/sign-up
| @SUNNYHEALTHANDFITNESS | |
| @SUNNYHEALTHFITNESS | |
| @S U N NY HE ALT H FIT | |
| /SUNNYHEALTHFITNESS | |
| /SUNNYHEALTHANDFITNESS |

























