SUNNY SF-RW1205 Rowing Machine

IMPORTANT! Please retain owner’s manual for maintenance and adjustment instructions. Your satisfaction is very important to us, PLEASE DO NOT RETURN UNTIL YOU HAVE CONTACTED US: [email protected] or 1-877-90SUNNY (877-907-8669).

IMPORTANT SAFETY INFORMATION
We thank you for choosing our product. To ensure your safety and health, please use this equipment correctly. It is important to read this entire manual before assembling and using the equipment. Safe and effective use can only be achieved if the equipment is assembled, maintained and used properly. It is your responsibility to ensure that all users of the equipment are informed of all warnings and precautions.
- Before starting any exercise program, you should consult your physician to determine if you have any medical or physical conditions that could put your health and safety at risk or prevent you from using the equipment properly. Your physician’s advice is essential if you are taking medication that affects your heart rate, blood pressure or cholesterol level.
- Be aware of your body’s signals. Incorrect or excessive exercise can damage your health. Stop exercising if you experience any of the following symptoms: pain, tightness in your chest, irregular heartbeat, shortness of breath, lightheadedness, dizziness or feelings of nausea. If you do experience any of these conditions, you should consult your physician before continuing with your exercise program.
- Keep children and pets away from the equipment. The equipment is designed for adult use only.
- Use the equipment on a solid, flat level surface with a protective cover for your floor or carpet. To ensure safety, the equipment
should have at least 2 feet (60 cm) of free space all around it. - Ensure that all nuts and bolts are securely tightened before using the equipment. The safety of the equipment can only be maintained if it is regularly examined for damage and/or wear and tear.
- Always use the equipment as indicated. If you find any defective components while assembling or checking the equipment, or if
you hear any unusual noises coming from the equipment during exercise, discontinue use of the equipment immediately and do
not use until the problem has been rectified. - Wear suitable clothing while using the equipment. Avoid wearing loose clothing that may become entangled in the equipment.
- Do not place fingers or objects into the moving parts of the equipment.
- The maximum weight capacity of this unit is 220 pounds (100 KG).
- The equipment is not suitable for therapeutic use.
- To avoid bodily injury and/ or damage to the product or property, proper lifting and moving are required.
- Your product is intended for use in cool and dry conditions. You should avoid storage in extreme cold, hot or damp areas as this may lead to corrosion and other related problems.
- This equipment is designed for indoor and home use only; it is not intended for commercial use.
EXPLODED DIAGRAM

HARDWARE PACKAGE

PARTS LIST
| No. | Description | Spec. | Qty. |
| 1 | Cap | 2 | |
| 2 | Sponge | 2 | |
| 3 | Handlebar | 1 | |
| 4 | Meter | 1 | |
| 5 | Bolt | M8 | 2 |
| 6 | Washer | 2 | |
| 7 | Front Support Tube | 1 | |
| 8 | — | — | |
| 9 | Hydraulic Cylinder | 1 | |
| 10 | Bolt | M8 | 2 |
| 11 | Washer | 2 | |
| 12 | Pedal | 2 | |
| 13 | Spacer | 2 | |
| 14 | Bolt | M6 | 1 |
| 15 | Inner Cap | 1 | |
| 16 | Nut | M6 | 1 |
| 17 | Front Cap | 2 | |
| 18 | Rear Cap | 2 | |
| 19 | Bolt | M10 | 1 |
| 20 | Bearing Sleeve | 4 | |
| 21 | Cushion | 1 | |
| 22 | Nut | M10 | 2 |
| 23 | Bolt | M8 | 3 |
| 24 | Bearing | 6 | |
| 25 | Roller | 3 | |
| 26 | Casing Pipe for Idler Wheel | 3 | |
| 27 | Nut | M8 | 4 |
| 28 | Seat | 1 | |
| 29 | Seat Support | 1 | |
| 30 | Bolt | M6 | 4 |
| 31 | — | — | |
| 32 | — | — | |
| 33 | Main Frame | 1 | |
| 34 | — | — | |
| 35 | Cushion | 1 | |
| 36 | Adjustment Knob | 1 | |
| 37 | Bolt | M10 | 1 |
| 38 | Rear Stabilizer | 1 | |
| 39 | Bolt | M6 | 1 |
| 40 | Pedal Strap | 2 | |
| 41 | Bolt | M8 | 1 |
| 42 | Inner Cap | 1 | |
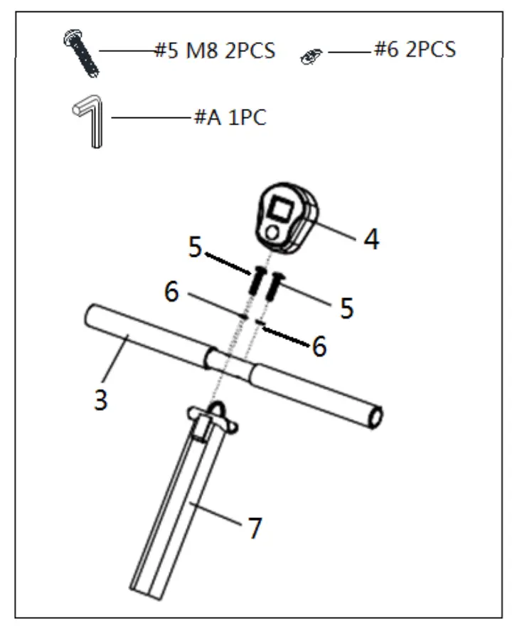
| A | Allen Wrench | 1 | |
| B | Spanner | 1 |
Ordering Replacement Parts (U.S. and Canadian Customers only)
Please provide the following information for us to accurately identify the part(s) needed:
- The model number (found on cover of manual)
- The product name (found on cover of manual)
- The part number found on the “EXPLODED DIAGRAM” and “PARTS LIST” (found near the front of the manual)
Please contact us at [email protected] or 1-877-90SUNNY (877-907-8669).
ASSEMBLY INSTRUCTIONS
We value your experience using Sunny Health and Fitness products. For assistance with parts or troubleshooting, please contact us at [email protected] or 1-877-90SUNNY (877- 907-8669)
STEP 1: Loosen and remove the Adjustment Knob (No. 36) and unfold the Rear Stabilizer (No. 38). Reinsert and tighten the Adjustment Knob (No. 36) to secure the Rear Stabilizer (No. 38) in place.


STEP 2: Attach the Hydraulic Cylinder (No. 9) to the bracket on the Front Support Tube (No. 7) using Bolt (No. 41) and Nut (No. 27). Secure and tighten with Allen Wrench (No. A) and Spanner (No. B).

WARNING!
The Hydraulic Cylinder (No. 9) on this rowing machine is designed to be used up to 20 minutes per exercise session. Allow at least 20 minutes in between sessions for the Hydraulic Cylinder (No. 9) to properly cool down.
Caution: The Hydraulic Cylinder (No. 9) can generate excessive heat after long periods of use, making it unsafe to touch. Allow the Hydraulic Cylinder (No. 9) to cool before moving the rowing machine.
We value your experience using Sunny Health and Fitness products. For assistance with parts or troubleshooting, please contact us at [email protected] or 1-877-90SUNNY (877- 907-8669).
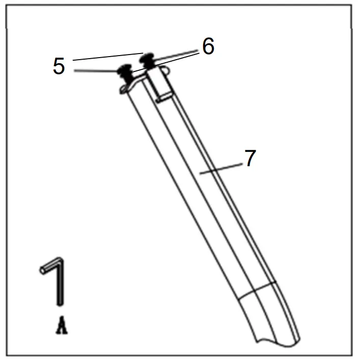
STEP 3: Remove 2 Bolts (No. 5) and 2 Washers (No. 6) from Front Support Tube (No. 7) using Allen Wrench (No. A). Place the Handlebar (No. 3) onto the Front Support Tube (No. 7) and secure using 2 Bolts (No. 5) and 2 Washers (No. 6) that were removed. Tighten and secure with Allen Wrench (No. A). Slide the Meter (No. 4) onto the bracket on the Front Support Tube (No. 7).

The assembly is complete!

BATTERY INSTALLATION & REPLACEMENT

BATTERY INSTALLATION:
- Take out 2 AA batteries from meter box.
- Press the buckle of battery cover on the Meter (No. 4), then remove battery cover.
- Install 2 AA batteries into the battery case on the back of the Meter (No. 4). Pay attention to the battery + and – poles before installing.
- Press the buckle of battery cover, then put the battery cover back to the back of the Meter (No. 4).
The installation is complete!
BATTERY REPLACEMENT:
- Press the buckle of battery cover on the back of the Meter (No. 4), then remove battery cover.
- Remove the 2 old AA batteries in the battery case and install 2 new AA batteries into the battery case on the back of the Meter (No. 4). Pay attention to the battery + and – poles before installing.
- Press the buckle of battery cover, then put the battery cover back to the back of the Meter (No. 4).
The replacement is complete!
ADJUSTMENTS & USAGE GUIDE
![]() | ADJUSTING THE TENSION To adjust the tension level, turn the adjustment knob on the Hydraulic Cylinder (No. 9) to the desired level. The tension levels range is from Level 1 to Level 12, with Level 1 being the lowest resistance. |
![]() | ADJUSTING THE BALANCE Before using your product, check the balance of the product to ensure that it is safe for use. Put the product on a flat, even surface. If you find that the product is slightly uneven, you can adjust the product to compensate for uneven ground. To do so, rotate the Rear Caps (No. 18) on the Rear Stabilizer (No. 38) until they are even with the ground. |
![]() | PEDAL STRAP ADJUSTMENT The pedal strap is adjustable and can be personalized to fit the user’s foot size. |
| USAGE
| |
EXERCISE METER
Our exercise meter on the Sunny Rowing Machine allows the user to tailor a personalized workout by monitoring their progress. During a workout, the exercise meter will alternately and repeatedly display your Time, Count, Calories, Total Count, and Scan (alternates all of the above). With our easy to-use meter, the user can efficiently track their fitness improvements from one workout to the next.
FUNCTION KEY:
MODE: To select your specification mode and/or turn on exercise meter.

FUNCTIONS:
- SCAN: Repeatedly displays all functions alternately.
- TIME: Counts the total time elapsed (counts up to 99:59 MIN).
- CNT (COUNT): Displays the total count from start of current workout (0-9999).
- CAL (CALORIES): The rate of calories burned per hour (0-9999 KCAL).
- TOT.CNT (TOTAL COUNT): Accumulates the total count from all your workouts.
BATTERIES This meter uses 2 AA batteries, which are included. If the display appears incorrectly or becomes difficult to read, please install new batteries. Always change all batteries at the same time. Do not mix battery types and do not mix old and new batteries. Dispose old batteries according to your regional guidelines.
CONNECT WITH US
FOR FITNESS ARTICLES, VIDEOS & WORKOUTS
![]() | ![]() | ||
![]() |



























