Contents hide
SIEMENS 948DISP96 Power Meter 9410

Product Information
- Product Name: 948DISP96 Remote Display
- Manufacturer: Siemens
- Model Number: 9410
- Dimensions: 21 mm x 29.8 mm x 30-32.5 mm
- Communication Connection: RS-485
- Environment: The display should be mounted on a flat surface inside a type 12 enclosure.
- Operation LEDs: Off, On, Flashing
Product Usage Instructions:
- Before working on the device or equipment, turn off all power supplying the device and the equipment in which it is installed.
- Always use a properly rated voltage-sensing device to confirm that all power is off.
- Connect the remote display using the provided connection cable to the DIN-mount meter connector.
- The display is powered by the meter connection.
- The display has an anti-rotation pin and a sealing gasket for secure and safe installation.
- The display shows information such as total demand delivered, date/time, revenue lock icon, alarm icon, and navigation icons.
- Use the navigation buttons to select, edit, and navigate through the display options.
- The display has operation LEDs that indicate the status of active alarms and communications to the display.
- Select COM1 Setup and edit the settings to match your RS-485 network as per your network administrator’s instructions for the meter.
WHAT’S IN THE BOX
Safety precautions
DANGER
HAZARD OF ELECTRIC SHOCK, EXPLOSION, OR ARC FLASH
- Apply appropriate personal protective equipment (PPE) and follow safe electrical work practices. See NFPA 70E in the USA or applicable local standards.
- Turn off all power supplying this device and the equipment in which it is installed before working on the device or equipment.
- Always use a properly rated voltage-sensing device to confirm that all power is off.
- Do not exceed the device’s ratings for maximum limits.
- Do not use displayed data as a substitute for proper workplace practices or equipment maintenance.
- Failure to follow these instructions will result in death or serious injury.
- Turn off all power supplying this device and the equipment in which it is installed before working on the device or equipment.
- Always use a properly rated voltage-sensing device to confirm that all power is off.
Dimensions
Anti-rotation pin
Round hole mounting
92 x 92 mounting
Method 1
Method 2
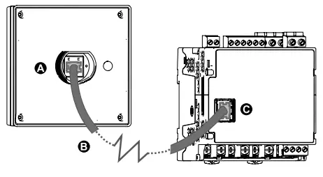
Wiring
- A) Remote display connector
- D) Connection cable (provided)
- C) DIN-mount meter connector
- Display power provided by meter connection
Description
- Display connection
- Anti-rotation pin
- Sealing gasket
- Display
- Date/time
- Revenue lock icon
- Alarm icon
- Navigation icons

- Navigation buttons
- Home button
- Alarm LED
- Status LED
Operation LEDs 

Meter basic setup
Default password = 0
Change the regional settings (if required)
- Press Home to access the main menu.
- Navigate to Setup Menu > Language Setup.
- Use the Edit buttons to change the language shown on the display.
Perform basic setup:
- Navigate to Setup Menu > Meter Setup.
- Edit the meter parameters to match your power system and electrical wiring.
Perform communications setup:
- Navigate to Setup Menu > Communications Setup.
- Select IP Address Setup and edit the IP parameters according to what your network administrator has assigned for the meter.
- Select COM1 Setup and edit the settings to match your RS-485 network.
Specifications
- Communication connection
- Cable type: CAT5/5e UTP (use unshielded cable only)
- Cable length: 100 m (330 ft) maximum
- Connection type: direct, point-to-point
Environment
- -25 to 60 °C ( -13 to 140 °F) operating temperature
- -40 to 85 °C (-40 to 185 °F) storage temperature
- 5% to 95% RH non-condensing
- Maximum dewpoint 37 °C (99 °F)
- Pollution degree 2
- Impact rating: IK08 (IEC 62262)
- < 3000 m (9843 ft) above sea level
- IP54
- For UL Type 12 applications, install display on a flat surface of a Type 12 enclosure.
- Not suitable for wet locations.
- For indoor use only.
Safety instructions
- Read these instructions carefully and look at the equipment to become familiar with the device before trying to install, operate, service or maintain it. The following special messages may appear throughout this bulletin or on the equipment to warn of potential hazards or to call attention to information that clarifies or simplifies a procedure.
- The addition of either symbol to a “Danger” or “Warning” safety label indicates that an electrical hazard exists which will result in personal injury if the instructions are not followed.
- This is the safety alert symbol. It is used to alert you to potential personal injury hazards. Obey all safety messages that follow this symbol to avoid possible injury or death.
DANGER
- indicates an imminently hazardous situation which, if not avoided, will result in death or serious injury.
- Electrical equipment should be installed, operated, serviced and maintained only by qualified personnel. No responsibility is assumed by Siemens Industry for any consequences arising out of the use of this material. A qualified person is one who has skills and knowledge related to the construction, installation, and operation of electrical equipment and has received safety training to recognize and avoid the hazards involved.
- ACCESS and Siemens Industry are trademarks or registered trademarks of Siemens Industry in France, the USA and other countries.
- This product must be installed, connected, and used in compliance with prevailing standards and/or installation regulations.
- If this product is used in a manner not specified by the manufacturer, the protection provided by the product may be impaired.
- The safety of any system incorporating this product is the responsibility of the assembler/installer of the system.
- As standards, specifications, and designs change from time to time, always ask for confirmation of the information given in this publication.
- Siemens Industry
- 5400 Triangle Parkway
- Norcross, GA 30092
- www.usa.siemens.com/pds
- NVE23947-03
- © 2016 Siemens Industry. All rights reserved.
- 01/2016


















![Itech Power Meter [it9121, It9121h, It9121c, It9121e] User Manual Itech Power Meter [it9121, It9121h, It9121c, It9121e] User Manual](https://static-data1.manualsee.com/1/img/72/17006/2020/12/iTech-Power-meter.jpg)







