SIEMENS 9410TC Power and Energy Meter

Product Information
The 9410TC is a power and energy meter manufactured by Siemens. The device can be mounted on a panel and comes with various options for modules that can be added to it. The device has a disconnect circuit mechanism that must be labeled clearly and installed within easy reach of the operator. The fuses or circuit breakers must be rated for the installation voltage and sized for the available fault current. The device has different modes of operation, including delta and wye modes. The device requires a fuse for the neutral terminal if the source neutral connection is not grounded.
Product Usage Instructions
- Before working on the device or equipment, turn off all power supplying this device and the equipment in which it is installed.
- Always use a properly rated voltage-sensing device to confirm that all power is off.
- If using an AC power supply with neutral, connect neutral to the meter’s L2 terminal. Always use a fuse on L1. Fuse L2 when connecting an ungrounded neutral to the control power.
- If using a control power transformer, fuse both the primary and secondary sides of the transformer.
- The device must be configured for specified volts mode.
- The device has different modes of operation, including delta and wye modes. Select the appropriate mode for your installation.
- The device has a disconnect circuit mechanism that must be labeled clearly and installed within easy reach of the operator.
- The fuses or circuit breakers must be rated for the installation voltage and sized for the available fault current.
- If you are adding option modules, note that they will increase the meter base dimensions.
WHAT’S INCLUDE

Safety
Safety precautions
DANGER HAZARD OF ELECTRIC SHOCK, EXPLOSION, OR ARC FLASH
- Apply appropriate personal protective equipment (PPE) and follow safe electrical work practices. See NFPA 70E in the USA or applicable local standards.
- Turn off all power supplying this device and the equipment in which it is installed before working on the device or equipment.
- Always use a properly rated voltage-sensing device to confirm that all power is off.
- Do not exceed the device’s ratings for maximum limits.
- Do not use this device for critical control or protection applications where human or equipment safety relies on the operation of the control circuit.
- Never short the secondary of a voltage transformer (VT).
- Never open circuit a current transformer (CT).
- Always use grounded external CTs for current inputs.
Failure to follow these instructions will result in death or serious injury.
- Turn off all power supplying this device and the equipment in which it is installed before working on the device or equipment.
- Always use a properly rated voltage-sensing device to confirm that all power is off.
Safety instructions
Read these instructions carefully and look at the equipment to become familiar with the device before trying to install, operate, service or maintain it. The following special messages may appear throughout this bulletin or on the equipment to warn of potential hazards or to call attention to information that clarifies or simplifies a procedure.
- The addition of either symbol to a “Danger” or “Warning” safety label indicates that an electrical hazard exists which will result in personal injury if the instructions are not followed.
- This is the safety alert symbol. It is used to alert you to potential personal injury hazards. Obey all safety messages that follow this symbol to avoid possible injury or death.
DANGER indicates an imminently hazardous situation which, if not avoided, will result in death or serious injury.
Electrical equipment should be installed, operated, serviced and maintained only by qualified personnel. No responsibility is assumed by Siemens Industry for any consequences arising out of the use of this material. A qualified person is one who has skills and knowledge related to the construction, installation, and operation of electrical equipment and has received safety training to recognize and avoid the hazards involved.
Dimensions

Adding option modules will increase meter base dimensions.
Mounting

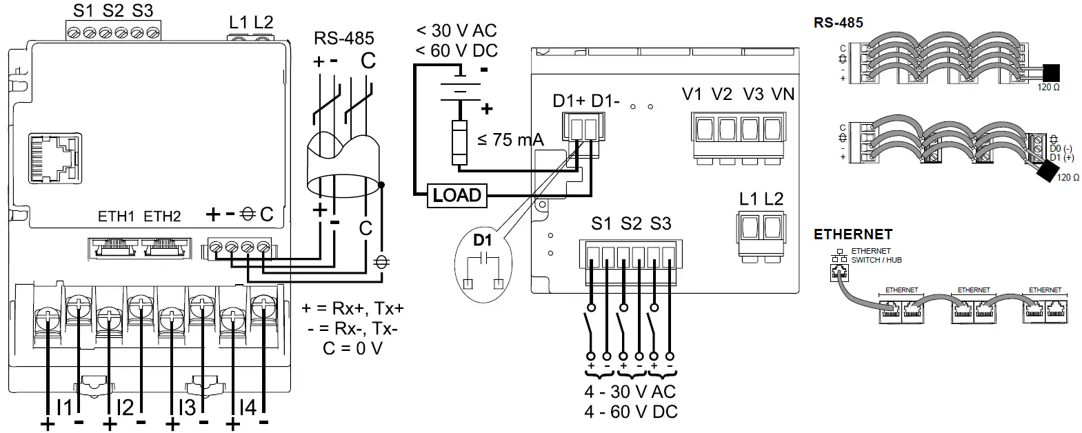
Wiring



- A. 2 A fuses and disconnect switch
- B. Shorting block
- C. VT primary fuses and disconnect switch
- Clearly label the device’s disconnect circuit mechanism and install it within easy reach of the operator.
- The fuses/circuit breakers must be rated for the installation voltage and sized for the available fault current.
- Fuse for neutral terminal is required if the source neutral connection is not grounded.
- Meter must be configured for specified volts mode.
Maximum voltage at terminals

3PH Voltage

3PH Current

1PH Voltage/Current
- Volts mode = Single

Control power

- 2 A fuses
- L1 and L2 are non-polarized. If using an AC power supply with neutral, connect neutral to the meter’s L2 terminal.
- Always use a fuse on L1. Fuse L2 when connecting an ungrounded neutral to the control power.
- If using a control power transformer, fuse both primary and secondary sides of the transformer.
- The fuses/circuit breakers must be rated for the installation voltage and sized for the available fault current.
Description

- A. Digital inputs
- B. Control power
- C. Voltage inputs
- D. Revenue lock LED
- E. Status LED
- F. Digital output
- G. Infrared energy pulsing LED
- H. Energy pulsing LED

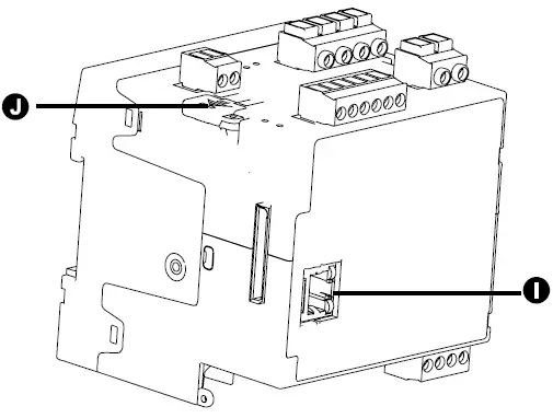
- I. Remote display connection
- J. Revenue lock switch

- K. RS-485
- L. Current inputs
- M. Ethernet (2)
Meter operation LEDs


Basic setup
Set up the Ethernet port:
- Disconnect your computer from the network. If your computer has wireless communications, make sure you disable the wireless network connection as well.
NOTE: When disconnected, your computer’s IP address should automatically update to default IP address 169.254.###.### (### = 0 to 255) and subnet mask 255.255.0.0. If your computer does not automatically update after several minutes, contact your network administrator to set up a static IP address. - Use an Ethernet cable to connect the computer to one of the meter’s Ethernet ports.
- Open a web browser and enter 169.254.0.10 in the address box.
- Login to the meter’s webpages (default Username = 8000, Password = 0).
- Click Setup > Ethernet.
- Modify the Ethernet setup parameters with the settings your system administrator assigned for the meter, then click Apply.
- Disconnect the computer from the meter and connect the meter’s Ethernet port to the network.
Perform basic setup:
- Login to the meter’s webpages (default Username = 8000, Password = 0)
- Click Setup > Metering.
- Edit the metering parameters to match your power system and electrical wiring then click Apply.
Verification
Use a web browser to connect to the meter. Navigate to the real-time data screens and verify that the meter readings are correct.
Specifications
Control power
- AC at 50/60 Hz ± 10%: 90 to 415 V ± 10%
- AC at 400 Hz: 90 to 120 V ± 10%
- DC: 120 to 300 V DC ± 10%
- Burden values for meter only
- AC burden at 45 to 65 Hz: max. 7.2 W / 18 VA at 415 V
- AC burden at 400 Hz: max. 4.5 W / 8 VA at 120 V
- DC burden: max. 6 W at 300 V DC
- Burden values for fully optioned meter
- AC burden at 45 to 65 Hz: max. 18 W / 36 VA at 415 V
- AC burden at 400 Hz: max. 18 W / 28 VA at 120 V
- DC burden: max. 17 W at 300 V DC
- Overvoltage category III
Voltage inputs
- Measured voltage: 57 to 400 V L-N / 100 to 690 V L-L (Wye) or 100 to 600 V L-L (Delta or Wye with unearthed neutral)
- Frequency: 50/60 Hz ± 15%, 400 Hz ± 10%
- Overload: 600 V L-N or 1035 V L-L
- Impedance: 5 MΩ
- Measurement category III
Current inputs
- Nominal 5 A (Class 0.2S) or 1 A (Class 0.5S)
- Measured current: 50 mA to 10 A
- Starting current: 5 mA
- Withstand: 20 A continuous, 50 A @ 10 sec/hr, 500 @ 1 sec/hr
- Impedance: 0.3 mΩ
- Burden: 0.024 VA at 10 A
Digital output
- Type: Form A
- Reference voltage: 40 V
- Maximum voltage: 30 V AC / 60 V DC
- Maximum current: 75 mA
Status inputs
- Type: Externally excited
- Reference voltage: 40 V
- Maximum voltage: 30 V AC / 60 V DC
- ON state: 4 to 30 V AC / 4 to 60 V DC
- OFF state: 0 to 1.7 V AC / 0 to 2.5 V DC
Ethernet
- Cable type: CAT5/5e UTP (use unshielded cable only)
Environment
- -25 to 70 °C (-13 to 158 °F) operating temperature
- 5% to 95% RH non-condensing
- Maximum dewpoint 37 °C (99 °F)
- -40 to 85 °C (-40 to 185 °F) storage temperature
- Pollution degree 2
- < 3000 m (9843 ft) above sea level
- IP30 (except connectors)
- Not suitable for wet locations
- For indoor use only
ACCESS and Siemens Industry are trademarks or registered trademarks of Siemens Industry in France, the USA and other countries.
- This product must be installed, connected and used in compliance with prevailing standards and/or installation regulations.
- If this product is used in a manner not specified by the manufacturer, the protection provided by the product may be impaired.
- The safety of any system incorporating this product is the responsibility of the assembler/installer of the system.
As standards, specifications and designs change from time to time, always ask for confirmation of the information given in this publication.
Siemens Industry
5400 Triangle Parkway
Norcross, GA 30092
www.usa.siemens.com/pds
NVE23495-01
© 2016 Siemens Industry. All rights reserved. 01/2016



















![Itech Power Meter [it9121, It9121h, It9121c, It9121e] User Manual Itech Power Meter [it9121, It9121h, It9121c, It9121e] User Manual](https://static-data1.manualsee.com/1/img/72/17006/2020/12/iTech-Power-meter.jpg)

