LZFSTL8WSN_2A
Installation / Use Manual
Original Instructions
Models: LZOOTL8WSS2KN
Description
Combination Refrigerated Drinking Fountain (Cooler) with bottle filling station delivers chilled, clean potable drinking water. Two-level water cooler houses the refrigeration and delivers a steady stream of water for direct drinking.
Ratings
- Electrical: 220-240 Vac, 50/60 Hz, (See Nameplate for Amperage), 1 phase
- Ambient Air Temperature: 50-89.6 °F (10-32 °C)
- Water Pressure: 20-105 psig (0.14-0.72 MPa)
- Maximum Water Temperature: 90 °F (32 °C)
- Refrigerant: R290
- Sound Pressure level (A-weighted): < 70 dBA
- Ingress Protection: IP20
- For Indoor Commercial Use only
- Water Inlet: 3/8” (10mm) O.D. unplated copper tube
- Waste Water Outlet: 1-1/2” (13mm) and 1-1/4” (19mm) O.D. tube
Definitions
DANGER – Indicates death or serious injury will result if proper precautions are not taken.
WARNING – Indicates death, serious injury or property damage can result if proper precautions are not taken.
CAUTION – Indicates some injury or property damage may result if proper precautions are not taken.
Authorized Service Personnel – Factory trained personnel or personnel having working knowledge of electrical, plumbing and machine (appliance) maintenance procedures. Service personnel must have specialized training for flammable refrigerants.
Safety
DANGER
- Please read these instructions completely before starting the installation or performing any service. Failure to follow the instructions and safety precautions in this manual can result in serious injury or death.
- After installation, keep these instructions in a safe location for future reference.
- Electric supply must be identical in voltage, cycle, and phase to that specified on nameplate.
- Electrical supply may require Ground Fault Circuit Interrupter (GFCI) protection. Consult specific application and local codes.
- A means for disconnecting electrical supply to the unit must be incorporated in the fixed wiring in accordance with wiring rules. This is to allow electrical disconnection of the unit from electrical supply after installation.
WARNING
- Keep clear of obstructing all ventilation openings in the appliance enclosure or in the structure for building-in.
- Place in a well ventilated area to prevent accumulation of refrigerant.
- No open flame or sparks during service or repair.
- For use with clean, clear potable drinking water only. Do not use with water that is microbiologically unsafe or of unknown quality without adequate disinfection before the system.
- Installation and connection to water and electrical mains must be in compliance with local and national laws.
- All Installation and Service work must be performed by trained / authorized service personnel.
Notice: Coolers that use flammable refrigerants, such as R-600a (isobutane), R-290 (propane) will be marked with a specific symbol that notifies the servicer of the presence of these refrigerants. A service provider should review this marking and follow all instructions from the original equipment manufacturer.
CAUTION
- This appliance can be used by children aged from 8 years and above and persons with reduced physical, sensory, or mental capabilities or lack of experience and knowledge if they have been given supervision or instructions concerning use of the appliance in a safe way and understand the hazards involved. Children shall not play with the appliance. Cleaning and user maintenance shall not be made by children without supervision.
- To prevent a metallic taste or increased metal content in the water due to an electrolysis process caused by electrical feedback from the grounding of electrical equipment to water supply and water waste mains, connect to these mains using non-conductive materials. The provided filter meets this requirement.
Installation
For correct and safe installation, please read these instructions completely.
DANGER
- All Installation work must be performed by an authorized service person.
- Disconnect electrical supply serving the Installation area to reduce risk of electrocution. Do not puncture the refrigerant tube.
- Unit not suitable for installations where water jets could be used.
WARNING
- Shut off water supply serving the Installation area to reduce risk of water damage.
- Ensure proper ventilation by maintaining clearance from cabinet louvers to wall on each side of Cooler as specified in Rough-In.
- Never wire compressor directly to electrical supply.
- Thoroughly flush all water lines and fittings of all foreign matter before connecting to Cooler.
- Warranty is void if Installation is not made in accordance with current Manufacturing instructions.
CAUTION
- Hose-sets are not to be used for connecting to water mains.
- If inlet pressure is above 105 psig (0.72 MPa), a pressure regulator must be installed in water supply line. Any damage caused by reason of connecting this product to water supply line pressure outside it’s rated pressure, is not covered by warranty.
- Tools/Items required but not provided. Tools must be compatible with flammable refrigerant.
- Water Shut-off Valve with 3/8” (9.5mm) compression outlet.
- Waste Trap (non-metallic)
- Safety Glasses
- Protective Gloves
- 5/16” (8mm) Hex Socket or Flathead Screwdriver
- 5/32” (4mm) Hex Key
- Fasteners for wall type
- Flammable gas monitor
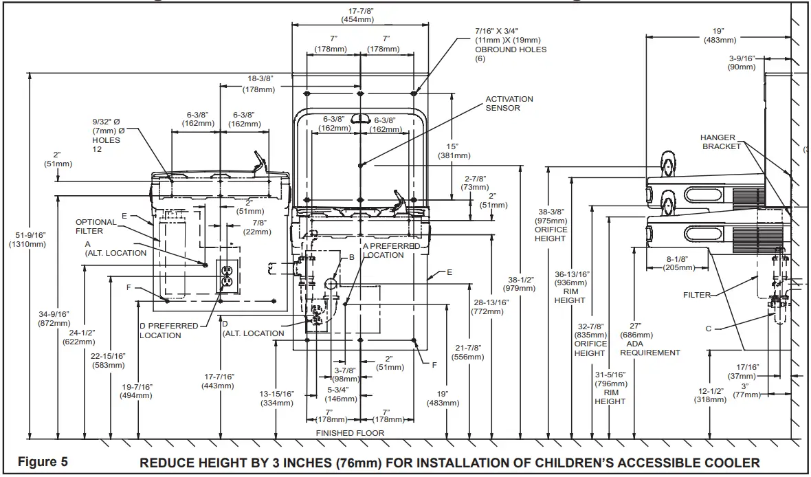
Installation: Cooler Mounting
- Remove Hanger Bracket (Item 1) fastened to back of cooler by removing one (1) screw.
- Mount Hanger Bracket as shown in Figure 5, 6, 7, or 8.
• NOTE: Hanger Bracket MUST be supported securely. Add fixture support carrier if wall will not provide adequate support. Anchor hanger securely to wall using all six (6) 9/32” (7mm) diameter mounting holes. - Hang Cooler on the Hanger Bracket. Be certain the Hanger Bracket is engaged properly in the slots on the cooler back as shown in Figure 5, 6, 7, or 8.
- Remove the four (4) screws holding the lower front panel at the bottom of cooler. Remove the front panel by pulling straight down and set aside.
Installation: Water Line connection
- Ensure Mains Water Supply has Water Shut-off Valve with 3/8” (10mm) compression outlet.
- Connect loose end of supplied 3/8” (9.5mm) unplated copper tube to Water Shut-off Valve. Other end of tube should be connected to inlet of Filter head. If not connected, simply insert into inlet fitting on Filter head until positive stop – approximately ¾” (19mm).
• NOTE: If 3/8” (9.5mm) copper tube must be cut for proper fit, remove all burrs from the outside of tube and re-flush before use. - Install filter cartridge. Remove filter from carton, remove protective cap, and attach filter to filter head by firmly inserting into head and rotating filter clockwise.
• IMPORTANT: DO NOT TURN ON WATER BEFORE INSTALLING BOTTLE FILLER
Installation: Waste Line connection
- Install waste trap. Remove the slip nut and gasket from the waste trap and install them on the cooler waste line making sure that the end of the waste line fits into the waste trap. Assemble the slip nut and gasket to the waste trap and tighten securely.
• IMPORTANT: If it is necessary to cut the drain, loosen the screw at the black rubber boot and remove tube, check for leaks after reassembly - It is recommended that the waste trap be insulated to avoid excessive condensation due to chilled water running through the waste trap.
Installation: Bottle Filler
- Remove two (2) mounting screws holding top cover to bottle filler with a 5/32” (4mm) Hex Key (See Figure 2). Remove top cover. Note: Do not discard mounting screws; they will be needed to re-install top cover.
- Remove wall mounting plate from bottle filler. Place wall plate against wall on top of basin. Center the wall plate side to side with the basin. Mark the six (6) mounting holes with a pencil. See Figure 5, 6, 7, or 8.
- Remove the wall mounting plate from wall. Note: Mounting plate MUST be supported securely. Add fixture support carrier if wall will not provide adequate support.
- Install wall mounting plate to wall using six (6) 7/16”(11.1mm) obround mounting holes (mounting bolts not provided). See Figure 1.
Use appropriate fasteners for your wall type. - Feed the modular (C-13) end of International Power Cord and 3/8” (9.5mm) water line through hole in tower/basin gasket. See Figure 3.
- Install gasket on bottom of bottle filler tower with gasket support bracket and (2) screws. See Figure 4.
- Feed modular (C-13) end of International Power Cord (not provided) Set up through basin hole and hole in gasket. Connect to Power Inlet on Bottle Filler. Do not plug into electrical outlet.
- Lay Bottle Filler on water cooler basin and cut insulation from tube even with bottom of gasket, remove this insulation from the 3/8” tube, but do not discard. Feed the waterline through the hole on top of water cooler. NOTE: To prevent scratching the basin, place a towel or soft cloth over the entire basin when working above it.
- With the power cord and waterline through the hole on top of water cooler place bottle filler on three (3) angled tabs protruding from the wall mounting plate installed on wall. Make sure round boss in gasket fits in hole of basin. See Figure 11.
- Once bottle filler is installed on wall plate tabs, waterline, wires, and power cord are installed properly, push top of bottle filler toward wall and line up two (2) holes on top cover.
- Re-install top cover on bottle filler (See Figure 2) with two (2) mounting screws from step 1 above. Caution: Do not over tighten screws.
- Install remaining tube insulation to the water line from bottle filler, connect bottle filler waterline inside of the water cooler by connecting the 3/8” (9.5mm) waterline to the tee.

Installation: Electrical connection
- Connect modular (C-13) end of International Power Cord Set (sold separately) into power inlet on both fountains and bottler filler. Ensure plug-end reaches electrical outlet. Do not plug into electrical outlet!
Operation: Start-Up
- Turn on the building water supply and check all connections for leaks. Fix any leaks before proceeding.
- Connect plug-end of International Power Cord Set (sold separately) into electrical outlet.
WARNING: Exposed electrically energized components. Use extreme caution. - After power has been applied, wait for the Green LED to illuminate, showing good filter status. Wait for LCD screen to display bottle count.
- Purge air from all water lines by depressing push bars on each fountain one at a time. Place a cup, hand, or other opaque object in front of sensor area on bottle filler and purge air from waterline. Note: Initial activation may sputter due to air in water lines.
- Re-check all water and drain connections with water flowing through system.
- After verifying that the water cooler is properly connected and operational, replace and reattach the cooler lower front panels by retightening screws.

Standard Rough-In: LZOOTL8WSS2KN- Left hand high, bottle filler low

Alternate Rough-In: LZOOTL8WSS2KN – Right hand high, bottle filler low Requires Basin Assembly Change: See Pages 8-11 for instructions.

LEGEND
A = Water Mains Supply, 3/8” (10mm) O.D. compression outlet of Shut-off Valve (not provided) to be 3” (76mm) from Wall.
B = Waste Outlet, 1-1/2” (13mm) O.D. Drain Tube terminating 2” (51mm) maximum from Wall.
C = 1-1/2” (13mm) 1trap (not provided).
D = Unit equipped with IEC C14 socket. Cord not provided. Electrical outlet per local code.
E = Ensure proper ventilation by maintaining 6” (152mm) minimum clearance from cabinet louvers to wall.
F = 7/16” (11mm) Bolt holes for fastening unit to wall.
Alternate Rough-In: LZOOTL8WSS2KN Right hand high, bottle filler high

Alternate Rough-In: LZOOTL8WSS2KN Right hand high, bottle filler low Requires Basin Assembly Change: See Pages 8-11 for instructions.

LEGEND
A = Water Mains Supply, 3/8” (10mm) O.D. compression outlet of Shut-off Valve (not provided) to be 3” (76mm) from Wall.
B = Waste Outlet, 1-1/2” (13mm) O.D. Drain Tube terminating 2” (51mm) maximum from Wall.
C = 1-1/2” (13mm) trap (not provided).
D = Unit equipped with IEC C14 socket. Cord not provided. Electrical outlet per local code.
E = Ensure proper ventilation by maintaining 6” (152mm) minimum clearance from cabinet louvers to wall.
F = 7/16” (11mm) Bolt holes for fastening unit to wall.
BF12 PROGRAM SETTING THE CONTROL BOARD
VERIFY CONTROL BOARD SOFTWARE
- To verify the software program of the control board the unit will need to be shut down and restarted. The chiller (if present) does not need to be shut down and restarted.
- The unit`s lower panel must be open to access the power cord and wall outlet.
- Shut down the unit by unplugging the power cord from the wall outlet.
- Restart the unit by plugging the power cord back into the wall outlet.
- Upon start up, the bottle count display will show the software designation of BF12.
ACCESSING THE PROGRAMMING BUTTON
- To access the program button, remove the top cover of the bottle- filler. Remove the two (2) screws holding top cover to bottle-filler with a 5/32”(4mm) allen wrench. Remove top cover. Do not discard mounting screws, they will be needed to reinstall the top cove after programming operations are completed. The programming button is located at the top right side of the unit on the control board.
RESET THE FILTER MONITOR
- Instructions apply to filtered units only.
- Depress the program button for approximately 2 seconds until the display changes then release. The display will change and scroll through two messages: “RST FLTR” – Reset Filter Monitor “SETTINGS” – System Settings Sub Menu If the program button is not pushed again the display will scroll through the two messages above for three cycles and then default back to bottle count and be back in run mode.
- When the display changes to “RST FLTR”, depress the button again. The display will change to show “FLTR =”. Depress the button again and the display will show “FLTR =0”
- The Green LED should be illuminated indicating that the visual filter monitor has been reset.
SETTING RANGE OF THE IR SENSOR WHERE APPLICABLE
- Depress the program button for approximately 2 seconds until the display changes then release. The display will change and scroll through two messages:
“RST FLTR” – Reset Filter Status LED
“SETTINGS” – System Settings Sub Menu
If the program button is not pushed again the display will scroll through the two messages above for three cycles and then default back to bottle count and be back in run mode. - When the display changes to “SETTINGS”, depress the button again. The display will change to show
“RNG SET” – Range set for IR sensor.
“UNIT TYP” – Type of unit (REFRIG or NON-RFRG)
“FLT SIZE” – Select filter capacity
“RST BCNT” – Reset bottle count - When display shows “RNG SET” push program button once the display will show current value (can be 1 – 10) e.g. “RNG = 3”.
- Once display shows current value push the program button to scroll through value of 1 – 10. Select the desired range setting, “1” being closest to sensor and “10” being farthest away.
- Once range is selected allow approximately 4 seconds to pass and then the display will go back to bottle counter and be in run mode.
- Test bottle filler by placing bottle or hand in front of sensor to make sure water is dispensed.
SETTING UNIT TYPE
- Depress the program button for approximately 2 seconds until the display changes then release. The display will change and scroll through two messages:
“RST FLTR” – Reset Filter Status LED
“SETTINGS” – System Settings Sub Menu
If the program button is not pushed again the display will scroll through the two messages above for three cycles and then default back to bottle count and be back in run mode.
Continued from below: - When the display changes to “SETTINGS”, depress the button again.
The display will change to show
“RNG SET” – Range set for IR sensor.
“UNIT TYP” – Type of unit (REFRIG or NON-RFRG)
“FLT SIZE” – Select filter capacity
“RST BCNT” – Reset bottle count - When display shows “UNIT TYPE” push program button once the display will show current value. Can be REFRIG or NON-RFRG
- Push button once to change value. Once value is selected the display will show the new value. (Can be REFRIG or NON-RFRG) “REFRIG“ – stands for refrigerated product. In this setting the flow rate is estimated at 1.0 gallon per minute (3.8 lpm). “NON-RFRG“ – stands for nonrefrigerated product. In this setting the flow rate is estimated at 1.5 gallons per minute (5.7 lpm). Both “REFRIG“ and “NON-RFRG“ simulate 1 bottle equal to 20 oz (590 ml).
- Allow approximately 4 seconds to pass and the display will return to bottle counter and be in run mode.
RESETTING BOTTLE COUNT
NOTE: Once the bottle count is reset to zero there is no way to return to the previous bottle count.
- Depress the program button for approximately 2 seconds until the display changes then release. The display will change and scroll through two messages:
“RST FLTR” – Reset Filter Status LED
“SETTINGS” – System Settings Sub Menu
If the program button is not pushed again the display will scroll through the two messages above for three cycles and then default back to bottle count and be back in run mode. - When the display changes to “SETTINGS”, depress the button again.
The display will change to show:
“RNG SET”- Range set for IR sensor.
“UNIT TYP” – Type of unit (REFRIG or NON-RFRG)
“FLT SIZE” – Select filter capacity
“RST BCNT” – Reset bottle count
If the button is not pushed again the display will scroll through the four messages above for three cycles and return to run mode. - When display shows “RST BCNT” push program button once the display will show current value, e.g. “0033183”.
- Once display shows current value push the program button once more to reset back to 0. The display will show BTLCT = 0 for approximately 2 seconds and then return to run mode showing 00000000 bottles.
- Testing the bottle counter:
REFRIG units: Place bottle or hand in front of sensor for approximately 9 seconds to see bottle counter count 00000001, (This is based on filling a 20 oz (590 ml) bottle).
NON-RFRG units: Place bottle or hand in front of sensor for approximately 6 seconds to see bottle counter count 00000001, (This is based on filling a 20 oz (590 ml) bottle).
SETTING FILTER CAPACITY
- Depress the program button for approximately 2 seconds until the display changes then release. The display will change and scroll through two messages:
“RST FLTR” – Reset Filter Status LED
“SETTINGS” – System Settings Sub Menu
If the program button is not pushed again the display will scroll through the two messages above for three cycles and then default back to bottle count and be back in run mode. - When the display changes to “SETTINGS”, depress the button again.
The display will change to show:
“RNG SET“- Range set for IR sensor.
“UNIT TYP“ – Type of unit (REFRIG or NON-RFRG)
“FLT SIZE” – Select filter capacity
“RST BCNT“ – Reset bottle count
If the button is not pushed again the display will scroll through the four messages above for three cycles and return to run mode. - When display shows “FLT SIZE” push program button once. The display will show current value. Can be 3000GAL or 6000GAL.
- Push program button again to display the desired “FLT SIZE”.
- Allow approximately 4 seconds to pass and the display will return to bottle counter and be in run mode.
Service
For proper and safe servicing, please read these instructions completely.
DANGER
- All Service and Maintenance must be performed by authorized service person.
Service Technician must have specialized training before servicing systems containing flammable refrigerants.
Personnel who have not received certification for completing the Hydrocarbon Training Program and passed the examination, or received equivalent training and certification, shall not service any system containing flammable refrigerants. - Disconnect electrical supply to the unit before any service work to reduce risk of electrocution.
- Shut off water supply serving the unit before any service work to reduce risk of water damage.
CAUTION
- To prevent scratching the basin, place a towel or soft cloth over the entire basin when working above it.
- Do not puncture tubing.
- No open flame or sparks during servicing or repair.
- Repair and Disposal must be carried out by trained service personnel.
- Place in a well ventilated area to prevent accumulation of refrigerant.
- Tools/Items required but not provided, for Servicing:
- Safety Glasses
- Flat blade Screwdriver
- Protective gloves
- 5/16” (8mm) Hex Socket or Flathead Screwdriver
- 5/32” (4mm) Hex Key
Service: Adjustments
- Temperature Control: Factory set for 50ºF ± 5º (10ºC ± 2.8º) water under normal conditions. To adjust water temperature, turn screw on Item No. 13 clockwise for colder, counter clockwise for warmer.
- Water Stream Height: Stream height is factory set at 35 psig (2.4 bar). If supply pressure varies greatly from this, adjust screw located on the right knee clearance area side at bottom of the switch shroud. Clockwise adjustment will raise stream and Counterclockwise adjustment will lower stream. For best adjustment, stream should hit basin approximately 6-1/2” (165mm) from bubbler on the downward slope of the basin.
See Figure 9.
NOTE: If water does not flow or flows sporadically after a refrigeration cycle, turn the cold control counterclockwise ¼ turn. - Water coming out of Bubbler continuously: Check the solenoid valve and electric eye sensor. For cooler with press bars, see Cooler Manual-Water Valve Mechanism-Adjustment Procedure.
- Cooler Sensor Range Adjustment: The electronic sensor used in this cooler is factory pre-set for a “visual” range of 36 inches (914 mm). If actual range varies greatly from this or a different setting is desired, follow the range adjustment procedure below:
– Using a small tip screwdriver, locate range adjustment screw through the small hole between the sensor lenses. Turn this screw clockwise to increase range and counterclockwise to decrease range.
CAUTION
Complete range of sensor (24-46 inches/610-1168mm) is only one turn of the adjusting screw. - Sensor Control: If sensor fails to operate valve mechanism or operates erratically, check the following:
– Ensure there are no obstructions within a 40 inch (1016mm) radius in front of cooler.
– Check wire connections at the solenoid valve and sensor.
CAUTION
Make sure unit is unplugged before checking any wiring.
– Ensure proper operation of solenoid valve. If there is an audible clicking sound yet no water flows, look for an obstruction in the valve itself or elsewhere in the water supply line.
Service: Inspection/Cleaning
• Inspect Cooler twice each year for proper operation and performance.
• Inspection of the unit will require disconnecting electrical supply, removal of panels, etc. and reassembly and return to service practices.
- Cleaning: Warm, soapy water or mild household cleaning products can be used to clean the exterior panels. Extra caution should be used to clean the mirror finished stainless steel panels. They can be easily scratched and should only be cleaned with mild soap and water or Windex glass cleaner and a clean, soft cloth. Use of harsh chemicals or petroleum based or abrasive cleaners will void the warranty.
- Bubbler: Mineral deposits on the orifice can cause water flow to spurt or not regulate. Mineral deposits may be removed from the orifice with a small round file not over 1/8” (3 mm) diameter or small diameter wire.
• CAUTION: DO NOT file or cut orifice material. Care must be taken not to damage the orifice(s) - Condenser Fan Motor: Confirm condenser fan turns freely. If the condenser fan does not spin freely, have an authorized service person replace.
- Ventilation: Cabinet louvers and condenser fins should be periodically cleaned with a brush, air hose or vacuum cleaner. Cleaning should be done twice each year or more frequently if needed due to environment. Excess dirt or poor ventilation can cause no cold water and compressor cycling on the compressor overload protector.
- Water Flow: Confirm proper water flow. If water flow is slow, inspect filter or inline strainer for restriction. Replace filter cartridge if required.
Disassemble inline strainer and clean if required. - Lubrication: Motors are lifetime lubricated.
- Actuation of Quick Connect Water Fittings: Cooler is provided with lead-free connectors which utilize o-ring water seal. To remove tubing from the fitting, relieve water pressure, push in on the gray collar before pulling on the tubing. To insert tubing, push tube straight into fitting until it reaches a positive stop, approximately 3/4” (19mm). See Figure 10.
Service: Inspection/Replacement
- Inspect Cooler twice each year for proper operation and performance.
- Inspection of the unit will require disconnecting electrical supply, removal of panels, etc. and reassembly and return to service practices.
- Lower Front Panel and Upper Shroud: To access the refrigeration system and plumbing connections, remove four (4) screws from bottom of cooler to remove the lower front panel. To remove the upper shroud (Item 6) for access to the sensors, regulator, solenoid valve or other components located in the top of the unit, remove lower panel, disconnect drain, remove four screws from tabs along lower edge of upper shroud, unplug two wires and water tube.
- Bubbler: To remove the bubbler, first disconnect the electrical supply. The underside of the bubbler can be reached through the access panel on the underside of the upper shroud. Remove the access panel by removing the retaining screw. To remove the bubbler, loosen locknut from the underside of the bubbler and remove the tubing from the quick connect fitting (see Figure 10). When installing replacement bubbler and pedestal, tighten nut only to hold parts snug in position while ensuring the locator in the basin is in the detent of the bubbler. Do Not Overtighten. After servicing, replace the lower front panel and four (4) screws.
- Cleaning In-Line Strainer (Non-filtered units only):Unscrew the cap of the Inline strainer. Remove screen and rinse thoroughly with water.
Insert screen back into In-Line Strainer and screw cap on. Make sure the o-ring is placed properly.

INSTRUCTIONS TO MOVE THE BOTTLE FILLER & BASIN
TO THE LEFT SIDE (NON-REFRIGERATED) FOR ALTERNATE MOUNTING VERSATILE BI-LEVEL
WARNING:
Disconnect electrical power.
INSTRUCTIONS CONTINUED…..


Precautions need to be taken when replacing the Basin/shroud assembly:
- Make sure all wires are inside frames so as not to become pinched.
- Water line coming from bottle fillter drain must be pulled down as not to interfere with the fan operation. The fan blade needs to spin freely..
Using a #T20 (6 point star bit), tighten the shroud screws.
Both sides, both coolers, being careful not to overtighten.
INSTALL WRAPPERS & TRIM STRIPS PER PAGE 11
SEE PAGE 12 FOR PLUMBING DIAGRAMS
Versatile Wrapper and Trim Kit Installation Instructions
Left Hand Wrapper (High Side)
- Remove existing wrapper by removing the (4) screws from bottom.
- Screw trim piece to wrapper with (2) screws (provided)
- Re-install wrapper with (4) screws.
- Dispose of unused cover plate.

Right Hand Wrapper (Low Side)
- Remove existing wrapper by removing the (4) screws from bottom.
- Clip cover plate, sliding until plate sits flush with the wall.
- Re-install wrapper with (4) screws.
- Dispose of unused trim piece.
Left Hand Wrapper (Low Side)
- Remove existing wrapper by removing the (4) screws from bottom.
- Clip cover plate, sliding until plate sits flush with the wall.
- Re-install wrapper with (4) screws.
- Dispose of unused trim piece.

Right Hand Wrapper (High Side)
- Remove existing wrapper by removing the (4) screws from bottom.
- Screw trim piece to wrapper with (2) screws (provided)
- Re-install wrapper with (4) screws.
- Dispose of unused cover plate.
PLUMBING DIAGRAMS VERSATILE BI-LEVEL

PLUMBING DIAGRAMS FOR LZ BI-LEVEL COOLERS
Standard LZ Bi-Level Pressurized Plumbing Diagram
LZ Bi-Level Plumbing Diagram after Filter Installation & Bottle Filler Water Line Addition
OPERATION OF QUICK CONNECT FITTINGS

WATERSENTRY® Filter Detail
WATERSENTRY® FILTER PARTS LIST
| ITEM NO. | PART NO. | DESCRIPTION |
| 1 | 51300C | Filter Assy-3000 Gal. |
| 2 | 0000000895 | Assy-Filter & Bracket includes Filter Head/Mounting Bracket/John Guest Fittings/Screws |


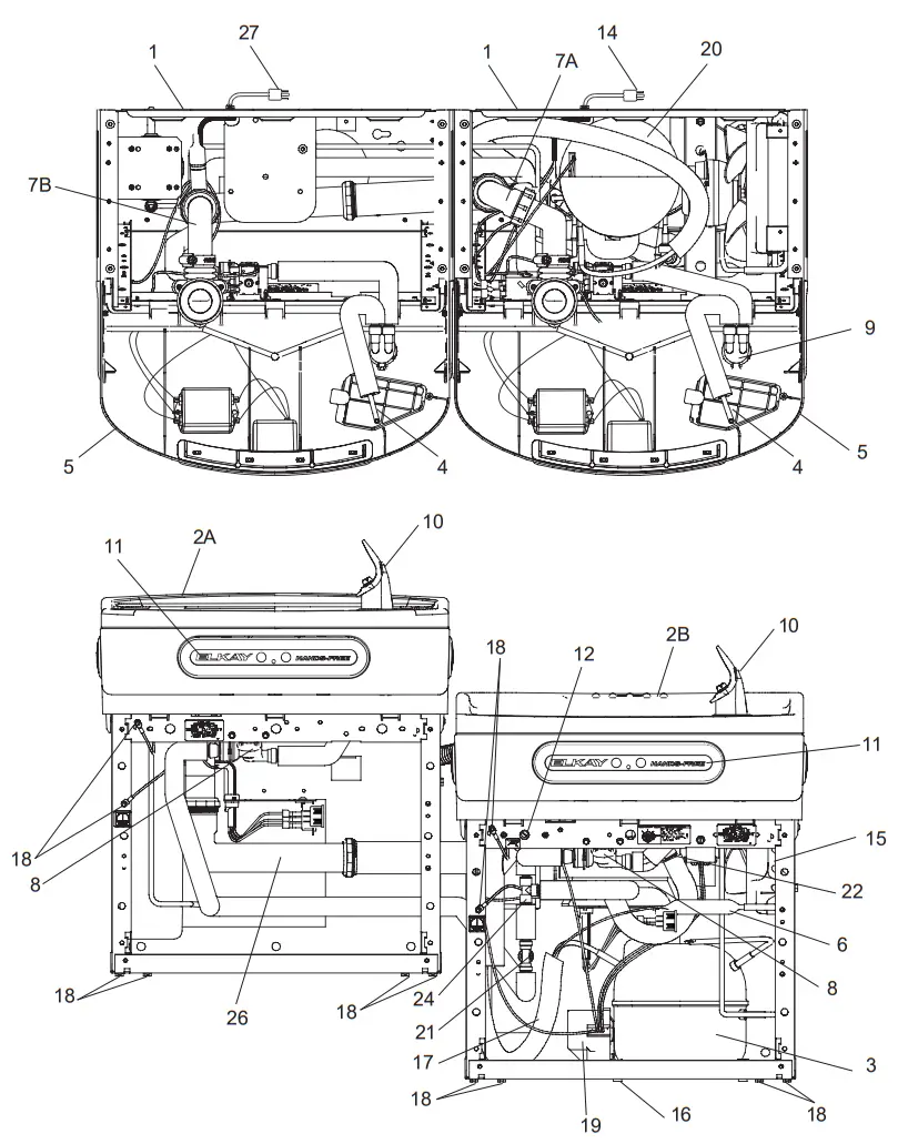
Replacement Parts: 230V Parts List
| ITEM NO. | PART NO. | DESCRIPTION |
| 1 | 28401C | Hanger Bracket |
| 2A | 55001109 | Basin – Stainless Steel |
| 2B | 1337 | Basin – Stainless Steel (BF) |
| 3 | 2000000453 | Compressor Serv. Pak |
| *4 | 55994C | Tube – Poly (Cut To Length) |
| 5 | 56228C | Assy – Shroud – Upper (Front Side Push) |
| 6 | 66703C | Drier |
| 7A | 1000004984 | Kit – Drain Replacement EZTL8 (Brkt, Tube, Ftg, Clamp) |
| 7B | 97969C | Kit – Drain Replacement EZTLD (BF) (Brkt, Tube, Ftg, Clamp) |
| 8 | 1000004575 | Kit – Solenoid Valve/Regulator Assy |
| 9 | 1000004564 | Kit – Regulator w/Holder & Nut |
| 10 | 56073C | Kit – Flexi Bubbler/“O”-Ring/Nut |
| 11 | 56079C | Push Front (EE) |
| 12 | 1100000005 | Kit – Cold Control/Screws |
| 13 | 36066C | Internal Power Cord |
| 14 | 245 | Kit – Fan Motor Assy/Blade/Motor/Shroud/Screws/Nut |
| 15 | 98776C | Kit – Condenser/Drier |
| 16 | 98777C | Kit- Compr Mtg Hdwe/Grommets/Clips/Studs |
| 17 | 1100000003 | Kit – Heatx/Drier |
| 18 | 98898C | Kit – Hardware (EZ) |
| 19 | 1100000004 | Kit – Relay/Cvr/Overload |
| 20 | 98724C | Kit – Evaporator Assembly |
| 21 | 1000002062 | Kit – Tee 1/4” x 1/4” x 3/8” (3 Pack) |
| 22 | 1000001602 | Kit – 75583C Elbow 5/16” x 1/4” (3 Pack) |
| 23 | 1339 | Ferrule – Drain (BF) |
| 24 | 1000001994 | Kit – 70682C 1/4” Tee (3 Pack) |
| 25 | 1000001812 | Kit – Bottle Filler Drain |
| 26 | 1000004447 | Wasteline Drain Assy |
| 27 | 36067C | Internal Power Cord Non-Refrigerated |
| 28 | 1000001791 | Kit – VR Bubbler Nipple & Gaskets |
| 29 | 97446C | Kit – VR Bubbler |
| NS | 35826C | Inlet Power |
| NS | 1000000888 | Kit – EZTL Wrapper/Serv Label – Stainless (R) |
| NS | 1000000944 | Kit – EZTL Wrapper/Serv Label – Light Grey (R) |
| NS | 1000000758 | Kit – EZTLD Wrapper/Serv Label – Stainless (L) |
| NS | 1000000759 | Kit – EZTLD Wrapper/Serv Label – Light Grey (L) |
| NS | 36004C | Jumper Wire |
| NS | 28025C | Wrapper – Filler |
| NS | 1000004789 | Bracket – Power Inlet |
| 30 | 40319C | Orifice Assembly |
| NS | 1100000002 | Compressor Service Kit |
| 31 | 2000000621 | EMI Filter with Harness |

NS = NOT SHOWN
*Includes Relay & Overload. If under Warranty, replace with same Compressor used in original assembly.
NOTE: All correspondence pertaining to any of the above water cooler or orders for repair parts MUST include Model number and Serial number of cooler, name and part number of replacement part.
Replacement Parts: Bottle Filler Parts List
| ITEM NO. | PART NO. | DESCRIPTION |
| NS | 98631C | Kit – Electrical Package-230V |
| NS | 98544C | Kit – IR Sensor |
| NS | 1000004574 | Kit – BF Solenoid Valve Replacement-230V |
| NS | 98546C | Kit – Aerator Replacement |
| 32 | 98547C | Kit – Top Cover Replacement |
| NS | 98549C | Kit – Hardware & Waterway Parts |
| NS | 98551C | Kit – Filter Mounting Cover |
| NS | 98552C | Kit – Retro Filter Mounting |
| NS | 1000001813 | Kit – Tower/Basin Gasket |
For Replacement Parts, contact your local distributor or call 1.800.834.4816
Elkay Manufacturing Co. 1333 Butterfield Road Suite 200 Downers Grove, IL 60515 U.S.A – 630.574.8484
2000000555 (Rev. B – 06/22)



















